Westek Wifi Enabled Multi-Color Puck Lights
PIP-RGB-WIFI INSTRUCTION
Thank you for your purchase of these WiFi-enabled multi-color plug in puck lights. These lights feature both adjustable white control as well as multi-color control, all controllable with the Westek WiFiSmart app or integrated wave-sensor for touchless control. Or, pair these lights with Google Assistant or Alexa for voice control. Featuring up to 300 lumens of light output per light in an ultra-slim, mount-anywhere design, these lights are perfect for under cabinet task lighting or accent lighting in cabinets, closets, and more!
Includes
3 puck lights, 3 white trim rings, 3 bronze trim rings, 3 black trim rings, 1 wave sensor and power supply.
Optional Accessories
Expand up to 6 pucks total with add-on puck PIP-RGB-A (sold separately).
Installation
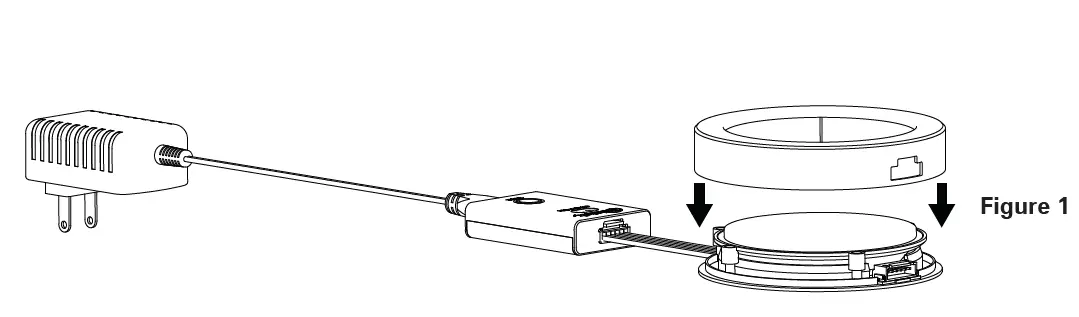
- These puck lights offer convenient, tool-free installation using the included 3M-brand self-adhesive tape. Prior to installing your light, select your desired trim ring color – white, black or bronze. The trim ring can be snapped onto the light by aligning the wiring cutouts on the ring to the wires on the puck and using gentle pressure to snap the trim ring into place, as shown in Figure 1.

- Thoroughly clean all surfaces to which you will install your puck lights. Do not apply to drywall or other delicate surfaces; the adhesive may remove paint, drywall or mar other delicate surfaces upon removal.
- Peel off one side of the release liner on the 3M adhesive and attach the adhesive disk to your puck light. Repeat for each puck light and for the wave on/off sensor (make sure the adhesive pad for the wave sensor is installed on the BACK side of the sensor, not blocking the IR/wave sensor.
- Connect the transformer’s cable to the IR/Wave sensor. Plug the first puck into the wave sensor, the second puck into the first puck, and the third puck in to the second puck, as shown in Figure 2.
Up to a total of six pucks can be connected to one power supply. To avoid permanent damage to your puck lights, never connect more than six pucks to a single power supply. Do not conceal the cord inside walls, ceilings, soffit, kitchen cabinets, or other similar permanent structures. Do not run the power cord through holes in walls, ceilings, or floors. - Plug the transformer into a 120V power outlet.

GETTING STARTED
- Read these instructions in their entirety before using this product.
- Do not mount this product over a stove or sink.
WARNING
- This light may present a possible shock or fire hazard if not properly installed. Products should be installed per these instructions, and in accordance with all local and national electrical codes.
Operation
Your puck lights can be controlled either by the wave-sensor or by WiFi. To operate the puck lights from the wave sensor, wave your hand past the sensor at a distance of approximately 2 inches from the sensor. A single wave turns the power on or off. Pausing your hand in front of the sensor activates continuous dimming. To adjust the color, press the action button on the wave sensor with your finger. The available color temperature options are 2700K, 3000K, 3500K, 4000K, 5000K, red, green, blue, purple, orange, and smooth rainbow fade.
Specifications
| Product SKU | Description | Size | Color Temperature | Lumens | Wattage | Linking |
| PIP-RGB-WIFI | 3 Pack | 4”L x 4”W x 0.7”H | RGB + 2700K, 3000K, 3500K, 4000K, 5000K | 300lm per puck | 3.5W per puck | Up to 6 pucks |
| PIP-RGB-A | Single Add-On | 4”L x 4”W x 0.7”H | RGB + 2700K, 3000K, 3500K, 4000K, 5000K | 300lm per puck | 3.5W per puck | Up to 6 pucks |
WiFi Setup and Operation
These puck lights feature integrated WiFi and can be operated from the Westek WiFiSmart app, or programmed to work with Alexa or Google Assistant for voice control. To setup WiFi: Westek App
- Download the Westek app from the App Store or Google Play.
- Confirm the lights are in pairing mode. If the lights are alternately fading from dim to bright, proceed to step 3. If not, press and hold the action button for 5 seconds until they begin to fade. Fading dim to bright white indicates they are in pairing mode.
- Enable your phone’s Bluetooth. Bluetooth is used to pair to the device to transfer your WiFi information, greatly simplifying the new device setup process.
- Pair to your desired 2.4GHz wireless network. These puck lights are not compatible with 5GHz networks.
- Open the Westek app and tap the “+” icon in the top right corner. Tap “Auto-Scan” to detect your lights. Tap on your lights, and the app will walk you through the rest of the setup process.
- Alexa or Google Assistant setup can be completed in the Alexa and Google Assistant apps.
WiFi Pairing
Ensure you are connected to the same WiFi network as your device. When ready, click “Auto Scan” to start scanning for your new device. Select the Westek Puck Light from the list (it may appear as PIP-RGB-WIFI).
WiFi Operation
Power on your lights by tapping the POWER button in the lower left corner of the screen. On the main page, you can select from Color (RGB) or Adjustable White mode. Color mode allows any color to be selected, while white mode allows white adjustment from 2700K (Warm white) to 5000K (cool white). To adjust the color or color temperature, select the appropriate mode by tapping COLOR or WHITE to enable the desired mode, then use one finger on the slider wheel on the right to choose your desired color or color temperature. In either mode, overall brightness of the light can be selected by dragging the slider from 1% to 100% or anywhere in between.
Scenes
On the SCENES page, you can choose from pre-programmed lighting scenes, or you can create your own custom scenes for quick access to your favorite colors or color temperatures and brightness levels Custom scenes are ideal for use with timers; you can program the desired scene, then call it from a timer. For example, you can use timers with custom scenes to:
- Wake up to a dim glow
- Make the light brighter in the afternoon
- Make a dim warm white night light before bed
- Keep a dim red light at night to use as an overnight night light.

On the schedule page, you can program specific on/off times for your lights. You can set a tag (your personal identifier for that operation), decide if you want to receive a push notification from the app when the schedule is enabled, and you can choose your preset action (turn on, turn off, turn on and dim, or set scene). Note, the schedule page runs off of the 24-Hour time format (00:00 to 23:59).
Sleep Timer
On the sleep timer page, you can set your lights to remain on for a fixed amount of time, then power off. The power will remain off when set by sleep timer until the next schedule event turns it back on, or until you turn it on manually.
Menu Bar
FCC Warning
This device complies with Part 15 of the FCC Rules. Operation is subject to the following two conditions: (1) This device may not cause harmful interference, and (2) this device must accept any interference received, including interference that may cause undesired operation.
NOTE 1: This equipment has been tested and found to comply with the limits for a Class B digital device, pursuant to part 15 of the FCC Rules. These limits are designed to provide reasonable protection against harmful interference in a residential installation. This equipment generates uses and can radiate radio frequency energy and, if not installed and used in accordance with the instructions, may cause harmful interference to radio communications. However, there is no guarantee that interference will not occur in a particular installation. If this equipment does cause harmful interference to radio or television reception, which can be determined by turning the equipment off and on, the user is encouraged to try to correct the interference by one or more of the following measures:
- Reorient or relocate the receiving antenna.
- Increase the separation between the equipment and receiver.
- Connect the equipment into an outlet on a circuit different from that to which the receiver is connected.
- Consult the dealer or an experienced radio/TV technician for help.
NOTE 2: Any changes or modifications to this unit not expressly approved by the party responsible for compliance could void the user’s authority to operate the equipment..
Warning: Do not disassemble or modify this light. Modification voids the manufacturer’s warranty and any applicable regulatory certifications this light may possess.
Limited Warranty
Under normal use and conditions, AmerTac provides to the original purchaser of this product a one-year limited express warranty that is set forth in the Limited Warranty stated in full at www.amertac.com/warranties. The Limited Warranty is in lieu of all other express or implied warranties or liabilities subject to the exceptions explained fully in the Limited Warranty on the website.



Up to a total of six pucks can be connected to one power supply. To avoid permanent damage to your puck lights, never connect more than six pucks to a single power supply. Do not conceal the cord inside walls, ceilings, soffit, kitchen cabinets, or other similar permanent structures. Do not run the power cord through holes in walls, ceilings, or floors.




















