PATPET A12 Anti Bark Dog Collar

Thanks for purchasing!
The A 12 No Bark Collar is designed to let dogs live safely, happily and get along with people more harmoniously.
WARNING
Do not use with aggressive dogs.
Aggressive dogs can cause severe injury and even death to their owner and others. If you are unsure whether this product is appropriate for your dog, please consult your veterinarian or certified trainer.
CAUTION
Safety during on-leash training.
It is vitally important that you and your dog remain safe while
anti-barking training. Your dog should be on a strong leash, long enough for him to attempt to chase an object, but short enough for him not to reach a road or other unsafe area. You must also be physically strong enough to restrain your dog when he tries to chase.
CAUTION
Risk of skin damage.
- Please read and follow the instructions in this manual.
- Proper fit of the collar is important.
- A collar worn for too long or made too tight on the pet’s neck may cause skin damage ranging from redness to pressure ulcers. This condition is commonly known as bed sores.
- Avoid leaving the collar on the dog for more than 12 hours per day.
- If possible please change the collar position on the dog’s neck every 1 to 2 hours.
- Never connect a lead to the electronic collar, it will cause excessive pressure on the contacts.
- If rash or sore found, stop using the collar until the skin heals.
- If the condition persists beyond 48 hours, see your veterinarian.
- This product is not a toy, please keep away from children.
- This product is only applied for healthy dog.
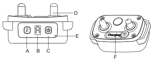
Overview

- A . Setting Button
- B . Display Screen
- C . On/Off Button (Sensitive adjust)
- D . Contact Points
- E. Sensor
- F . Charging Port (with rubber cover)

Setting Up the Product
Before using the collar, you must set up the collar by following steps:
- Charge the collar.
- Prepare the collar.
- Test the function before pulling it on your dog.
Charging to the Collar
- For the first charger, make sure to charge it for 4 hours. Subsequent charging only take 2-3 hours.
- The screen will display” C “while charging, and flash every 4 seconds. When fully charged, the screen will display”F”.
- Please replace the rubber cover when the collar is full charged.
Tips:
- Excessive charging will shorten battery life. Only charge them when batteries are low.
- When you’re not using the collar, please turn it off to increase the battery life.
Note:
- Please use the Output: DC 5V 500-B00mA charger to charge the product.
- Don’t use a charger that does not meet the specifications to charge the product.
Prepare the Collar
Turn on the Collar
- Press the
button and the screen turns on. - The screen will display the last user-set level by default.
- Turn off the Collar
Press and hold the
button until the screen turns off. (This takes about 3 seonds ). - Adjustable Collar
Please refer to the steps to set up and adjust the collar.
Function Test
We recommend that you perform a functional test before using the A 12 collar.
- Long press the setting button for 3 seconds to enter the test mode, the screen display ”
” flashes. - Place the test light on the contact points and shout “WO, WO” to the sensor. The collar will emit sound, vibration and shock at the same time, and the test light will be on, indicating the function is normal.
- Long press the setting button for 3 seconds or 60 seconds without operation, the test mode will be exited.

Automatic Mode
- The first bark detected–vibrate once
- The second bark detected—beep & shock{level 2) once
- 2s later, the third bark is detected–beep & shock(level 3) once
- 2s later, the fourth bark is detected—beep & shock{level 4) once
- 2s later, the fifth bark is detected–beep & shock(level 5) once
- 2s later, the 6th bark is detected—beep & shock(level 5) once
- If there are no more than 6 barks within 30s, the timer will end. Then repeat the above operation.
- If the 7th bark is detected within 30s, it will stop working for 30 seconds then continue to work, repeat the above operation.
Vibration Mode
- If there are no more than 6 barks within 30s, the timer will end.
- If the 7th bark is detected within 30s, it will stop working for 30 seconds then continue to work.
Beep Mode
- If there are no more than 6 barks within 30s, the timer will end.
- If the 7th bark is detected within 30s, it will stop working for 30 seconds then continue to work.
Shock Mode
- The first bark detected—vibrate once, and start timing at the same time.
- The second bark detected–shock(level setting) once
- The third bark detected—shock(level setting) once
- 2s later, the fourth bark is detected—shock(level setting) once
- And so on
- If there are no more than 6 barks within 30s, the timer will end. Then repeat the above operation.
- If the 7th bark is detected within 30s, it will stop working for 30 seconds then continue to work, repeat the above operation.
Collar Fitting
Please fit the collar properly to avoid over tight for the dog. When properly fitted, you could put a finger between the collar and the dog’s neck.
- Too loose:
The collar will move around the dog’s neck, thus the shock stimulation cannot work effectively. - Too tight:
It may cause the dog to have difficulty breathing.
Caution:- 1. Do not shave the hair off the dog’s neck as this may increase the risk of skin irritation.
2. The collar should not be worn for more than 12 hours per day. Or it may cause skin irritation.
- 1. Do not shave the hair off the dog’s neck as this may increase the risk of skin irritation.
Device Information
Product Specifications

The unit need to be charged under any of below situations
- The screen keeps flashing” L”.
- The screen does not display anything.
Frequently Asked Questions

| How old does my pet have to be before using Collar? |
Dogs should be at least 6 months old before using the Collar. |
| Once my pet is trained and do not bark no long, will he have to continue to wear the Collar? |
Don’t need to wear it every time, if necessary, sometimes you need to strengthen the results when wearing it. |
| Does the collar beep/ Shock to my pet all the time if he do not stop barking? | No, if the Collar can’t stop your dog’s bark within 30 seconds, the unit will stop working for 30 seconds. The Collar is not intended for the punishment but for the reinforcement of behavior modification of pets. |
| Is the Collar waterproof? | Can withstand rain, but can not be soaked in water. |
Troubleshooting Guide
| My dog keep barking, the collar seems not working. | Make sure the Collar has been turned on. The collar may be low battery, recharge it. Collar’s Contact Points are too loose or placed snugly against your dog’s skin. Refer to “Collar Fitting” for more information. |
| The Collar will not turn on. | Make sure the Collar has been charged. For the initial charge, be sure to charge it for 4 hours. Subsequent charges only take 2-3 hours. |
| The collar is not holding a charge. | When the collar is charging, the screen will display” [ “. If not, check the power and charging cables. |
|
Product Warranty | Any product problems, contact us by email [email protected]; or call 1-855-888-9922. The customer service team will help you solve the problem ASAP. |
Warranty and Repair Information
1-Year Warranty
The original purchaser for this unit is provided with a 1-YEAR WARRANTY.
The warranty begins on the date of purchase, For the first year, coverage is provided for both parts and labor on warranty repair services. After the first year, the Limited Lifetime Warranty covers parts only, and does not cover labor fees and Accessories,
Accessories such as straps and batteries are covered for the first year only. All shipping fees incurred, the cost of accessories after the first year, and labor fees associated with out of warranty repair work are the customers responsibility.
Not Covered Under Warranty
We DO NOT offer warranty for products that have been bought secondhand or were resold. Issues of replacement and refunds on units purchased less than 30 days from an authorized dealer must be addressed to the dealer directly. If the products purchased from an authorized dealer are after 30 days from the date of purchase, please send the units to us for service and repair. We DO NOT cover the cost of repairs and replacements due to misuse by the owner or dog, improper maintenance, and/or lost units.
The warranty is void if the unit has been altered or an unauthorized person has damaged the unit while attempting repair work.
Procedure for Repair Work
If the unit is malfunctioning, please refer to the “Troubleshooting Guide” in the manual before sending it back for service.A copy of the sales receipt showing the purchase date may be required before warranty work is initiated. Please include a brief explanation outlining the problem, and include your name, address,city/state/zip code, daytime phone number, evening phone number, and email address.
Compliance FCC – USA
This device complies with part 15 of the FCC Rules. Operation is subject to the following two conditions:
- This device may not cause harmful interference.
- This device must accept any interference received, including interference that may cause undesired operation.
CAUTION: Modification or changes to this equipment not expressly approved by the manufacturer may void the user’s authority to operate the equipment.
FCC

https://patpet.com/
Become a dealer: [email protected]
After-service: [email protected]
@PatpetDogCollar
Youtube ideo Guide























