PATPET Dog Training Collar A11

Thanks for purchasing!
The A 11 No Bark Collar is designed to let dogs live safely, happily and get along with people more harmoniously.
Safety Instructions
Do not use with aggressive dogs.
Aggressive dog’s can cause severe injury and even death to their owner and others. If you are unsure whether this product is appropriate for your dog, please consult your veterinarian or certified trainer.
Safety during on-leash training.
It is vitally important that you and your dog remain safe while learning during on-leash training. Your dog should be on a strong leash, long enough for him to attempt to chase an object, but short enough for him not to reach a road or other unsafe area.
You must also be physically strong enough to restrain your dog when he tries to chase.
Risk of skin damage.
Please read and follow the instructions in this manual. Proper fit of the collar is important. A collar worn for too long or made too tight on the pet’s neck may cause skin damage ranging from redness to pressure ulcers. This condition is commonly known as bed sores.
- Avoid leaving the collar on the dog for more than 12 hours per day.
- When possible reposition the collar on the pet’s neck every 1 to 2 hours.
- Never connect a lead to the electronic collar; it will cause excessive pressure on the contacts.
- If a rash or sore is found, discontinue use of the collar until the skin has healed.
- If the condition persists beyond 48 hours, see your veterinarian.
- This product is not a toy, please keep away from children.
- This product is only for use with healthy dog.
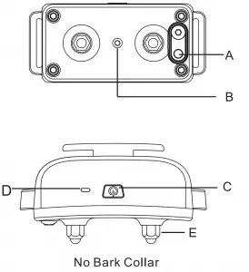
Overview

A. Charging Port (with cover)
B. Sensor
C. On/Off Button
D. LED Indicator
E. Contact Points
Setting Up the Product
Before you can use the No Bark Collar, you must set up the product as below steps:
- Charging the No Bark Collar.
- Turn on the No Bark Collar and Test the Function of the unit.
- Turn off the collar and Install Contact Points, and assembly collar.
- Fit the collar on dog, then turn it on.
Charging the A11 No Bark Collar
- Plug in and fully charge the No Bark Collar. This may take 2-3 hours.
- When full charged, the red LED on the Collar will become green.
- Please compress the charging slot rubber cover after full charged.
Tips:
- Excessive charging will shorten battery life. Only charge the collar when battery is low.
- When you’re not using the collar, please turn it off to increase the battery life.

Note:
Charge with the power adapter(output DC 5V/800 mA), other specifications of the power adapter may cause damage to the product.
Prepare the No Bark Collar
- Take out the two Contact Points from the accessories, insert them into the ports of the collar, rotate clockwise to tighten them (1A).
- Or you can install the metal foil into the ports of the collar with the two Contact Points(1B). This way may be more comfortable for dog than 1A.
Note: Not install the Metal Contact Points when shock function is not be used.
Assembly Collar
- Unhitch the nylon belt and take off the Slide Buckle (2A).
- Thread the strap through the A11 No Bark Collar (2B).
- Thread the slide buckle through the strap (2C).
- Thread the strap through the side release buckle (2D).
- Thread the excess strap through the slide buckle to make sure the collar is secured tightly (2E).



Turn on the A 11 No Bark Collar
- Press the On/Off Button till the Green LED light comes on.
- The Green LED will flash every 4 seconds, indicating the No Bark Collar is on and ready to detect the dog’s bark.
Turn off the No Bark Collar
- Press and hold the On/Off Button till the Red LED light flash and shuts off (This takes approximately 3 seconds).
- Release the On/Off Button.
NOTE: To extend the life of the batteries, please turn the Collar off when it is not in use.
Function Test
We recommend you have a function test before use theA11 No Bark Collar.
- Connecting the charge cable between A11 No Bark Collar and DC 5V power supply, the red LED will light.
- Press and hold the ON/Off button till the red LED and green LED flick alternately.
- Slightly click the A 11 No Bark Collar, it will beep.
- Connecting the Test Light Tool to the two contact points of A 11 and Speaking “We We… ” close to the sensor B of A11 No Bark Collar, the unit will shock and the light of Test Light Tool will light.
- Without operating for1 minute or press the On/Off button 3 seconds, the unit will quit the function test mode.

Collar Fitting
Please fit the collar properly so that the Contact Points press firmly against the dog’s skin. When properly fitted, you should be able to put a finger in between the Collar and dog’s neck.
Too loose: the Collar will move around the dog’s neck, the Contact Points may hurt the dog’s skin.
Too tight: it may cause dog’s to breathe hard.
Caution:
- Before collar fitting, please turn off it. Make sure the collar is properly fitted, then turn on the NO Bark Collar. Do not shave the pet’s neck as this may increase the risk of skin irritation.
- The collar should not be worn for more than 12 hours per day. Or it may cause skin irritation.
Device Information
Product Specification
| Battery Type | Rechargeable, lithium polymer battery |
| Battery Life (typical use) | 5 days |
| Waterproof Rainproof | IEC 60529 IPX5, rain proof |
| Operating temperature | From 0-40 °C (from 32-104 °F) |
The unit need to be charged under any of below situations
- The indicator light on theA11 No Bark Collar is emitting a red color every 4 seconds or flashes rapidly.
- The indicator light on the Collar will not come on.
- The indicator light on the Collar comes on momentarily when Buttons is pressed.
NOTE: A11 is an intelligent No bark collar. It can match an appropriate level of electric shock according to the loudness and frequency of pet’s bark to stop pet’s bark automatically. If the unit can’t stop your pet’s bark within 80 seconds, it will stop working for one minute, to protect your pet.
Others
Frequently Asked Questions
| Is the beep/Shock safe for my pet? | While the beep/Shock is unpleasant, it is harmless to your pet. Electronic training devices require interaction and training from the owner to achieve desired results. |
| How old does my pet have to be before using Collar? | Pets should be at least 6 months old before using the Training Collar. |
| Once my pet is trained and do not bark no long, will he have to continue to wear the Collar? | Probably not. You may need to reinforce training with the Collar from time to time. |
| Does the collar beep/ Shock to my pet all the time if he Do not stop barking? | No. If the A11 No Bark Collar cannot stop your pet ‘s bark within 80 seconds, the unit will stop working for 1 minute. The No Bark Collar is not intended for the punishment but for the reinforcement of behavior modification of pets. |
Troubleshooting Guide
| My dog keeps barking. The collar seems to does not work. |
|
| The Collar will not turn on. |
|
| The collar is not holding a charge. |
|
Warranty and repair information
1-Year Limited Lifetime Warranty
The original purchaser for this unit is provided with 1-YEAR WARRANTY. The warranty begins from the date of purchase. For the first year, coverage is for both Parts and Labor on warranty repair services.
Accessories such as straps and batteries are covered for the first year only. After the first year, the Limited Lifetime Warranty covers Parts only and does not cover Labor Fees and Accessories. All shipping fees incurred, the cost of Accessories after the first year, and Labor fees associated with out of warranty repair work, are the customer’s responsibility. Labor fees will be variable depending on the extent of the work required. The Limited Lifetime Warranty expires 5 years after a model is discontinued from production.
To Qualify for the Warranty
All products must provided a proof of purchase is required to initiate repair work under warranty. We strongly recommend keeping the original receipt. If a proof of purchase is not available at the time of service, we will estimate the age of unit by the serial number. Serial number estimates can differ from the actual purchase date. A serial number estimate is the only method of determining an approximate date of purchase without a proof of purchase.
Not Covered Under Warranty
We DO NOT offer warranty for products that have been bought secondhand or as a resold product. We DO NOT replace defective units or provide refunds for products purchased from us after 30 days from the date of purchase. Issues of replacement and refunds on units purchased less than 30 days from an authorized dealer must be addressed to the dealer directly. If the products purchased from an authorized dealer are after 30 days from the date of purchase, please send the units to us for service and repair. We DO NOT cover the cost of repairs and replacements due to misuse by the owner or dog, improper maintenance, and/ or lost units. Any water damage on our product series will not be covered. All replacement costs for our product will be the owner’s responsibility. The warranty is void if the unit has been altered or an unauthorized person has damaged the unit while attempting repair work. We reserve the right to retain and discard any parts or accessories that have been found damaged upon replacement and repair.
Procedure for Repair Work
If the unit is malfunctioning, please refer to the “Troubleshooting Guide” in the user’s manual before sending it back for Service. The cost of shipping products under warranty back is the customer’s responsibility. We are not responsible for units damaged or lost in transition. We are not responsible for loss of training time or inconvenience while the unit is in for repair work. We do not provide loaner units or any form of compensation during the repair period. A copy of the sales receipt showing the purchase date may be required before warranty work is initialed. Please include a brief explanation outlining the problem and include your name, address, city/state/zip code, daytime phone number, evening phone number, and email address.
Compliance
FCC-USA
This device complies with part 15 of the FCC Rules. Operation is subject to the following two conditions:
(1) This device may not cause harmful interference.
(2) This device must accept any interference received, including interference that may cause undesired operation.
CAUTION: Modification or dismantling to this equipment not expressly approved by Manufacture may void the user’s authority to operate the equipment.
Note: This equipment has been tested and found to comply with the limits for a Class B digital device, pursuant to part 15 of the FCC Rules. These limits are designed to provide reasonable protection against harmful interference in a residential installation.
This equipment generates uses and can radiate radio frequency energy and, if not installed and used in accordance with the instructions, may cause harmful interference to radio communications. However, there is no guarantee that interference will not occur in a particular installation. If this equipment does cause harmful interference to radio or television reception, which can be determined by turning the equipment off and on, the user is encouraged to try to correct the interference by one or more of the following measures:
– Reorient or relocate the receiving antenna.
– Increase the separation between the equipment and receiver.
– Connect the equipment into an outlet on a circuit different from that to which the receiver is connected.
– Consult the dealer or an experienced radio/TV technician for help.
Shenzhen Patpet Technology Co.,Ltd
![]() | https://patpet.com/ |
| Become a dealer: [email protected] | |
| After-service: [email protected] | |
![]() | @PatpetDogCollar |
![]() | YouTube Video Guide |

MADE IN CHINA



























