
Saga
Installation manual
1: The light source contained in this luminaire shall only be replaced by the manufacturer or his service agent.
2: If the external flexible cable or cord of this luminaire is damaged, it shall be exclusively replaced by the manufacturer or his service agent or similar qualified person in order to avoid hazard.
3: For models with dimmable LED drivers,
– Reinforced insulation was maintained between LV circuit and output circuit.
– Supplementary insulation was maintained between output circuit and DALI circuit (FELV).
– Basic insulation was maintained between LV circuit and DALI circuit (FELV).
4: Luminaires not suitable to be covered with thermally insulating material.
5: Saga in DALI version must be installed by qualified electrician in accordance with local rules and codes.
This product contains a light source of energy efficiency class C.

Cord pendant mounting without junction box.
| VERSION | C:C MIN. | C:C MAX. |
| Saga 1200 | 830 | 1160 |
| Saga 1500 | 1130 | 1460 |
1: Determinate the distance of two pendant mounting points (according to need) and position of input cord mounting, then drill out.

2: Attach steel part A using the supplied plastic plug and screw into the pre-drilled hole.

- Steel Part A
3: Connect steel part A with steel part B.

- Steel Part B
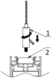
4: Screw the threader into the hanger.

- threader
- hanger
5: Adjust the wire lengths as needed and ensure that the fixture is horizontally aligned.

6: Connect the input line according to the picture below. If plug not needed, cut the cord and finish the installation. The warranty is still valid.



DALI Pull Dim, On/Off
Aura Light AB, Sweden
Phone customer service +46 (0)20 32 30 30
[email protected], www.auralight.com
2023-03-02 I-194
















