CL2075 Berzelia Street Light
Berzelia Street CL 2075
Installation manual
TECHNICAL FEATURES | |
Voltage | 220-240V~ |
Frequence | 50/60Hz |
Insulation Class | Class I/Class II |
Weight (kg) | 5,0 |
ta | 50 °C |
Power Factor | >0,95 |
Projection Area | 0,13 m2 |
Glass | Tempered Glass |
SERIES/MODEL | LED | P MAX (W) | SUPPLY CURRENT (A) | CLASS I | CLASS II |
Berzelia Street CL2075 | 32 | 33 | 0,15 | X | X |
48 | 0,22 | X | X | ||
72 | 0,33 | X | X | ||
82 | 0,37 | X | X | ||
100 | 0,45 | X | X | ||
110 | 0,50 | X | X | ||
150 | 0,68 | X | _ |
1: Suitable for use outdoor.
2: If the external flexible cable or cord of this luminaire is damaged, it will be exclusively replaced by the manufacturer or his service agent avoid a hazard.
3: Terminal block not included. Installation must be performed by a qualified person.
4: The light source contained in this luminaire shall only be replaced by the manufacturer or his service agent or a similar qualified person.
5: Recommended pole height is between 4-8 meters due to the wattages and only to be installed outside arms reach.

Aura Light AB, Sweden
Phone customer service +46 (0)20 32 30 30
[email protected], www.auralight.com
Note: Only original spare parts should be used in maintenance.
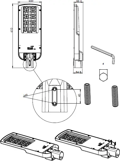
6: By the help of adjustable mounting module luminaire could be fixed both from side and
postup entries with 16 different angles.
7: 10 nm force should be applied to the bolt of the mounting module for closing.
For pole mounting; two stainless steel allen key (4 size) or bolt keys (13 size) should be used.
8: Luminaire should be fixed to the pole or console with size 4 key.

9: Luminaire has easy connect system for the electricity connection.
CLASS I | ||
Brown | Blue | Green/Yellow |
Line | Neutral | Earth |

CLASS II | |
Brown | Blue |
Line | Neutral |

Replaceable LED light source by a professional or manufacturer.

Replaceable control gear by a professional.
Aura Light AB, Sweden
Phone customer service +46 (0)20 32 30 30
[email protected], www.auralight.com


Aura Light AB, Sweden
Phone customer service +46 (0)20 32 30 30
[email protected], www.auralight.com
Installation manual















