FANAWAY 212982 Evora Retracting Blade Ceiling Fan

CAUTION: READ INSTRUCTIONS CAREFULLY FOR SAFE INSTALLATION AND FAN OPERATION.
THANK YOU FOR PURCHASING
Thank you for purchasing this quality Fanaway product. To ensure correct function and safety, please read all instructions before using the product and keep the instructions for future reference.
SAFETY PRECAUTIONS
- In Europe: This appliance can be used by children aged 8 years and above and persons with reduced physical, sensory or mental capabilities or lack of experience and knowledge if they have been given supervision or instruction concerning the use of the appliance in a safe way and understand the hazards involved. Cleaning and maintenance shall not be undertaken by children without supervision.
- In Australia: The appliance is not intended for use by persons (including children) with reduced physical, sensory or mental capabilities, or lack of experience and knowledge unless they have been given supervision or instruction concerning the use of the appliance by a person responsible for their safety.
- Children should be supervised to ensure that they do not play with the appliance.
- An all-pole disconnection switch must be incorporated into the fixed wiring, in accordance with local wiring rules.
IN AUSTRALIA
WARNING: FOR SAFE USE OF THIS FAN AN ALL-POLE DISCONNECTION MUST BE INCORPORATED INTO THE FIXED WIRING IN ACCORDANCE WITH THE WIRING RULES.
As outlined in clause 7.12.2 of AS/NZS 60335 1 for meeting the minimum electrical safety of this standard. Please note warranty will be void if installation is without a means for an all-pole disconnection incorporated in the fixed wiring in accordance with the wiring rules.
Example: If a fan is connected to a circuit that can be isolated via an all pole safety switch at the switchboard, then this is considered to be an all pole disconnection to the ceiling fan electrical circuit,meeting the requirements of clause 7.12.2 of A S/NZS 60335.1. A single pole switch on the active of the receiver input of the remote control must also be included in the wiring, and located the same room as the ceiling fan.
- Do not dispose of electrical appliances as unsorted municipal waste, use separate collection facilities. Contact your local government for information regarding the collection systems available. If electrical appliances are disposed of in landfills or dumps, hazardous substances can leak into the ground water and get into the food chain, damaging your health and well being.
- The structure to which the fan is to be mounted must be capable of supporting a weight of 3 0 kg.
- The fan should be mounted so t hat the blades are at least 2.3 m above the floor in Europe or 2. 1 m above the floor in Australia.
- This fan is designed for indoor use only. Mounting the fan in a location where it is subject to water or moisture is dangerous and will void the warranty.
- Only a licensed electrician should execute the installation.
BEFORE INSTALLATION
Unpack the fan and carefully identify the parts. Please refer to Fig 1.


- Mounting bracket x1
- Canopy screws x 4
- Canopy x 1
- Down rod x 1
- Bolt& pin cover x 1
- Bolt x 1
- Pin x 1
- Top housing x 1
- Blades x 4
- Retraction mechanism x 1
- Lamp base x 1
- Cover x 1
- Screws for cover x 3
- Lampshade x 1
- Wood screws x 2
- Wall switch x 1 set
INSTALLING THE MOUNTING BRACKET
- The ceiling fan must be installed in a location so that the blades are a minimum 300mm spacing from the tip of the blade to the nearest objects or walls.
- Secure the hanging bracket to the ceiling joist or structure that is capable of carrying a load of at least 3 0 kg , with the two long screws provided. Ensure at least 30mm of the screw is threaded into the support.

NOTE
- THIS PICTURE IS FOR REPRESENTATION ONLY AND DOES NOT REPRESENT THE ACTUAL BRACKET.
- The bracket screws provided are for use with wooden structure s only. For structures other than wood, the appropriate screw type MUST be used.
Angled Ceiling Installation

- This fan hanging system supports a maximum 15 degree angled ceiling installation.
INSTALLING THE FAN
Installing the down rod

- Feed the down rod 5 through the canopy ( 4 ) and the coupling cover ( 6 ).
- Remove the ball joint by loosening the set screw (3 )), insert the plug (1) and the motor wires (2 ) through the down rod then secure the ball joint back to the down rod.
- Insert the down rod to the coupling 7 ), line up the coupling holes with the down rod holes, and insert the bolt ( 8 ). Then insert the pin ( 9 ) to the end of the bolt.
- Finally, secure the down rod and coupling by tightening the two set screws (10 on the coupling.
HANGING THE FAN

Lift the fan assembly onto the mounting bracket. Ensure the registration slot (A) of the hanger ball is positioned on the stopper (B) of the mounting bracket (C) to prevent the fan from rotating when in operation. (Fig.5)
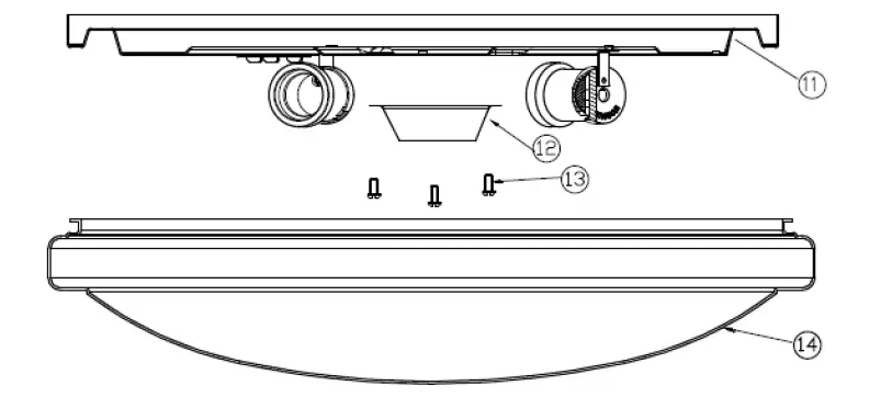
LIGHT KIT INSTALLATION

- Remove the lamp shade ( from the lamp base ( by turning it anti-clockwise.
- Loosen the screw (1) from the base bracket (3). Align the two slot screws (2) with the keyhole s lots of the lamp base (4).
- Turn the lamp base counterclockwise until the slot screws are firmly at the end of the slots.
- Secure screw 1 back to the base bracket. Tighten all three screws. Do not over-tighten.
- Connect the upper plug (9 ) from the fan to the lower plug (9 from the lamp base together.
- Secure the wire protective cover (7) to the lamp base by tightening the screws (8).
- Install the globes (Not included) to the lamp holders (6)
- Finally, install the lamp shade (5) to the l am p base by turning it clockwise.
ELECTRICAL WIRING DIAGRAM
WARNING: FOR YOUR SAFETY ALL ELECTRICAL CONNECTIONS MUST BE UNDERTAKEN BY A LICENS ED ELECTRICIAN
NOTE: AN ADDITIONAL ALL POLE DISCONNECTION SWITCH MUST BE INCLUDED IN THE FIXED WIRING.
USE WITH WALL SWITCH WIRING DIAGRAM

USE WITH REMOTE WIRING DIAGRAM: (REMOTE sold separately)
- Remote without plugs

- Remote with plugs

FINISHING THE INSTALLATION

- After completing the electrical connection at the mounting bracket terminal block, connect the ceiling fan wiring via the quick connector plug.
- Cover the mounting bracket with the canopy. Ensure all electrical wiring is tucked inside the canopy and that the wires are not damaged during this step. Secure the canopy to the hanger bracket using the screws provided.
USING YOUR CEILING FAN
FAN WALL CONTROL

Turn on the power and check the operation of the fan.
- OFF Position – Fan off
- 3rd Position – Low fan speed
- 2nd Position – Medium fan speed
- 1st Position – High fan speed
REVERSE FUNCTION
- Your ceiling fan can operate either in fan mode or reverse fan mode.
SUMMER Mode: The reverse switch should be in the “Left ” (SUMMER) position to rotate the fan in an anticlockwise direction. The airflow will be directed downwards, for cooling in summer.
WINTER Mode: The reverse switch should be in the “Right ” (WINTER) position to rotate the fan in a clockwise direction. The airflow will be directed upwards assis ting in the circulation of warm air, for energy conservation in winter.
The reverse switch is located in the top of the motor housing. Slide the switch to the LEFT for summer weather operation. Slide the switch to the RIGHT for winter weather operation.

AFTER INSTALLATION
WOBBLE
NOTE
- Ceiling fans tend to move during operation due to the fact that they are mounted on a rubber grommet. If the fan was mounted rigidly to the ceiling it would cause excessive vibration. Movement of a few centimeters is quite acceptable and DOES NOT suggest any problem.
- TO REDUCE THE FAN WOBBLE: Please check that all screws which fix the mounting bracket and down rod are secure.
- This fan has been precision balanced at the factory and will not need to be balanced again.
NOISE
When it is quiet (especially at night) you may hear occasional small noises. Slight power fluctuations and frequency signals superimposed in the electricity for off-peak hot water control may cause a change in fan motor noise. This is normal. Please allow a 24-hour “breaking-in” period, most noises associated with a new fan disappear during this time. Please note that this is not a product fault and as such is not covered under warranty – All electric motors are audible to some extent.
CARE AND CLEANING
- Periodic cleaning of your ceiling fan is the only maintenance required. Use a soft brush or lint free cloth to avoid scratching the paint finish. Please turn power off when you do so.
- Do not immerse your ceiling fan in the water. It could damage the motor or the blades and create the possibility of an electrical shock.
- Ensure that the fitting does not come in contact with any organic solvents or cleaners.
- To clean the fan blade, wipe with only a damp clean cloth with NO organic solvents or cleaners.
- The motor has a permanently lubricated ball bearing so there is no need to oil.
NOTE: Always turn off the power at the mains switch before attempting to clean your fan.
TECHNICAL INFORMATION
| FAN models | Rated Voltage | Rated power (motor) | Rated power for light |
| 36” FANS | 220-240VAC | 55W | E27, Max. 2 X 20W energy saving globes |
Warranty
THIS WARRANTY IS VALID IN AUSTRALIA ONLY
Note: Please complete the following details when you have unpacked the product and retain this card with the purchase invoice or sales docket.
Warranty
These products are covered by a Warranty in addition to all rights available to you by statute. The Warranty is for a period of twenty-four ( 24 months from the date of purchase, subject to the following conditions. Fanaway undertakes, at its option, to repair or replace, free of charge, each product or part thereof subject to the following conditions. The conditions abovementioned are:
- That the purchaser carefully follows all instructions provided and complies with electrical wiring regulations;
- That the purchaser carefully follows the installation instructions provided in the owner’s handbook relating to the proper use and care of the product and does not use the product for any purpose other than the domestic use for which it has been designed;
- That the product was purchased and is installed in Australia;
- 4. That this Warranty does not extend to:
- Optional light diffusers
- Light globes
- Damage to plastic light dome caused by inappropriate cleaning
- Damage to surface coatings caused by cleaning or maintenance using inappropriate cleaning products
- Defects caused by normal wear and tear, accident, negligence, alteration or misuse;
- A product dismantled, repaired or serviced by any serviceman other than a n authorized employee or agent of Fanaway
- Product installed by an unqualified person. Must be a qualified electrician in Australia
- Damage or defects caused by fans being installed externally. (FANS ARE DESIGNED FOR INDOOR USE ONLY).
- The provisions of this warranty do NOT apply to other Ceiling Fans.
- The provision of service under this Warranty is limited by the boundary of the nearest service agent’s area. Traveling cost incurred for the service outside this area is not covered by this warranty and will incur commercial cost to be paid by the customer regulated by the number of kilometers traveled beyond the service area.
- The cost associated with the hire of extension ladders and scaffolding to service fans installed on ceilings greater than 3 meters will not be covered by this warranty. Such costs will be borne by the customer.
In the event of a service being required, please call the Lucci Warranty Service Hotline acting as the service agent for Fanaway on 1800 602 243 between 9 AM and 5 PM (E.S.T) Monday to Friday. Ensure you have the following details on hand If you are unable to establish the date of purchase, or the fault is not covered by this Warranty, or if the product is found to be in working order, you will be required to bear all service call charges.
- PRODUCT TYPE: ………………………………………………
- MODEL NUMBER: ……………………………………………..
- SERIAL NUMBER: ……………………………………………..
- DATE OF PURCHASE:
- INVOICES/SALES DOCKET NO: …………………………
- PURCHASER’S NAME: ………………………………………
- PURCHASER’S ADDRESS: ………………………………..
- RETAILER’S/DEALER’S NAME:
- RETAILER’S/DEALER’S ADDRESS: ……………………
- INSTALLED BY: …………………………………………
- LICENCE NUMBER OF INSTALLER: …………………
- PHONE NUBER OF INSTALLER: ……………………..
- DESCRIPTION OF FAULT: …………………………….
Our goods come with guarantees that cannot be excluded under the Australian Consumer Law. You are entitled to a replacement or refund for a major failure and compensation for any other reasonably foreseeable loss or damage. You are also entitled to have the goods repaired or replaced if the goods fail to be of acceptable quality and the failure does not amount to a major failure.
CONTACTS
Contact Lucci Warranty Service Hotline acting as the service agent for Fanaway on 1800 602 243 between 9 AM and 5 PM (E.S.T) Monday to Friday, or go to
Website: www.fanaway.com for more information.
Distributed by: Beacon Lighting 140 Fulton Drive Derrimut, Victoria, 302 6
Australia
- Ph: +613 9368 1000
- Fax: +613 9360 9332
- Email: [email protected]


















