Retractable Ceiling Fan
Installation & Troubleshooting Manual
badt1304_2 Retractable Ceiling Fan
CAUTION
READ INSTRUCTIONS CAREFULLY FOR SAFE INSTALLATION AND FAN OPERATION
SAFTY RULES
- To reduce the risk of electric shock, turn off the electricity to the fan at the main fuse box or circuit panel before beginning.
- All wiring must be in accordance with the local electrical codes or National Electrical Code. Electrical installation should be performed by a qualified licensed electrician.
- To avoid personal injury, the use of gloves may be necessary while handling fan parts with sharp edges.
- Make sure the installation site you choose allows clear space for the blades to rotate and at least seven 7 feet (2.13 meters) of clearance between the floor and the fan blade tips. The fan should be mounted so that the tips of the blades are at least thirty 18 inches (45.72 centimeters) from walls or other upright structures.
- WARNING: To reduce the risk of fire, electric shock, or personal injury, mount fan only to an outlet box marked acceptable for fan support and use mounting screws provided with the outlet box. Most outlet boxes commonly used for the support of lighting fixtures are not acceptable for fan support and may need to be replaced. Consult a qualified electrician if in doubt.
- The outlet box and ceiling support structure must be securely mounted and capable of supporting at least 45 KGs.
- To avoid personal injury or damage to the fan and other items, be cautious when working around or cleaning the fan.
- Do not use water or detergents when cleaning the fan or fan blades. A dry dust cloth or lightly dampened cloth will be suitable for most cleaning.
- After making electrical connections, spliced conductors should be turned upward and pushed carefully up into the outlet box. The wires should be spread apart with the grounded conductor and the equipment-grounding conductor on one side of the outlet box.
- Electrical diagrams are for reference only.
- The fan is suitable for indoor use only.
TOOLS REQUIRED
BEFORE INSTALLATION
Unpack your fan and check the contents. You should have followings:
- Mounting Bracket X 1
- Canopy Screws X 2
- Canopy X 1
- Downrod & Hanger Ball X 1
- Lock Pin X 1
- Hitch Pin X 1
- Coupling Cover X 1
- Fan Motor X 1
- Fan Blades
- Light & Driver X 1
- Lamp Shade X 1
- Remote Receiver X 1
- Remote Controller X 1
- Screw & “J” hook X 1
- Safety Cable X 1
- Wood Screws X 4
- Expansion Screws X 2
INSTALL THE FAN
Tools Required: Phillips Screwdriver, Pair of Pliers, Straight slot screwdriver, Adjustable Wrench, Step Ladder and Wire Cutters.
INSTALL THE MOUNTING BRACKET
To prevent personal injury and damage, ensure that the hanging location allows the blade a clearanceof 7 feet (2.13 meters) from the floor and 18 inches (45.72 centimeters) from any wall or obstruction.
If there isn’t an existing CUL listed mounting box, then read the following instructions:
- For the concrete ceiling: Mark the location for the ceiling fan first, then drill two holes in the ceiling to aid in securing ceiling bracket with two expansion screws provided, and secure the mounting bracket to the building structure with two expansion screws provided, tighten the screws. (Fig.1)

- For the Wood Ceiling: Mark the location for the ceiling fan first, secure the mounting bracket to the building structure with four wood screws provided. (Fig.2)

- Refer to the Fig.3 for mounting when the ceiling is angled max.15 degree angle.
NOTE: Hanger after the installation must be able to withstand the weight of 45 kgs or more
INSTALL THE DOWNROD
REMEMBER to turn off the power. Follow the steps below to hang your fan properly:
- Remove the lock pink and hitch pin from downrod
- Place downrod assembly into canopy and coupling cover, carefully feed motor wires through the downrod assembly
- Loosen the two set screws in downrod coupling
- Insert downrod into downrod coupling. Install coupling lock pin through coupling and downrod. Insert hitch pin into cross pin until it snaps into place. Tighten set screws in coupling. Slide coupling cover over the downrod coupling.
CHANGE DOWNROD (OPT)
The Bella Depot Ceiling Fan comes with one 5 inches standard downrod which is preassembled and attached to the hanger ball, one longer 10 inches downrod is also included for higher ceilings.
If you need a different downrod length, please follow these steps:
- Loosen the hanger ball from downrod by removing set screw.
- Slide downrod ball off of downrod and remove pin
- Re-install pin into extended downrod, and slide downrod ball up to the top of the downrod 4. Re-install set screw to secure ball to downrod

Securing the safety cable
A safety support cable is provided to help prevent the ceiling fan from falling, please install it as follows: 1. Attach the provided screw to the ceiling joist next to the mounting bracket and install the “J” hook. 2. While the fan assembly is still on the ground, thread the safety cable through the mounting bracket.
MOUNTING
- Carefully lift motor assembly and place hanger ball onto hanger bracket. Rotate fan until notch on downrod ball engages the ridge on the mounting bracket. Rod should not rotate if this is done correctly.
- Adjust the length of the safety cableattach the safety cable from fan unit to “J” hook, Secure by looping zip tie through safety cable and “J” hook. Tighten zip tie securely.

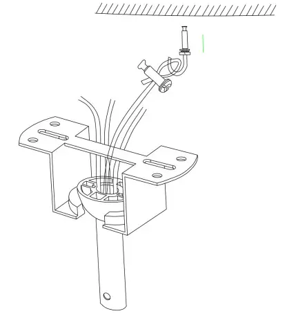
WIRING WITH REMOTE RECEIVER
Make wiring connections from the house and the motor to the remote receiver as shown right. Connect using wire nuts (provided).
Once wiring step has been completed, slide the wired remote receiver in between the mounting bracket and the top of the downrod ball.
SECURE THE CANOPY
Raise the canopy up and align the keyholes on the bottom of the canopy with the 2 screws on the bottom of mounting bracket. Rotate the canopy until both screws from the mounting bracket drop into the slot recesses. Tighten screws securely.
INSTALL THE LIGHT KIT
- Make wiring connections. Please refer to the figure right for the electric connection between fan motor and light kit.
- The LED Light Kit contains the magnet, attach them. onto the bottom of the fan motor (motor base plate).
INSTALL DECORATIVE SHADE
Put the shade into the light plate and twist it tight. Ensure the shade is tightening firmly, the shade will drop off and broken not installed properly. 
INSTALL WALL SWITCHES (OPTIONAL)
BEFORE:
- This is LED ceiling fan, it can’t be gradually dimmed, DO NOT use any Dimmer Switch for this.
- Install & Control the ceiling fan via remote OR wall switch, Please DO NOT install both of them since the wiring is complex depend on the different switch you use, and it may interfere with the remote/receiver signal and the fan/light fixture will not work properly.
Connections:
Black supply on the fan is connected to the Switched Live Supply No. 1, Blue supply is connected to the Switched Live supply no. 2
Note: This type of installation requires two switched lines so a three core + earth’ cable is required. White supply is connected to the Neutral supply. Green/yellow earth lead is connected to the Earth supply (Green/Yellow)
Operations:
The light and fan are controlled by the wall switch. Two switches are used here.Do not connect the motor supply cable to a dimmer switch.
CCT Dimmable Light Operation
If your ceiling fan is CCT dimmable light, it has 3 light tones, please turn off the light then turn it on again, the light tone will change.
TROUBLESHOOTING GUIDE
If you have difficulty operating your new ceiling fan, it may be the result of incorrect assembly, installation, or wiring. In some cases, these installation errors may be mistaken for defects. If you experience any faults, please check this Trouble Shooting guide. If a problem cannot be remedied, please consult with your authorized electrician and please feel free to contact us:
*** Please contact us and we will help you check and get the problem resolved, you don’t have to uninstall and send it back. ***
Before:
- This is LED ceiling fan, DO NOT install any dimmer switch for this.
- Install the Remote OR Wall Switch, DO NOT install both of them.
- Check circuit fuses or breakers and make sure the battery is installed correctly.
- Check line wire connections to the fan and switch wire connections in the switch housing.
CAUTION: Make sure main power is off.
Problem: Light does not work
Solution:
- Check to see that the wire connections in the switch housing are connected.
- Make wiring connections from the house to the LED light directly (don’t connect the remote and the fan) to determine it’s the issue of the LED light or not.
Problem: Fan will not start.
Solution:
- Check line wire connections to the fan and switch wire connections in the switch housing.
CAUTION: Make sure main power is off. - Make the Fan wiring connections Without the Remote & transmitter and the light, to determine it’s the issue of the fan body or not.
a) Please don’t wire the light at the bottom
b) Connect the Ceiling Fan Neutral Wire (White) to the Neutral Wire (White) coming through the ceiling
c) Connect the Ceiling Fan Live Wire (Black) to the Live wire (Black or Colored) coming through the ceiling
Then turn on the main power, check the fan works separately or not.
Problem: Fan & Light do not work / Remote control malfunction
Solution: Test the Fan and LED Lights — Without the Remote & transmitter In most cases, the ceiling fan & light don t work because of the wrong programming of the Remote Control, please try to connect the wiring without the Remote & transmitter:
Turn off the main power:
a) Connect the wiring at the bottom for the LED Light
b) Connect the Ceiling Fan Neutral Wire (White) to the Neutral Wire (White) coming through the ceiling
c) Connect the Ceiling Fan Live Wire (Black AND Blue wire) to the Live wire (Black or Colored) coming through the ceiling
Then turn on the main power, if the ceiling fan and the light works, it’s the issues of the remote & transmitter issues. 



NOTE: Hanger after the installation must be able to withstand the weight of 45 kgs or more














