Revolo WFV01 WiFi Smart Video Lock User Guide
Setup
- Download the Revolo app to setup

- Follow the instructions and replace your existing lock.

- Scan the QR code on you device.

- Calibrate your lock and you are done.

WHAT’S INCLUDED

PRODUCT OVERVIEW

DEFINATION
Lock-Out
If you fail to unlock the door for 5 consecutive times using the PIN Key, your Lock will be shut-down for 3 Mins.
One Touch Locking
Press and hold Any key on keypad for 2 Seconds to lock the door.
Multi-function Button
Push and HOLD the Multi-function button on inside panel for 3 Seconds to active Privacy Mode. This will disable all user PIN code access and APP control. Privacy Mode will be disable automatically after unlock the device with the Thumb Turn or Mechanical Key.
Reset Button
Push and HOLD the Reset Button for 5 seconds to reset your device. After reset operation, the lock will be restored to factory default settings, all user credentials will be deleted.
Battery Indicator
The Red LED will flash 3 times slowly if the battery level is lower than 20%. Please replace the batteries as soon an possible.
Type-C Port
Insert a Type-C cable into the Type-C port and use a portable battery(5V 2A) to power the Smart Lock. If your device’s batteries are completely ran out
DOWNLOAD REVOLO APP
Download the Revolo APP from the APP store or Google Play.




Sign up for a Revolo account , and add the Smart Lock to device list.
Remove the battery cover and scan the QR code on the back of the device to view the Smart Lock installation guide and setup instruction.
PREPARE DOOR FOR INSTALLATION
- Make sure that the following criteria are met so that the Smart Lock can be installed properly:
- Check the door status. Make sure the doorframe is aligned with the door.
- There are no obstructions stuck in the doorframe.
- Leave enough space for the deadbolt to extend into the doorframe when the door is locked.

- Check your door / frame dimensions to make sure that they fit the following measurements:
- The cross bore diameter 2⅛” (54 mm) or 1½” (38 mm)
- Backset 2⅜” (60 mm) or 2¾” (70 mm)
- Diameter of the door hole 1” (25 mm)
- Door thickness 1⅜” (35 mm) – 2” (50 mm)

INSTALLING THE LATCH AND STRIKE
STEP 1
To install the deadbolt:
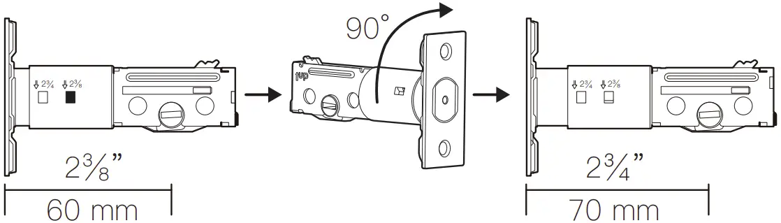
- Measure your door’s backset dimension: whether it is 2¾”(70 mm) or 2⅜” (60 mm) .
- If your door’s backset dimension is 2⅜” (60 mm), use the provided deadbolt to install.
If your door’s backset is 2¾” (70 mm). Rotate and pull the latch as shown the extend latch.
The bolt must be in retracted(Unlocked) position when you are changing backset.
- Insert the deadbolt into the doorframe and make sure the word “UP” faces up as indicated on the deadbolt.
- Screw into the doorframe with a screwdriver (not provided).



Use a flathead screwdriver to remove rectangular face from latch and install driver-in collar. - Install strike on the door frame.
IMPORTANT:
Make sure hole in door frame is drilled a minimum of 1” (25mm) deep
INSTALLING EXTERIOR ASSEMBLY
STEP 2
IMPORTANT:
Before installation, make sure the latch is fully retracted (in the unlocked position).
To install the exterior assembly:
- Measure your cross bore dimension and determine the installation steps accordingly.

- If the diameter of your cross bore is 2⅛”(54mm), install directly.
- If you have a 1½”(38mm) cross bore, remove the spacer.
Route the cable connected on the exterior assembly under the deadbolt. Align the tailpiece with center hole of the deadbolt, and insert it into the center hole.
INSTALLING THE MOUNTING PLATE
STEP 3
- Send the cable and the RF cable through the bottom slot in the mounting plate.

- Secure the mounting plate with the supplied screws.

INSTALLING INTERIOR ASSEMBLY
STEP 4
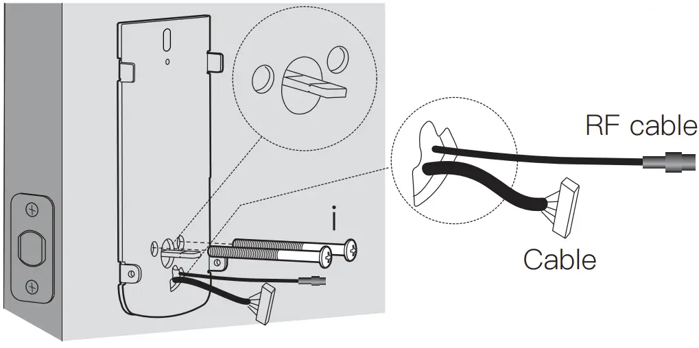
- Press the battery cover button and remove from the slotted position.

- Connect the cable and RF cable to the corresponding port.
Note: Connect the cable first.
- Rotate the thumb turn in vertical position, then push the cable and RF cable back to the hole of mounting plate and install the interior assembly.

- To avoid stocking the cable and the RF cable, secure the interior assembly with supplied screws.

- Test the thumb turn manually for smooth rotation. If thumb turn doesn’t rotate, make sure the thumb turn in vertical position.

- Insert the Li-battery into the battery case matching the battery connector.

- Scan the QR code to pair your device with your phone. Close battery cover.

PAIR YOUR PHONE WITH SMART LOCK AND SET UP YOUR SMART LOCK VIA APP
STEP 5
Note: The lock will not lock automatically before the setting is completed. To avoid being locked outside, pair your phone with the Smart Lock and set an access code unlocking the door.
To pair your phone with Smart Lock.
- Scan the QR code on the back of the Smart Lock to get the information of the Smart Lock. Follow the on screen instructions to complete the setup.
Note:
- The first user that is paired is the only administrator, and can authorize other users to use the lock.
- Reset the device locally by press and HOLD the reset button for 5 seconds will not unpair the device from the administrator’s APP.
- The administrator will not be able to setup and operate the device with Revolo App anymore after reset locally. Moreover the administrator has to unbind the Lock via Revolo App, so that the Lock can be paired or binded by other users.
INSTALLING DOOR SENSOR
STEP 6
For optimal performance, Door Sensor should be mounted within 1” from the edge of your door, and within 1” from the top of the interior assembly.
Surface Mount
- Determine mounting location.
- Stick the mounting tape to the door sensor.
- Stick it on door frame.
- Calibrate your Lock.
FCC Statement
This equipment has been tested and found to comply with the limits for a Class B digital device, pursuant to part 15 of the FCC Rules. These limits are designed to provide reasonable protection against harmful interference in a residential installation. This equipment generates, uses and can radiate radio frequency energy and, if not installed and used in accordance with the instructions, may cause harmful interference to radio communications. However, there is no guarantee that interference will not occur in a particular installation. If this equipment does cause harmful interference to radio or television reception, which can be determined by turning the equipment off and on, the user is encouraged to try to correct the interference by one or more of the following measures:
- Reorient or relocate the receiving antenna.
- Increase the separation between the equipment and receiver.
- Connect the equipment into an outlet on a circuit different from that to which the receiver is connected.
- Consult the dealer or an experienced radio/TV technician for help.
CC Radiation Exposure Statement
This device complies with FCC radiation exposure limits set forth for an uncontrolled environment. This equipment must be installed and operated in accordance with provided instructions and the antenna(s) used for this transmitter must be installed to provide a separation distance of at least 20 cm from all persons.
This device complies with Part 15 of the FCC Rules. Operation is subject to the following two conditions:
- This device may not cause harmful interference, and
- This device must accept any interference received, including interference that may cause undesired operation.
Caution!
Any changes or modifications not expressly approved by the party responsible for compliance could void the user’s authority to operate the equipment.
Canada Statement
This device contains licence-exempt transmitter(s)/receiver(s) that comply with Innovation, Science and Economic Development Canada’s licence-exempt RSS(s). Operation is subject to the following two conditions:
- This device may not cause interference.
- This device must accept any interference, including interference that may cause undesired operation of the device.
The device meets the exemption from the routine evaluation limits in section 2.5 of RSS 102 and compliance with RSS-102 RF exposure, users can obtain Canadian information on RF exposure and compliance.
This transmitter must not be co-located or operating in conjunction with any other antenna or transmitter. This equipment should be installed and operated with a minimum distance of 20 centimeters between the radiator and your body.
Warnings
Failure to follow the below instructions could result in damage to the product and void the factory warranty.
The accuracy of the door preparation is critical to allow proper functioning and security of this Revolo Product. Misalignment of the door prep and lock can cause performance degradation and hinder the security functions of the lock.
Finish Care: This lockset is designed to provide the highest standard of product quality and performance. Care should be taken to ensure a long-lasting finish. When cleaning is required use a soft, damp cloth. Using lacquer thinner, caustic soaps, abrasive cleaners or polishes could damage the coating and result in tarnishing.







































