Wyze Labs WLCKB1 Smart Lock

IN THE BOX
Keypad Assembiy

Interior Assembly

Mounting Plate


- Fingerprint Scanner
- Keypad
- Battery Indicator
- USB-C Charging Port
- Battery Cover
- Thumb Latch
- Pairing Button
- Battery
Compartment - Mounting Plate
- Deadbolt
- Strike Plate
- Dust Box
- AA Battery x4
- Deadbolt Screws (M4*25) x 2
Strike Screws (M4*25) x 2
Mounting Plate Screw x 1 - Interior Assembly Screws (M4*38) x2
- Mounting Plate Screws (M4 8) x 2
- Template
To avoid any injuries, be careful when installing the product.
You are responsible for knowing local building codes and where it is appropriate to install the lock.
WELCOME TO WYZE
Hi! Thanks for getting your hands on a Wyze Lock Bolt. If this is your first Wyze product, welcome to the Wyze family!
This guide will help you get things set up.
In the app, you can also follow these steps and watch the video tutorial.
For an easier installation, we recommend having a helping hand nearby.
SETUP
- Download the Wyze app and sign in or create an account.

Apple logo and App Store are trademarks of Apple Inc., registered in the
U.S. and other countries and regions. Google Assistant, Google Home,
Google Play, and the Google Play logo are trademarks of Google LLC. - In the Wyze app, tap the + plus sign, then Add Device> Home> Wyze Lock Bolt.
Follow the in-app installation and setup instructions to complete Wyze Lock Bolt setup.
OVERVIEW
Here’s a look at the installation steps you’ll
go through in this guide:
- Step 1: Remove the existing lock
- Step 2: Install the Dust Box and Strike Plate
- Step 3: Install the Deadbolt and Strike Plate
- Step 4: Install the Keypad Assembly
- Step 5: Install the Mounting Plate
- Step 6: Install the Interior Assembly

INSTALLATION GUIDE
- Prepare the door for installation.
Remove the existing lock and check your door.
If your door has holes like the one below, please skip step 2 (page 7). You can also use a measuring tape to check the lengths.
- If needed, drill the following holes on your door (standard US doors are usually already compatible).
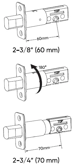
Step A: Determine Backset
- The backset is the distance from the door edge to the center of the hole on the door face.
- The adjustable latch fits both backsets of 2-3/8″ (60 mm) and 2-3/4″ (70 mm).
Step B: Use Template to Mark the Door
Select the desired height and backset on the door face. Use the template to mark the center of the circle on the door face and the center of the door edge.
Step C: Drill Holes
Use your marks as a guide to drill| a2-1/8″ (54 mm) hole through the door face. For the latch, drill a 1″ (25.4 mm) hole through door face’s edge.
- Determine if the latch needs to be adjusted

- Determine if the latch needs to be adjusted to the 2-3/4″ (70 mm) backset.
- Measure the backset using the instructions on the previous page. If it is 2-3/4″ (70 mm), you will need to adjust/extend the latch.
- To adjust, twist the latch until it stops.
- Reverse the direction to return to the 2-3/8″ (60 mm) backset.
- Install the Deadbolt and Dust Box
A. Install the deadbolt using the screws provided (labeled “14”). Ensure the hub of the latch is centered with the hole on the door face.
B. Optional: Install the dust box and strike plate using the screws provided (labeled “14”).
- Install the Keypad Assembly
Install the keypad assembly by inserting the the two prongs through the corresponding holes on the latch.
Pass the cable on the keypad assembly (labeled below) under the deadbolt latch and through the door.
- Install the Mounting Plate
A. Separate the mounting plate from the interior assembly. Route the cable through the mounting plate hole as shown. Then install the mounting plate on the indoor-facing side of the door.
B. Using the screws provided (labeled “14” & “16”), tighten the mounting plate and ensure the mounting plate and keypad assembly are aligned properly.
Tip: Have a friend hold the keypad assembly against the door so it doesn’t move around during this step.
You can also use a flashlight to make sure the screws (labeled “16) are aligned with the corresponding holes on the keypad assembly.
C. If the plate or assembly is lopsided, loosen the screws, adjust the position as needed, then re-tighten the screws.
- DInstal the Interior Assembly
A. Remove the battery cover from the interior assembly.
You should see a sticker at the bottom of the battery cover. Place your thumb there to pop it out. You may remove the sticker when done.
B. Connect the cable wire into the back of the interior assembly. The side with a mark on it faces up. You Can also check if the red/orange wires are on the right.
IMPORTANT!
Make sure the connector is properly plugged in.

C. Wrap the excess part of the cable over the tailpiece.
Ensure the cable is fully inside, then insert the interior assembly by aligning the tailpiece through the center hole as shown.
D. Rotate the thumb latch to make sure the latch retracts normally.
Using the screws provided (labeled “15”), install the interior assembly to the mounting plate.

CHECK THE INSTALLATION
- Insert the batteries provided. Don’t put on the cover yet. Well do that once setup is done in the app!
- Check if the interior assembly is secure and aligned properly.
- Check if the keypad assembly is secure and aligned properly.

STATUS LIGHT GUIDE
Flashing white light
The lock is ready to connect
Solid red light
The lock failed to lock or unlock
Solid white light
The lock successfully locked or unlocked
Solid red low-battery light (labeled “3” in In The Box)
The lock has low battery
TROUBLESHOOTING
- How do reboot or reset the device?
To reboot Wyze Lock Bolt, remove one of the batteries, then place it back in. To reset the device, delete the device under Lock Bolt > Settings. - Why didn’t it beep after I pressed and held the Pairing button?
Check if the cable is connected properly to the interior assembly. Make sure that the batteries have a charge and are installed correctly. If that doesn’t work, contact support for a replacement. - Why didn’t the keypad scan my fingerprint?
Ensure the surface of the fingerprint scanner and your fingertip are free of debris, water, excessive oil, or other substances. Coarse or dry skin can dlso reduce readability.
CAUTION
- Do not attempt to remove, repair, modify, or perform maintenance on any part of Vwyze Lock Boit except to change the batteries.
- Use only new batteries and do not mix different types of batteries.
- Do not install or operate Wyze Lock Bolt where the temperature is hotter than 122°F (50°C) or store
Wyze Lock Bolt where the temperature is hotter than 158°F (70°C). - Do not install or operate Wyze Lock Bolt at altitudes higher than 5000 m.
This device complies with Part 15 of the FCC Rules.
Operation is subject to the following two conditions:
- This device may not cause harmful interference, and
- This device must accept any interference received, including interference that may cause undesired operation.
Federal Communication Commission Interference Statement
This device complies with Part 15 of the FCC Rules.
Operation is subject to the following to conditions: (1)
This device may not cause harmful interference, and (2) this device must accept any interference received, including interference that may cause undesire operation.
This equipment has been tested and found to comply with the limits for a Class B digital device, pursuant to Part 15 of the FCC Rules. These limits are designed to provide reasonable protection against harmful inter ference in a residential installation. This equipment generates, uses and can radiate radio frequency energy and, if not installed and used in accordance with the instructions, may cause harmful interference to radio communications. However, there is no guarantee that interference will not occur in a particular installa- tion. If this equipment does cause harmful interference to radio or television reception. which can be determined by turning the equipment off and on, the user is encouraged to try to correct the interference by one of the following measures:
- Reorient or relocate the receiving antenna.
- Increase the separation between the equipment and receiver.
- Connect the equipment into an outlet on a circuit different from that to which the receiver is conneced.
- Consult the dealer or an experienced radio/TV technician for help.
FCC Caution:
Any changes or modifications not expressly approved by the party responsible for compliance could void the user’s authority to operate this equipment.
FOR MOBILE DEVICE USAGE (+20cm/low power)
Radiation Exposure Statement:
This equipment complies with FCC radiation exposure limits set forth for an uncontrolled environment. This equipment should be installed and operated with minimum distance 20cm between the radiator and your body.
Industry Canada statement
This device complies with Industry Canada license- exempt RSS standard(s). Operation is subject to the following two conditions:
- This device may not cause interference, and
- This device must accept any interference, including interference that may cause undesired operation of the device.
SPECIFICATIONS
- Product Name: Wyze Lock Bolt
- Model: WLCKB1
- Operating Voltage: 6V
- Weather Resistance: IPX5
- Bluetooth: BLE 5.0
- FCC ID: 2AUIUWLCKB1
- IC ID: 25466-WLCKB1
WARRANTY
Your Wyze product is covered by a one-year limited warranty. You can view the limited warranty terms at https://wyze.com/return-warranty-policy or request a copy by contacting Wyze at +1 (206) 339-9646.
Contact our Support Team:
https://wyze.com/support
Join the Community:
https://wyze.com/community
Wyze Labs, Inc. | www.wyze.com
Built in partnership with Lockin






Use your marks as a guide to drill| a2-1/8″ (54 mm) hole through the door face. For the latch, drill a 1″ (25.4 mm) hole through door face’s edge.


























