TURBOLOCK TL111WM Wi-Fi Smart Lock

Product Information
The Turbolock Plus Wi-Fi Bridge is a device that enables users to connect their Turbolock Plus smart lock to their Wi-Fi network, giving them remote access and control of their lock through the Turbolock Plus app. The device has an indicator light that flashes blue and purple when ready to connect, solid purple when successfully connected, and flashing red and purple when there is a connection issue. The device has a range of 30ft or 10m and requires an internet connection to function properly.
Product Usage Instructions
- Plug in the Wi-Fi Bridge and wait for the indicator light to flash blue and purple.
- Open the Turbolock Plus app and tap “Add New Lock”. Choose “Wi-Fi Bridge” from the list and enter your Wi-Fi ID and password to complete the setup.
- Tap the Wi-Fi Bridge icon from the lock list and then tap “Add Sub Device” to pair with the TL111WM smart lock.
- If the pairing process fails, repeat steps A-D.
- After the TL111WM is successfully added, the lock indicator will flash green and beep. Go back to the lock list page and the TL111WM icon will appear and be ready for use.
- To reset the lock, follow either Option 1 or Option 2 in the user manual.
- If there are any issues with the Wi-Fi Bridge, refer to the Troubleshooting section in the user manual for possible solutions.
General Precautions and Troubleshooting
Refer to the user manual for complete usage of the Turbolock Plus app and for more information on troubleshooting. Here are some general precautions and troubleshooting steps:
General Precautions
- If you cannot open the door, your access may have been restricted. Wait 5 minutes and try again or use the physical key to open the lock directly.
- If the lock jams or the door does not close, check if the latch size is correct or if the strike plate and latch are correctly aligned.
- If the lock does not work, check if the batteries are dead and replace them as soon as possible after receiving the low battery warning.
- If you forget your passcode, perform a reset and record the passwords in a secure location.
Troubleshooting
| Indicator Color | Status | Problem | Solution(s) |
|---|---|---|---|
| Flashing Blue and Purple | Bridge is ready to connect to Wi-Fi router. | Wi-Fi Bridge Offline | Check internet connection. |
| Solid Purple | Bridge is successfully connected to Wi-Fi router. | Wi-Fi Bridge response time slow or timeout | Replace smartlock batteries. |
| Flashing Red and Purple | Bridge is ready to connect to smartlock. | Wi-Fi Bridge fail to connect to smartlock. | Check internet connection. |
| Solid Blue | Bridge is offline. | Check internet connection. | Check if the Wi-Fi Bridge is properly connected to the Wi-Fi network. |
Required Tools
PARTS OVERVIEW
- A. Outside Knob
- B. Inside Knob
- C. Battery Compartment
- D. Back Plate
- E. Back Plate Cover
- F. Latch Assembly
- G. Wood Screws
- H. Inside Screws
- I. Mounting Screws
DISASSEMBLE LOCK BEFORE INSTALLATION
You only need to loosen the inside screws. Do not fully detach them. The middle inside screw will recede into the fixture when loosened.
- Loosen the inside screw (counterclockwise) on the bottom of the inside doorknob and remove the housing.

- Gently straighten the power cable (do not pull).

- Loosen the inside screw (counterclockwise) and gently remove battery compartment without pulling or breaking the power cable.

- Loosen the inside screw (counterclockwise) on the bottom of the back plate cover and remove it.

- Unscrew the back plate and remove it. Do not pull on the power cable.

- Remove the latch assembly. It is now ready for installation.

PREPARE THE DOOR AND MEASURE DIMENSIONS
If drilling a new door, use the provided template, mark the locations for the centers of the backset and the latch hole. Refer to user manual online for complete door drilling instruction.
- Make sure that the hole in the door is either 2-1/8” (54 mm).

- Make sure that the backset is either 2-3/8” (60 mm) or 2-3/4” (70 mm).

- Make sure that the hole in the door edge is 1” (25 mm).

- Make sure that the door is between 1-3/8” (35 mm) or 2” (51 mm) thick.

ADJUST THE BACKSET
ADJUST THE BACKSET IF NEEDED
- Hold the latch in front of the door hole, with the latch face flush against the door edge.

- If the square hole in the latch is centered in the door hole, no adjustment is required. If the square hole is NOT centered, adjust latch. See “Latch Adjustment” (step 3C)

- Latch Adjustment (only if needed): Hold the front of the latch and the square opening from both sides, pull or push to extend or retract the latch end as needed.

INSTALLING THE LATCH & STRIKE
This section details installation steps needed if you are installing the TL111WM on a door with a single cutout already made. Replacing an older fixture with a newer one is known as a retrofit. If your door has never had a lock or doorknob installed or otherwise has no cutout, please go to N1.
RETROFIT
- R1
If the door edge is chiseled.
- R2
Check the latch’s bolt and make sure the rounded side faces in.
- R3
Use the two wood screws and a screwdriver to secure them.
- R4
Position the strike and box strike . Use two wood screws and use a screwdriver to secure them.
NEW DOOR
N1
If the new door edge is not chiseled.

N2
Insert the latch into the hole. Using a pencil, mark a line around edge of latch plate to use as a guide.

N3
Chisel about 3mm (0.1”) deep or until latch plate sits fiush with door edge. Skip to step R2 to finish installation.

N4
If the new door edge is chiseled.

N5
Check the latch’s bolt and make sure the rounded side faces in.

N6
Use the two wood screws and a screwdriver to secure them.

N7
Position the strike and box strike . Use two wood screws and use a screwdriver to secure them.

INSTALL EXTERIOR KEYPAD
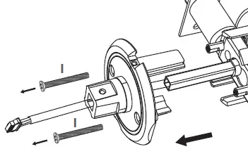
- Gently feed the power cable and tail piece through the square hole in latch. Thread the two pegs through the smaller round holes.

- Align the back plate on the back of the door, making sure the slot is facing upward. Carefully feed the power cable through the center hole of the back plate. Tighten the 2x mounting screws to fasten the back plate to the door. Make sure both screws are tightened.

- Feed the power cable through the back plate cover, and cover it on the back plate part, then use the hex key to tighten the inside screw (clockwise) at the bottom of back plate cover.

INSTALL INTERIOR ASSEMBLY
- Feed the power cable through the battery compartment and make sure the side with inside screw is downward.

- Gently pull out the power cable connectors and snap them together. Once connected, gently collect the two cables back into the battery compartment.

- Install 4x AAA batteries into battery compartment. Cover the inside knob over battery compartment and make sure the side with inside screw is downward. Use the hex key to tighten the inside screw (clockwise) to complete the installation.

DELETE PASSCODE
Anyone with the keypad passcode can unlock the TL111WM until the keypad passcode is deleted.
- Press ‘#’ on the keypad, and enter the current admin passcode. Then press ‘#’ again.

- The TL111WM will beep 3 times. Enter ‘3’ then press ‘#’ before the keypad backlight turns off.

- Before the keypad backlight turns off, enter the keypad passcode you wish to delete (ex.1234), then press ‘#’ .

- After another 3 beeps, the keypad backlight will turn off and the passcode will be deleted.

- Press ‘#’ on the keypad, and enter the current admin passcode. Then press ‘#’ again.

- The TL111WM will beep 3 times. Enter ‘4’ then press ‘#’ before the keypad turns off.

- After another 3 beeps, the keypad will turn off and all passcodes will be deleted.

- Test all previous keypad passcodes. They should now be unusable, except admin password.

FUNCTIONS
THE PASSIVE FUNCTION
- USE WITH CAUTION. With this function active, the TL111WM can open the door without requiring a password. Remember to turn off the function when it is no longer needed. Do not leave this function on for extended periods of time.
- For more information about how to use active passive function, download the user manual on the TL-111WM page at www.turbolock.com.
THE MUTE FUNCTION
- USE WITH CAUTION. Remember to turn off the function when it is no longer needed. Do not leave this function on for extended periods of time. Mute mode will disable all notifications, excluding the low-battery warning.
- For more information about how to use mute passive function, download the user manual on the TL-111WM page at www.turbolock.com.
SET UP WI-FI BRIDGE TO SMARTLOCK
- Download and install Turbolock Plus app.
- To get the best Bluetooth signal, it’s recommended that you place the Wi-Fi Bridge and Turbolock within a distance of 30 ft / 10 m.
- If the power indicator is not flashing, press and hold the power button for ~6s to enter pairing mode.
- Only compatible with 2.4 GHz networks
Plug in the Wi-Fi Bridge. The power indicator will be flashing blue and purple and ready to pair with Turbolock Plus app.

Tap Add New Lock and choose Wi-Fi Bridge from the list. Enter your Wi-Fi ID and Password to finish the set up.

Tap the Wi-Fi Bridge icon from the Lock List.

Tap the Add Sub Device icon to pair with the TL111WM.

After the TL111WM is successfully added, the Lock indicator will flash green and beep. Exit the window by tapping the “X”. Repeat A to D If it fails.

Go back to the Lock List page and TL111WM icon will appear and ready for use.

TROUBLESHOOTING
TROUBLESHOOTING WI-FI BRIDGE
| Indicator Color | Status |
| Flashing Blue and Purple | Bridge is ready to connect to Wi-Fi router. |
| Solid Purple | Bridge is successfully connected to Wi-Fi router. |
| Flashing Red and Purple | Bridge is ready to connect to smartlock |
| Solid Blue | Bridge is o ine. Check internet connection. |
| Problem | Solution(s) |
| Wi-Fi Bridge O ine | • Check internet connection • Check if Wi-Fi Bridge is connected to the Wi-Fi router. • Reset TL111WM to factory setting, and try to connect again. • Place Wi-Fi Bridge and TL111WM within a distance of 30 ft / 10 m. |
| Wi-Fi Bridge response time slow or timeout | • Check internet connection |
| Wi-Fi Bridge fail to connect to smartlock | • Reset TL111WM to factory setting, and try to connect again. • Check the Lock List page in Turboluck Plus app to see if Wi-Fi Bridge has already been paired. • Place the Wi-Fi Bridge, Router, and the smartlock in close range. |
| Replace smartlock batteries | • Please allow 30-60 second for TL111WM to be back online after replacing the batteries. |
| Problem | Possible Cause | Solution(s) |
| Why can’t I open the door? | Your access has been restricted. | If you received a key from the lock’s admin, your access may have a restricted schedule. Check with your admin regarding these details. |
| Why does the lock jam? / The door doesn’t close. | The latch size is wrong. | Disassemble the lock and check the latch assembly. If retro tting, compare the latch length and adjust as needed. If installed on a new door, adjust the latch and/or, drill into the door to t the latch as needed. |
| The strike plate and latch aren’t correctly aligned. | Open the door and check the alignment of both the latch and the strike plate. Adjust as needed. | |
|
The lock doesn’t work. | The lock isn’t receiving power. | Ensure the batteries are properly installed. Remove and reinstall if needed. |
| The batteries are entirely dead and/or were not replaced in a timely manner. | Replace the batteries. | |
| Use one of the physical keys to lock and unlock. Replace the batteries. | ||
| Use the emergency power port to power the lock so that the door opens. Replace the batteries. | ||
| I entered the password wrong (at least 5x). | If a passcode has been entered wrong 5x in a row, regardless of the entry method, the lock will go into a 5-minute security lockdown. This is a feature designed to prevent unwanted parties from attempting to guess passcodes. | Wait 5 min. and try again, or use the physical key to open the lock directly. |
| The physical key can be used to override the security lockout. | ||
| Why is the lock beeping multiple times? | Low battery warning | New batteries should be installed as soon as possible after receiving the rst low-battery warning (three sets of triple beeps). |
| I forgot my codes. | The codes were not properly recorded. | Perform a reset in order to erase all passwords. In order to perform a reset, you must have access to the back of the door. Once a reset is performed, record the passwords in a secure location. |
GENERAL PRECAUTIONS
- The lock shall only be used as described in this manual.
- Verify that all parts of the lock are accounted for. If any part is missing, contact customer service.
- If the battery compartment or surrounding parts are damaged, do not use the lock.
- Use only four AAA batteries. Do not mix old and new batteries or batteries from different brands.
- Never insert objects into the lock other than batteries as described in this manual.
- The lock is not a toy. Do not leave children unsupervised around the lock.
- Use only the parts included in the original packaging or received from TurboLock.
- Verify all surfaces are at and level before beginning installation. Installation on doors or surfaces with any type of deformity such as gaps or warping may cause the lock to malfunction or fail to operate entirely.
- Expected use is for standard doors made for buildings within the US.
- New batteries on average can deliver up to one full year of use before replacement is needed. Battery life varies by usage.
- Replace the batteries after receiving the lock’s low battery notification.
- Never apply any cleaner directly to any part of the lock. Only use clean (or purified) water and mild cleaner on a soft, non-abrasive cloth when cleaning.
- Potential Shock Warning: Do not allow water and/or liquids to get into the lock’s electric parts.
- Never submerge the lock or any of the lock’s components.
- Hanging objects on the lock is not recommended.


















































