BRINLY BS-381 38 Inch Box Scraper Owner’s Manual
INTRODUCTION AND SAFETY
CONGRATULATIONS on the purchase of your new Brinly-Hardy Box Scraper! Your product has been designed, engineered and manufactured to give you the best possible dependability and performance.
Should you experience any problem you cannot easily remedy, please do not hesitate to contact our knowledgeable customer service department toll-free at 1-877-728-8224. We have competent, well trained technicians to help you with the assembly and use of your Box Scraper.
CUSTOMER RESPONSIBILITIES
- Please read & retain this manual. The instructions will enable you to assemble and maintain your product properly.
- Please carefully read and observe the SAFETY SECTION of this manual.
- Follow a regular schedule in maintaining and caring for your Brinly-Hardy product.
REQUIRED TOOLS FOR ASSEMBLY
- 9/16” Wrench (1)
- 3/4” Wrench (2)
- Pliers (1) Slip joint recommended
- Level
- Hammer
- Gloves
RULES FOR SAFE OPERATION
- Know controls and how to stop quickly, READ THE OWNER’S MANUAL.
- Do not allow children to operate the vehicle, do not allow adults to operate without proper instruction or without having read the owner’s manual.
- Do not carry passengers. Keep children and pets a safe distance away.
- Always wear substantial footwear. Do not wear loose fitting clothing that can get caught in moving parts.
- Keep your eyes and mind on your tractor/attachment and area being covered. Do not let other interests distract you.
- Stay alert for holes in the terrain and other hidden hazards.
- Do not drive close to creeks, ditches and public highways.
- Watch out for traffic when crossing or near roadways.
- When using any attachment, don’t allow anyone near the vehicle while in operation.
- Keep the vehicle and attachment in good operating condition and keep safety devices in place.
- Keep all nuts, bolts and screws tight to be sure the equipment is in safe working condition.
- The vehicle and attachment should be stopped and inspected for damage after striking a foreign object.
- The damage should be repaired before restarting & operating the equipment.
- See tractor equipment owner’s manual for safe operation of the equipment.

- Always stop the tractor and raise Unit to transport position BEFORE changing blade angle or reversing blade.
- Care should be taken not to “hang” the blade on surface projections such as corners of concrete driveways.
- NEVER allow anyone to “ride” on the unit.
- Lock tractor lift handle DOWN when installing unit on or removing from the sleeve hitch.

LOOK FOR THIS SYMBOL TO POINT OUT IMPORTANT SAFETY PRECAUTIONS. IT MEANS – ATTENTION: BECOME ALERT! YOUR SAFETY IS INVOLVED.
PARTS

| Ref # | 1019988 | Hardware Bag | Qty | |
| 1 | 45M4440P | Washer; SAE, Plain, 1-1/4 | 1 | |
| 2 | B-1675P | Nut; Hex Lock, 3/8″-16 | 1 | |
| 3 | B-4813-10 | Blade, 38″ | 1 | |
| 1019748-10 | Blade, 42″ | 1 | ||
| 4 | B-2376-10 | Angling Lever | 1 | |
| B-2578 | Pin; Clevis, 7/16 x 2-3/8 | 1 | ||
| 5 | 1019747* | Pin; Magnetic Hitch | 1 | |
| 6 | B-3717 | Grip; Vinyl, 3/8 x 1-1/4 | 1 | |
| 7 | B-2596-10 | Blade Mount Plate | 1 | |
| 8 | B-5922 | Logo Decal | 1 | |
| 9 | B-4265-10 | Hitch Assembly | 1 | |
| 10 | B-4351-10 | Drawbar | 1 | |
| 11 | 2M1620P | Bolt; Hex Head, 1/2 x 1-1/4″ | 4 | |
| 12 | 10M1216P | Bolt; Carriage, 3/8 x 1″ | 8 | |
| 13 | 10M1240P | Bolt; Carriage, 3/8 x 2-1/2″ | 1 | |
| 14 | 30M1200P | Nut; Reg Hex, 3/8 – 16 | 10 | |
| 15 | 30M1600P | Nut; Hex, 1/2″-13 | 4 | |
| 16 | 40M1200P | Washer; Lock, 3/8″ | 10 | |
| 17 | 45M1313P | Washer; SAE Flat, 3/8″ | 6 | |
| 18 | 40M1600P | Washer; Lock, 1/2″ | 4 | |
| 19 | 45M1717P | Washer; Flat, 1/2″ | 2 | |
| 20 | 50M0416P | Pin; Cotter, SS 1/8 x 1″ | 1 | |
| B-4819-10 | Scarifier Bar Assembly, 38″ | 1 | ||
| 21 | 1019750-10 | Scarifier Bar Assembly, 42″ | 1 | |
| 22 | B-4814-10 | Plate; Side | 2 | |
| 24 | 1019983 | Pin; Linch, 5/16″ | 2 | |
| 27 | B-5343-10 | Bracket; Weight Mount | 2 | |
| 28 | B-5344-10 | Bracket; Weight Support | 1 | |
| 29 | 10M1220P | Bolt; Carriage, 3/8 x 1-1/4″ | 2 | |
PARTS: HARDWARE IDENTIFIER
Illustrations on this page are to scale for faster identification of hardware during assembly
English Manual DO NOT RETURN PRODUCT IF YOU ARE MISSING PARTS. Please Call: 1 (877) 728-8224
Washer: Lock
3/8” (x10)
40M1200P
Washer: Flat
3/8” (x6)
45M1313P
Washer: Lock
1/2” (x4)
40M1600P
Washer: Flat
1/2” (x2)
45M1717P
Washer: Flat
1-1/4” (x1)
45M4440P

Nut: Hex, 3/8” (x10)
30M1200P
Nut: Hex, 3/8” (x10)
30M1200P
Nut: Hex, 1/2” (x4)
30M1600P
Bolt: Carriage, 3/8 x 2-1/2” (x1)
10M1240P
Pin, Clevis: 7/16″ x 2 3/8″ (x1)
B-2578
Pin; Cotter,
1/8 x 1″ (x1)
50M0416P![]()
Pin: Linch
5/16 (x2)
1019983
Bolt: Hex Head
1/2 x 1-1/4” (x4)
2M1620P
Bolt: Carriage
3/8 x 1” (x8)
10M1216P
Bolt: Carriage
3/8 x 1-1/4” (x2)
10M1220P
PARTS: CONTENTS OF SHIPPING CARTON
Owner’s
Manual (x1)
1019911
Hardware Bag (x1)
1019988
Weight Support
Bracket (x1)
B-5344-10
Weight Mount
Bracket (x2)
B-5343-10
Side Plate (x2)
B-4814-10
Drawbar
Assembly (x1)
B-4351-10
Angling
Lever (x1)
B-2376-10
Blade Mount
Plate (x1)
B-2596-10
Hitch Assembly (x1)
B-4265
38″ Blade (x1)
B-4813-10
42″ Blade (x1)
1019748-10
38″ Scarifier Bar Assembly (x1)
B-4819-10
42″ Scarifier Bar
Assembly (x1)
1019750-10
| Ref # | 1019988 | Hardware Bag | Qty |
| 1 | 45M4440P | Washer; SAE, Plain, 1-1/4 | 1 |
| 2 | B-1675P | Nut; Hex Lock, 3/8″-16 | 1 |
| 5 | B-2578 | Pin; Clevis, 7/16 x 2-3/8 | 1 |
| 1019747* | Pin; Magnetic Hitch | 1 | |
| 6 | B-3717 | Grip; Vinyl, 3/8 x 1-1/4 | 1 |
| 11 | 2M1620P | Bolt; Hex Hd, 1/2 x 1-1/4 | 4 |
| 12 | 10M1216P | Bolt; Carrige, 3/8 x 1″ | 8 |
| 13 | 10M1240P | Bolt; Carriage, 3/8 x 2-1/2″ | 1 |
| 14 | 30M1200P | Nut; Reg Hex, 3/8″-16 | 10 |
| 15 | 30M1600P | Nut; Hex, 1/2″-13 | 4 |
| 16 | 40M1200P | LockWasher, 3/8″ | 10 |
| 17 | 45M1313P | Washer; SAE Flat, 3/8 | 6 |
| 18 | 40M1600P | Washer; Lock, 1/2″ | 4 |
| 19 | 45M1717P | Washer; Flat 1/2″ | 2 |
| 20 | 50M0416P | Pin; Cotter, SS 1/8 x 1 | 1 |
| 24 | 1019983 | Pin; Linch, 5/16″ | 2 |
| 29 | 10M1220P | Bolt; Carriage, 3/8 x 1-1/4″ | 2 |
ASSEMBLY
Assembly Tips
Illustrations on page 4 are to-scale. For faster identification of the hardware during assembly, simply lay the hardware on top of these illustrations. It is recommended that you carefully read this Owner’s Manual before starting assembly
Right hand (R.H.) and Left hand (L.H.) are determined from the operator’s position while seated on the tractor.
Additional info and videos are available on our website: brinly.com
These QR codes link directly to the Box Scraper product pages.

Step 1
Align the Blade (3) with the Blade Mount Plate (7), as illustrated.
On the inner curve of the blade, find the two TOP CENTER HOLES and run two 3/8″ x 1″ Carriage Bolts (12) through.
On the back, add a 3/8″ Flat Washers (17), 3/8″ Lock Washer (16) and secure LOOSELY with 3/8″ Hex Nuts (14).
Do not tighten fully (YET).

Step 2
Align the Weight Mount Brackets (27).
(V-Angle End next to Blade Mount Plate) to two Bottom Holes Blade and Blade Mount Plate.
On the inner curve of the blade, find the two LOWER CENTER HOLES and run two 3/8″ x 1-1/4″ Carriage Bolts (29) through.
On the back, add a 3/8″ Lock Washer (16) and secure LOOSELY with 3/8″ Hex Nuts (14).
Do not tighten fully (YET).

Step 3
Attach the Weight Support Bracket (28).
Align the support bracket (28) to bottom of weight mount brackets (27), as illustrated.
From above, run two 3/8″ x 1″ carriage bolts (12) through both brackets.
Secure from below with a 3/8″ lock washer (16) and 3/8″ hex nut (14) on each bolt.
NOW SECURELY TIGHTEN ALL HARDWARE FROM STEPS 1-3

Step 4
Align the Hitch Assembly (9) with the Drawbar (10) as illustrated here. Add a flat washer (19) to two 1/2″ x 1-1/4″ Hex Bolts (11) as shown. Run the bolts through the first holes of the hitch assembly and draw bar.
Add a Lock Washer (18) and nut (15) to each bolt. Do not tighten fully (YET).

Run two 1/2″ x 1-1/4″ Hex Bolts (11) through the hitch assembly and drawbar, as illustrated. Add a Lock Washer (18) and nut (15) to each bolt. Do not tighten fully (YET).

NOTE: Flip drawbar over for next step.
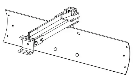
Step 5-A
- Add the drawbar (10) to the blade mount plate post (7) as illustrated. Follow with the large flat washer (1).
- Slide the handle grip (6) on the end of the angling lever (4), then align it on the mount plate post (7) as illustrated.
- Insert the 7/16″ x 2-3/8″ Shear pin (5) through the round holes at the end of the lever and post. Secure with the 1/8″ x 1″ cotter pin (20).
NOTE: Bend the cotter pin (20) ends as illustrated to secure

Step 5-B
- Insert the 3/8″ x 2-1/2″ Carriage Bolt (13) through the remaining two holes (square) in the angling lever (4).
- Secure with a 3/8″ Hex Lock Nut (2).
NOTE: Tighten the lock nut (2) just enough to remove any “looseness” in the angling lever (4) – it must be free to move up and down without binding.
Step 6
Align a Side Plate (22) with the Blade (3).
From the inner corner, attach the side plate (22) running two 3/8″ x 1″ Carriage Bolts (12) through both parts.
Secure each bolt using a Flat Washer (17), Lock Washer (16) and Hex Nut (14).
Do not fully tighten (yet)
Repeat this step, attaching the second side plate on the other side of the Blade.

Step 7
Align the Scarifier Bar Assembly (21), teeth points down and facing forward.
Slide the bar ends through the slots of Side Plates (22) as shown.
Secure in place by installing Linch Pins (24) through the holes on the end of the Scarifier Bar (21) as illustrated here.
Now securely tighten all hardware from steps 4 and 6.

Assembled Scarifier Bar:
Step 8
Attach the completed Box Scraper to the Sleeve Hitch of your tractor, in the middle hole of the Box Scraper Hitch. Hitch pin (5) furnished with your hitch.
Now the Stabilizer Bolts on the Hitch need to be tightened against the Yoke on Box Scraper to prevent any “side sway.”
- Position the Tractor (with Box Scraper) on a hard, level surface.
- Lower the box scraper and check to make sure it is level side-to-side, loosen the four 3/8″ carriage bolts holding the box scraper to the post to adjust as necessary, and retighten hardware. Refer to steps 1 & 2.
- Place a level on top of Drawbar-move Hitch Assembly until Drawbar is level, front to back. Refer to Step 4.
- The operating depth of the Box Scraper needs to be set now. Make sure the tractor hitch is free to allow box scraper to go below ground level, but still maintaining a 5″ transport height with the Hitch raised.
- Refer to your tractor and/or sleeve hitch manual for any necessary adjustments.
Box Scraper is ready to use!
MUST BE FREE TO GO BELOW GROUND LEVEL ( See Sleeve Hitch Manual )
OPERATION
OPERATION AS A BOX SCRAPER AND SCARIFIER
- After the Box Scraper is properly adjusted and mounted to the Tractor, many different operations can be accomplished, some of which are: leveling dirt and gravel, spreading a pile of loose material, filling small holes, cleaning up debris, snow removal, scarifying, etc. NOTE: The Box Scraper is not recommended for use in reverse gear.
- The Tractor speed while operating the unit, should be governed by the task to be accomplished.
- While leveling or grading, do not attempt to cut excessive amounts of hard-packed material at a high rate of speed.
- Use of the Scarifier is recommended when leveling and grading hard-packed material, to aid in breaking up the surface or gravel layer. NOTE: Operate at a speed which allows loose material that has piled up on the face of the Unit to be deposited in low areas.
- Weight (concrete / patio blocks, etc.) can be added to tray and secured using tie downs through holes in tray flanges.
OPERATION AS A REAR BLADE
- Your unit may be used as a Rear Blade by removing the Scarifier and Side Plates. (Disassemble by reversing assembly steps 7, then step 6).
- Various angles (left and right) are obtained by lifting Angling Lever, rotating the Blade to the desired angle, then lowering the Angling Lever into the locking hole.
- To use the Blade with the Tractor in the reverse gear, raise the Angling Lever, rotate the Blade 180 degrees and lock into the desired position by flipping the angling lever.
- The Blade is designed to be used in a variety of light jobs: such as leveling, scraping, raking, back-filling, snow removal, etc.
- Weight (concrete / patio blocks, etc.) can be added to tray and secured using tie downs through holes in tray flanges
MAINTENANCE
- After the Blade Edge has worn considerably, it should be rotated (from bottom to top) to provide a new edge. Remove the four 3/8″ Carriage Bolts, rotate the Blade and then re-assemble the Blade with the new edge on the surface.
- Lubricate all pivoting points and the Hitch Pin with a drop or two of 30 weight oil before each operation.
- Frequently (at least every 8 hours of use) see that all bolts and nuts are tight.
- When the Unit is not being used, remove all dirt, scale and rust; then touch-up with paint.
- Apply a coat of grease, oil or rust preventative to blade edge, scarifier and other areas that appear to have “scoured” from operation.
- Always store in a dry place
SERVICE
QUALITY CONTINUES WITH QUALITY SERVICE
If you have installation questions, are missing parts or need replacement parts, don’t go back to the store!
Please find your product serial number and model number, then contact our Customer Service department:
In North America and Canada call
Toll-Free: 877-728-8224
Chat online: www.brinly.com
Email: [email protected]
LIMITED WARRANTY
Brinly-Hardy Company warrants only to the original retail purchaser that this product will remain free of defects in workmanship and materials under normal use and service for a period of one (1) year (NOTE: ninety (90) days for commercial or rental use) commencing with the date of purchase.
Any parts found to be defective within the warranty period will be replaced, with proof of date of purchase, at Brinly Hardy Company’s expense. Our obligation under warranty is expressly limited to replacement or repair, at our option of parts which are defective in material or workmanship within thirty (30) days of receipt of the parts. This warranty does not apply to damage
caused by unreasonable use, including failure to provide necessary maintenance, nor does it apply to any transportation or labor charges.
WE MAKE NO OTHER EXPRESS WARRANTY NOR IS ANYONE AUTHORIZED TO MAKE ANY ON OUR BEHALF. ANY IMPLIED OR STATUTORY WARRANTIES, INCLUDING ANY WARRANTY OF MERCHANTABILITY OR FITNESS FOR A PARTICULAR PURPOSE, ARE LIMITED TO THE DURATION OF THIS WRITTEN WARRANTY. WE SHALL NOT BE LIABLE FOR CONSEQUENTIAL OR INCIDENTAL DAMAGES OF ANY KIND.
MADE IN U.S.A.

















