USER MANUAL
TRACTOR MOUNTED BOX SCRAPER
ATTENTION![]()
GB120 Tractor Mounted Box Scraper
Tractor Box Scraper may present dangers during its use.
Read the user manual attentively before its use.

SAFETY INFORMATION
![]()
THE FOLLOWING SAFETY PRECAUTIONS SHOULD BE THOROUGHLY UNDERSTOOD BEFORE ATTEMPTING TO BEGIN ASSEMBLING THIS MACHINE
- Select an area for assembly that is clean and free of any debris which might cause persons working on the assembly to trip.
- Do not lift heavy parts or assemblies. Use crane, jack, tackle, fork trucks or other mechanical devices.
- Preview the assembly instructions in your operator’s manual before proceeding further.
- If the assembly instructions call for parts or assemblies to be blocked up, use only blocking material that is in good condition and is capable of handling the weight of the assembly to be blocked. Also insure that the blocking material is on a clean, dry surface
- Never put hands, or any part of body, under blocked up assemblies if at all possible.
- After completing assembly, thoroughly inspect the machine to be sure that all nuts, bolts, hydraulic fittings or any other fastened assemblies have been thoroughly tightened
- Before operating the machine, thoroughly read the operation section of your operator’s manual.
- Before operating, read the maintenance section of you operator’s manual to be sure that any parts requiring lubrication, are full, to avoid any possible damage.
- Before operating equipment – If you have any questions regarding the proper assembly or operation, contact your dealer or representative
Manufacturer’s identification license :

It is strictly prohibited to remove protections of safety, labels of safety and the plate of identification manufacturer.
Safety rules:
In order to avoid accidents during work, it is necessary to observe the most elementary rules of prudence:
1. Operator
– The operator should not start the machine if they don’t have all his mental and physical faculties:
- Good eyesight and good hearing
- Read and study the manual
- Be attentive to its and others’ security
- Be familiar with the use and maintenance of the machine
- It is strictly forbidden to drink alcohol, ingest drugs and other substances that might affect the use of the machine
– Do not wear loose floating clothing that could be caught by moving parts.
– Wear the appropriate security equipment :
- Standardized working gloves
- Safety shoes
- Helmet
- Hearing protection device
- Protective glasses
2. Machine
– The coupling must be done only on the points provided for this purpose in accordance with safety standards.
– Prohibit using the machine as means of transport of people, animals or objects.
– The machine should be in perfect working condition, maintained with original parts.
– It is strictly prohibited to make modifications on the machine without authorization of the manufacturer.
3. Utilization
– Prudence is required during the attachment of the machine to the tractor and during its uncoupling.
– The maintenance, the cleaning as well as the adjustments must be made only if the engine of the tractor is turned off and the ignition key is removed.
– Make sure that no one is in the operating area of the machine.
We disclaim all the responsibilities for damages of nature reason caused by the non-observance of safety rules and of use.
GENERAL CONDITIONS
The Buyer contractually agrees with the current conditions for sale and guarantee clearly not to be contrary to his/her own situation.
For all these goods sent by delivery or mailing, we will invoice you for the price of the courier or mail.
Delivery period is only for reference.
A delay for the appointed time to the goods could not, in any case, cause the claims for damages in any way.
Our goods still take a risk in the process of delivery to the destination, even if the machine is sold at freight prepaid.
GUARANTEE
Our new equipment is warranted against defects in materials and construction defect for one year from the date of delivery. At the end of that period, the guarantee legally ceases.
Excluded from the guarantee:
Deterioration or damages are resulted from an insufficiency (misuse of care or maintenance) accident, misuse or abuse or due to normal wear and tear.
The equipment transformed, modified, repaired or disassembled even only partly outside.
The guarantee is limited to the exchange of the defect recognized by our technical department. The parts, which were supposed to be defective, will have to be refunded freely to our establishment accompanied by a request for guarantee. We neither take part in the expenses of labor caused by disassembling or the reassembly in any manner, nor in the expenses and consequences of the immobilization of the material.
To invoke the benefit of the guarantee, the customer must notify us within three days and in writing, of the defects attributed to the equipment and provide all justifications. The guarantee does not apply if the material is not refunded in the state where it breaks, or if it is dismounted, repaired, modified beforehand either by a third or by user or the customer.
The parts will be always invoiced, and an expense account will be submitted only after acceptance of the guarantee by our engineering department.
Our responsibility is expressly limited to the defined guarantee above. She could not be committed to reason of accident caused by persons and things in any case, even by the result of a fault or a vice of the sold equipment.
Reserve property: By convention, we reserve the ownership of supplied goods until the last day of full payment.
SPECIFICATIONS:
| Model | Dimension(LxWxH) | Blade number(pcs) | Working Width(mm) | weight(KG) | Power required |
| G8120 | 1236x760x920 | 4 | 1200 | 155 | 20-30hp |
| G8150 | 1536x760x920 | 5 | 1500 | 180 | 25-35hp |
| G8180 | 1836x760x920 | 6 | 1800 | 205 | 35-50hp |
SAFETY PRECAUTIONS ![]()
MOST ACCIDENTS OCCUR BECAUSE OF NEGLECT OR CARELESSNESS.
AVOID NEEDLESS ACCIDENTS BY FOLLOWING ALL OF THE SAFETY PRECAUTIONS LISTED BELOW.
- Machinery should be operated only by those who are responsible and are authorized to do so.
Stop the engine, lower all equipment, lock the brakes, and remove the ignition key before dismounting from the tractor. - Never stand between tractor and implement while tractor is being backed to hitch.
- Loose fitting clothing should not be worn, to avoid catching on various parts.|
- Detach implement in area where children normally do not play.
- When performing adjustments or maintenance on an implement, first lower it to the ground or block it securely at a workable height.
- Only a qualified operator should be permitted on tractor when in operation; no riders allowed.
Make certain everyone is in the clear before starting tractor or raising or lowering equipment. - Operate the tractor and implement only while seated in the driver’s seat.
- Reduce speed when transporting mounted implements to avoid bouncing and momentary loss of steering control.
- A heavy load can cause instability of the tractor. Use extreme care during road travel. Slow down on turns and watch out for bumps. Tractor may need front counterweights to counter-balance the weight of the implement.
- Reduce speed on hillsides or curves so there is no danger of tipping.
- Avoid driving too close to the edge of ditches or creeks.
- Do not transport implement on public roads without reflectors and slow moving vehicle emblem in daylight and with approved warning lights at night and other periods of poor visibility.
- Due to the width of some implements, use extra caution on highways, farm roads, and when approaching gates
- Always be sure the implement is in the proper position for transport.
- Keep alert and watch the front as well as the rear when working with the implement.

TRACTOR BOX SCRAPER ASSEMBLY PARTS
DRAWING & LIST
Structure and functions
The GB series Box scraper consists of a frame, a suspension device, a shovel, and its operating and adjusting devices. It has the anti-profiling performance that the leveling shovel does not follow the undulation of the ground and moves up and down to obtain the effect of farmland leveling. It is also suitable for road surface leveling, repair, and snow removal operations.
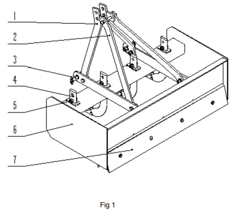
This GB Box Scraper is consists of the following parts (Fig 1)

- Column welding 2. Tie rod 3. Hanging pin 4. Knife handle combination 5. Positioning pin 6. Frame welding 7. Blade
The structure and function of each part are as follows:
- Suspension parts (Fig 2)
The frame, the column, the tie rod, the suspension pin and other parts form a three-point suspension mechanism. The upper and lower suspension pins are respectively hooked with the tractor’s upper and lower rods and locked with a lock pin.
- Frame welding

- Knife handle combination

- Blade

The blade is made of 65Mn steel, which has higher hardness and wear resistance after heat treatment.
TRACTOR BOX SCRAPER INSTALLATION
The Box scraper sent by the factory are usually divided into several parts and packaged for the convenience of transportation.
After receipt or before installation, check the quantity of other parts according to the packing list and remove the dirt on them.
The paint on the rubbed surface of the parts should be removed.
Grease should be injected according to the maintenance requirements.
The instructions should be read in detail before installation.
Choose a flat site for installation according to the installation sequence and method specified on the above.
TRACTOR BOX SCRAPER OPERATION AND ADJUSTMENT
The Box scraper and the tractor adopt a three-point coupling method. Specific hooking method.
Details as follows:
- The tractor is aligned with the middle of the suspension mechanism of the motor grader and reverses slowly. Raise the pull-down rod to an appropriate height, and reverse until it can connect with the left and right suspension pins of the grader.
- After adjusting the corresponding height of the left and right pull rods of the tractor, insert the latches.
- Install the upper lever and insert the bolt.
MAINTENANCE
Before and after the operation of the Box scraper, check whether the fasteners are tight and whether the bolts are firm;
- After a working season, the grader should be disassembled and maintained once to remove the clay from the tools.
- The paint should be patched up after it falls off to prevent rust.
- The Grader Blade should be placed in the warehouse during the leisure season to prevent sun and rain.
CAUTIONS
- The operator should have a certain understanding of the characteristics, control and adjustment of the scraper.
- Check must be made before operation to prevent fasten parts from loosing, moving parts from clogging.
- When working with a tractor, maintenance, repairing or adjustments of the land scraper are not allowed, person other than the operator is not allowed to stay nearby, sit or stand on the land scraper.
PACKING LIST
| No. | Main parts of pack | Quantity |
| 1 | Column welding | 1 |
| 2 | Tie rod welding | 2 |
| 3 | Frame welding | 1 |
| 4 | Knife handle combination | 4/5/6/7/8 |
| 5 | Back blade | 2 |
| 6 | Small bag | 1 |





















