PERLECARE Weight Bench Instruction Manual
PCWB01
Thank you for choosing this Perlecare product! At Perlecare we strive to provide you with the best quality products and services in the industry. Should you have any issues, please don’t hesitate to contact us.
IMPORTANT SAFETY INFORMATION:
- Please carefully read all instructions before attempting installation. If you do not understand the instructions or have any concerns or questions, please contact our customer service at [email protected].
- CAUTION: Avoid potential personal injuries and property damage!
- Do not use this product for any purpose that is not explicitly specified in this manual. Do not exceed weight capacity. We are not liable for damage or injury caused by improper mounting, incorrect assembly or inappropriate use.
- Be sure all nuts and bolts are tightened prior to use.
- Use with caution when getting on or off the product.
- If you feel faint, light-headed or dizziness while operating the product, stop exercising immediately. You should also stop exercising if you are experiencing pain or any kind of discomfort.
- Keep children and pets away from the product at all times.
- Always use this product on a clear and level surface. Do not use outdoors or near water.
- Keep hands and feet away from any moving parts. Do not insert any object into any openings.
- It is recommend to wear sportswear when using this product.
Keep loose clothes, jewelry, limbs and long hair away from moving parts. - Children under the age of 13 should not use this product.
- Children from 13 to 18 should use the product under adult supervision.
Supplied Parts and Hardware List
- Front Stabilizer 01 x1

- Support Pillar 02 x1

- Main Frame 03 x1

- Handle Bar 04 x1

- Priest Pad 05 x1

- Leg Support 06 x1

- Resistance Band 07 x1

- Knob 08 x1

- Bolt and Nut A x2

- Bolt and Nut B x1

- Bolt and Nut C x1

- Big Safety Pin D x3

- Small Safety Pin E x1

- Wrench F x2

Assembly Instructions
Step 1 Secure the Support Pillar [02] to the Front Stabilizer [01]

Step 2 Fully Unfold the Main Frame [03]


Step 3 Secure the Support Pillar [02] to the Main Frame [03]


Use a wrench [F] to hold the nut [B-2] while use the other wrench [F] to tighten the bolt [B-1].
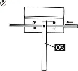
Step 4 Insert the Handle Bar [04] to the Priest Pad [05]




Step 5 Secure the Priest Pad [05] into the Support Pillar [02]


After you choosing the priest pad [05] to your desired height, insert the safety pin [D] into the hole to lock the height.
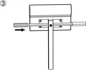
Step 6 Secure the Leg Support [08] to the Support Pillar [02]

2-Level Angle Adjustment
Use a wrench [F] to hold the nut [C-2] while use the other wrench [F] to tighten the bolt [C-1]

Step 7 Attach the Resistance Bands [07] to the Front Stabilizer [01]


If the unit is unstable, you can adjust the covers to level it.
Technical Support:
Support: [email protected](US/CA)
Support: [email protected](DE/UK/FR/IT/ES/AU)






























