NT-OSW HVAC Occupancy Sensor

DESCRIPTION
The NT-OSW is an occupancy sensor designed for automatic occupancy control of your HVAC system. It can be wall or corner mounted with a 110°, 50ft (15m) detection range. This sensor provides an occupied / unoccupied signal to all Net/X™ Thermostats with CLK1/CLK2 terminals. A 4-wire cable (thermostat cable or CAT5) is all that’s needed for connection.
INSTALLATION HINTS

Do not install where the detector is exposed to direct sunlight or directly above strong sources of heat.
Make sure the detection area does not have any obstruction (plants, large pieces of furniture, curtains etc.) which may block the detection.
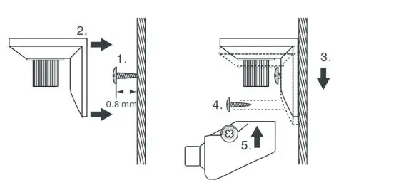
DRAWING

INSTALLATION & WIRING
- Mount the base of the mounting bracket to the selected position. Lead the cable through the access tunnel of mounting bracket.
- Open the front cover by loosening the locking screw at the bottom. Lead the cable into the unit and assemble the mounting bracket with the unit.
CEILING MOUNT
WALL MOUNT
- Connect the cable to the corresponding terminals according to the following instructions.

- Replace the front cover and then walk test can be conducted.
- Change DIP switch on the NetX™ thermostat to ‘Keyboard Lockout’. See separate thermostat manual for DIP switch number and location.
WALK TEST
Apply power supply, re-attached the cover and allow approximately 60 seconds for the sensor to warm up. The LED will blink (long and short) during warm up period. Ensure the jumpers for both ON & OFF delays are placed at “A” position (shortest time). After the warm up expires, walk across the detection zones (invisible) at normal speed. The LED will turn on whenever the sensor detects the motion. Note: Once the Walk Test has been completed, detach the cover again and move the jumpers for ON (Occupied) and OFF (Unoccupied) to the desired settings. Re-attach the cover.
Note: The LED will blink if any jumper is not properly placed.
OPERATION

A. Standby
After the warm up time expires, the sensor enters into standby mode. The sensor will check whether both delays are properly set. If not, the LED will blink to indicate the problem. There must be two jumpers installed, one in the ON jumper set and one in the OFF jumper set.
B. Verify Occupancy (ON)
The ‘Verify Occupancy’ jumper is the time given for the sensor to verify true occupancy before activating the thermostat to Day (Occupied) mode. After the first trigger, any further detection during the verification process will NOT reset the timer. The valid settings for the motion sensor to verify occupancy are 0 sec, 10 sec, 30 sec, 1 min, 5 min, and 10 min. Select a time that is best for the operating environment.
C. 1-Minute Delay
When the ‘Verify Occupancy’ process expires (based on the ON jumper setting), the sensor enters into a 1-minute delay count. If there is further sensor detection within the 1 minute delay, the relay will be triggered for Occupancy on the thermostat. Otherwise, if there is no further sensor detection within the 1 minute delay, the sensor will return to standby mode and NOT trigger Occupancy.
D. Minimum Occupied Time (OFF)
The ‘Minimum Occupied Time’ jumper is the time the occupied signal will last without any additional sensor detection. Every detection during this period will reset the ‘Minimum Occupied Time’. The valid settings for the minimum occupied time are 10 sec, 1 min, 5 min, 10 min, 20 min, and 30 min. Select a time that is best for the operating environment.

SENSOR POSITION ADJUSTMENT
In order to suit different room or area, the detection range of NT-OSW can be adjusted by changing the direction of sensor. To change the sensor direction, release the screw on the mounting bracket and then carefully move the sensor to the direction desired.
THERMOSTAT CONFIGURATION FOR OPTIMAL USE
The NT-OSW is designed to be used with any Net/X™ thermostat with CLK1 /CLK2 terminals. The list of best practices below will help maximize the effectiveness of the NT-OSW when used with your thermostat.
- Set the desired Cooling temperature for both Occupied (Day) and Unoccupied (Night) setpoints. This can be done manually, using the Net/X™ Command Center software, or NetX-Web™.
- Set the desired Heating temperature for both Occupied (Day) and Unoccupied (Night) setpoints. This can be done manually, using the Net/X™ Command Center software, or NetX-Web™.
- Engage the ‘Keypad Lockout’ using the DIP switch on the back of the thermostat. See separate thermostat instructions for the location of the DIP switch. It is important to engage the keypad lockout, otherwise it is possible for the Unoccupied (Night) setpoint to be changed to an ineffective temperature.
- When creating schedules with either the Net/X™ Command Center software, or NetX-Web™, pay close attention to the Occupied (Day) and Unoccupied (Night) settings for each event, otherwise the thermostat may not set back as anticipated.
DETECTION PATTERN

Shown in Meters

SPECIFICATIONS





















