
MP1
media player

user manual
Musikhaus Thomann
Thomann GmbH Hans-Thomann-Straße 1 96138 Burgebrach , Germany.
Telephone: +49 (0) 9546 9223-0
E-mail: [email protected]
Internet: www.thomann.de
04.05.2021, ID: 498843
General information
This user manual contains important information on the safe operation of the device. Read and follow all safety notes and all instructions. Save this manual for future reference. Make sure that it is available to all persons using this device. If you sell the device to another user, be sure that they also receive this manual.
Our products and user manuals are subject to a process of continuous development. We, therefore, reserve the right to make changes without notice. Please refer to the latest version of the user manual which is ready for download under www.thomann.de.
Further information
On our website (www.thomann.de) you will find lots of further information and details on the following points:
| Download | This manual is also available as PDF file for you to download. |
| Keyword search | Use the search function in the electronic version to find the topics of interest for you quickly. |
| Online guides | Our online guides provide detailed information on technical basics and terms. |
| Personal consultation | For a personal consultation please contact our technical hotline. |
| Service | If you have any problems with the device the customer service will gladly assist you. |
Notational conventions
| This manual uses the following notational conventions: | |
| Letterings | The letterings for connectors and controls are marked by square brackets and italics. Examples: [VOLUME] control, [Mono] button. |
| Displays | Texts and values displayed on the device are marked by quotation marks and italics. Examples: ‘24ch’ , ‘OFF’ . |
Symbols and signal words
In this section, you will find an overview of the meaning of symbols and signal words that are used in this manual.
media player
| Signal word | Meaning |
| DANGER! | This combination of symbol and signal words indicates an immediately dangerous situation that will result in death or serious injury if it is not avoided. |
| CAUTION! | This combination of symbols and signal words indicates a possible dangerous situation that can result in minor injury if it is not avoided. |
| NOTICE! | This combination of symbol and signal words indicates a possible dangerous situation that can result in material and environmental damage if it is not avoided. |
| Warning signs | Type of danger |
![]() | Warning – high-voltage. |
mp3
| Warning signs | Type of danger |
![]() | Warning – danger zone. |
media player
| Intended use | This device is intended to playback audio files. Use the device only as described in this user manual. Any other use or use under other operating conditions is considered to be improper and may result in personal injury or property damage. No liability will be assumed for damages resulting from improper use. This device may be used only by persons with sufcient physical, sensorial, and intellectual abili‐ ties and having corresponding knowledge and experience. Other persons may use this device only if they are supervised or instructed by a person who is responsible for their safety. |
Safety
DANGER!
Danger for children
Ensure that plastic bags, packaging, etc. are disposed of properly and are not within reach of babies and young children. Choking hazard! Ensure that children do not detach any small parts (e.g. knobs or the like) from the unit. They could swallow the pieces and choke! Never let children unattended use electrical devices.
DANGER!
Electric shock caused by high voltages inside
Within the device there are areas where high voltages may be present. Never remove any covers. There are no user-serviceable parts
inside.
DANGER!
Electric shock caused by short-circuit
Always use proper ready-made insulated mains cabling (power cord) with a protective contact plug. Do not modify the mains cable or the plug. Failure to do so could result in electric shock/death or fire. If in doubt, seek advice from a registered electrician.
CAUTION!
Possible hearing damage
With loudspeakers or headphones connected, the device can produce volume levels that may cause temporary or permanent hearing impairment. Do not operate the device permanently at a high volume level. Decrease the volume level immediately if you
experience ringing in your ears or hearing impairment.
NOTICE!
Risk of fire
Do not cover the device nor any ventilation slots. Do not place the device near any direct heat source. Keep the device away from naked flames.
NOTICE!
Operating conditions
This device has been designed for indoor use only. To prevent damage, never expose the device to any liquid or moisture. Avoid direct sunlight, heavy dirt, and strong vibrations. Only operate the device within the ambient conditions specified in the chapter ‘Technical specifications’ of this user manual. Avoid heavy temperature fluctuations and do not switch the device on immediately after it was exposed to temperature fluctuations (for example after transport at low outside temperatures). Dust and dirt inside can damage the unit. When operated in harmful ambient conditions (dust, smoke, nicotine, fog, etc.), the unit should be maintained by qualified service personnel at regular intervals to prevent overheating and other malfunction.
NOTICE!
Power supply
Before connecting the device, ensure that the input voltage (AC outlet) matches the voltage rating of the device and that the AC outlet is protected by a residual current circuit breaker. Failure to do so could result in damage to the device and possibly injure the user. Unplug the device before electrical storms occur and when it is unused for long periods of time to reduce the risk of electric shock or fire.
NOTICE!
Possible damage due to installation of a wrong fuse
The use of different types of fuses can cause serious damage to the unit. Fire hazard! Only fuses of the same type may be used.
NOTICE!
Risk of fire due to the incorrect polarity
Incorrectly inserted batteries may destroy the device or the batteries. Ensure that proper polarity is observed when inserting bat‐ teries.
NOTICE!
Possible damage by leaking batteries
Leaking batteries can cause permanent damage to the device. Take batteries out of the device if it is not going to be used for a longer period.
NOTICE!
Possible staining
The plasticizer contained in the rubber feet of this product may possibly react with the coating of your parquet, linoleum, laminate or PVC floor and after some time cause permanent dark stains. In case of doubt, do not put the rubber feet directly on the floor, but use felt-pad floor protectors or a carpet.
Features
This media player is suitable for use in clubs, bars, night clubs and on stages.
Special features of the device:
- CD / USB player with anti-shock function for uninterrupted playback in the event of vibrations
- Switchable autoplay
- Speed adjustment by ± 20%
- Infrared remote control (included)
- USB playback formats: MP3 and WMA
- CD formats: CD, CD-R, CD-RW, MP3 disk
- Max. size of USB medium: 64 GB
- Outputs: XLR and RCA
- 19″ rack housing (1 RU)
Installation
Unpack and carefully check that there is no transportation damage before using the unit. Keep the equipment packaging. To fully protect the device against vibration, dust and moisture during transportation or storage use the original packaging or your own packaging material suitable for transport or storage, respectively.
Establish all connections as long as the unit is switched off. Use the shortest possible high-quality cables for all connections.
Rack mounting
The unit has been designed for rack mounting in a standard 19-inch rack; it occupies one rack unit.
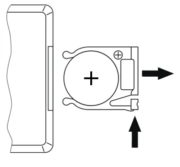
Insert the battery into the remote control
Push the lock of the battery holder towards the center of the housing and pull out the battery holder like a drawer. Insert the battery. The battery is correct if the positive pole points to the housing bottom of the remote control. Slide the battery holder back into the remote until it clicks into place.

Connections and operating elements
Front panel

| 1 | [POWER] | Main switch to turn the device on and off |
| 2 | Number buttons [1]…[0] | Direct selection of a desired title |
| 3 | Disc slot | Carefully insert the disc to be played halfway in here. It will then be drawn in automatically.
|
| 4 | Display | |
| 5 | [SPEED CONTROL] | |
| [LOW] | Slows down the playback speed. Press [LOW] once to show the speed on the display (display shows ‘PH — 01’ ). Press [LOW] repeatedly to slow down the playback speed. There are 10 levels of speed control. | |
| [HIGH] | Speeds up the playback speed. Press [HIGH] once to show the speed on the display (display shows ‘PH 01’ ). Press [HIGH] repeatedly to speed up the playback speed. There are 10 levels of speed control. | |
| [NOR] | Press [NOR] to reset to normal playback speed. | |
| 6 | [CD / USB] / [MEM] | Press [MEM] to call up the hotkey mode. Press one of the number buttons [1]…[0] for several seconds to save the currently playing track on it. Press [MEM] again to exit hotkey mode. |
| [REP / RAN] | Button for repeating tracks or playing tracks in random order. Press once to repeat the currently played track (display shows ‘REPEAT ONE’ ). Press twice to repeat all tracks of a folder (MP3 format) (display shows ‘REPEAT FOLDER’ ). Press three times to repeat all tracks (display shows ‘REPEAT ALL’ ). Press four times to play the tracks in random order (display shows ‘RANDOM ON’ ). [Press REP / RAN] again to exit (display shows ‘RANDOM OFF’ ). | |
| [REV. – SKIP – F.WD] /
| Skip back button. Skip ahead button | |
| [CD / USB] / [M] | Selection of CD or USB mode | |
| [SINGLE] / [1] | Press [1] once (display shows ‘SINGLE ONE’ ) so that only the current track is played. Playback is then paused and the display shows the next track. Press [1] again to exit the mode (display shows ‘SINGLE OFF’ ). | |
| Press Press to | ||
| [PROG] / | Saving a custom playlist Press [P] (display shows ‘PROGRAM’ ). Press | |
| [A>B] | Specifies a section of a track to be repeated Press [A>B] to set the starting point. ‘A>’ is flashing in the display. Press [A>B] again to set the end point. The specified section is played repeatedly (display shows ‘A>B’ ). Press [A>B] again to exit the mode. | |
| 7 | [STOP / EJECT] / | Stops playback and ejects the inserted disc |
| 8 | [PLAY / PAUSE] / | Press once to start playback, press again to pause, press again to resume |
| 9 | USB port | |
| 10 | [R] | Sensor for receiving remote control signals. When using the remote control, point it at the device. Do not place any objects in front of the device in this area and do not stick any stickers over the sensor, otherwise the remote control will be obstructed. |
Rear panel

| 11
| [Auto Play] / [ON] / [OFF] | Sliding switch for switching between automatic and manual mode. Can only be operated when the device is switched off. |
| [ON] | Once an audio source is connected, playback starts automatically. | |
| [OFF] | Once an audio source is connected, you can start playback with . | |
| 12 | [OUTPUT] / [L] / [R] | Unbalanced RCA output. Here you can connect e.g. the line input of a mixer, amplifier or similar device using a RCA cable. |
| 13 | [BALANCED OUTPUT] | Balanced XLR output. Here you can connect e.g. the line input of a mixer, amplifier or similar device using XLR cables. |
| 14 | IEC chassis plug for the power supply. Connect the device to a grounded power outlet using the supplied power cord. | |
| 15 | Sliding switch to toggle the supply voltage | |
| 16 | Screw terminal block for the alternative power supply with 13.2 V⇒ | |
Remote control

| 17 | [EJECT] / | Ejects the inserted disc |
| 18 | [PROG] | Saving a custom playlist Press [P] (display shows ‘PROGRAM’ ). Press |
| 19 | [SINGLE] | Press [SINGLE] once (display shows ‘SINGLE ONE’ ) so that only the current track is played. Play-back is then paused and the display shows the next track. Press [SINGLE] again to exit the mode (display shows ‘SINGLE OFF’ ). |
| 20 | [RANDOM] / [REPEAT] | Button for repeating tracks or playing tracks in random order. Press once to repeat the currently played track (display shows ‘REPEAT ONE’ ). Press twice to repeat all tracks of a folder (MP3 format) (display shows ‘REPEAT FOLDER’ ). Press three times to repeat all tracks (display shows ‘REPEAT ALL’ ). Press four times to play the tracks in random order (display shows ‘RANDOM ON’ ). [REP / RAN] again to exit (display shows ‘RANDOM OFF’ ). |
| 21 | [STOP] / | Ends playback |
| [PLAY /] / ⇓ / | Press once to start playback, press again to pause, press again to resume | |
| 22 | [REV. – SKIP – F.WD] /
| Skip back button. Press briefly to skip to the previous track. Press and hold to start searching backward. Skip ahead button. Press briefly to skip to the next track. Press and hold to start searching forward. |
| 23 | ⊗ | Muting or unmuting respectively. |
| 24 | [ENTER] /↵ | After selecting a desired track using the numeric buttons, press . |
| 25 | [VOLUME] / [–] / [+] | Setting the volume |
| 26 | [CD / CARD] / [MEMORY] | Press [MEMORY] to call up the hotkey mode. Press one of the number buttons [1]…[0] for several seconds to save the currently playing track on it. Press [MEMORY] again to exit hotkey mode. |
| 27 | [POWER] | Turns the device on and off |
| 27 | [A] [B] | Specifies a section of a track to be repeated Press [A] [B] to set the starting point. ‘A>’ is flashing in the display. Press [A] [B] again to set the end point. The specified section is played repeatedly (display shows ‘A>B’ ). Press [A] [B] again to exit the mode. |
| 28 | [A] [B] | Specifies a section of a track to be repeated Press [A] [B] to set the starting point. ‘A>’ is flashing in the display. Press [A] [B] again to set the endpoint. The specified section is played repeatedly (display shows ‘A>B’ ). Press [A] [B] again to exit the mode. |
| 29 | [MODE] | Selection of CD or USB mode |
| 30 | [FOLDER] / | Press Press |
| 31 | Number buttons [1]… [0] | Direct selection of the desired title |
| 32 | [SPEED] | |
| [LOW] | Slows down the playback speed. Press [LOW] once to show the speed on the display (display shows ‘PH — 01’ ). Press [LOW] repeatedly to slow down the playback speed. There are 10 levels of speed control. | |
| [NOR] | Press [NOR] to reset to normal playback speed. | |
| [HIGH] | Speeds up the playback speed. Press [HIGH] once to show the speed on the display (display shows ‘PH 01’ ). Press [HIGH] repeatedly to speed up the playback speed. There are 10 levels of speed control. |
Technical specifications
| Input connections | Voltage supply | IEC chassis plug C14 | ||
| Screw terminal block 13.2 V (alternative) | ||||
| Audio signal | 1 × USB connections (max. 64 GB) | |||
| 1 × CD player | ||||
| Output connections | Line | 2 × XLR plug | ||
| 2 × RCA socket | ||||
| Playback speed control range | ± 20 % | |||
| USB playback formats | MP3 and WMA | |||
| CD formats | CD, CD-R, CD-RW, MP3 disk | |||
| Frequency response | 20 Hz … 20 kHz | |||
| Signal-to-noise ratio | 50 dB @ 1 kHz | |||
| Output level | 0.9 V @ 1 kHz ± 2 dB | |||
| Power consumption | 45 W | |||
| Operating supply voltage | 115/230 V 50/60 Hz | |||
| Fuse | 5 mm × 20 mm, 1 A, 250 V, slow-blow | |||
| Dimensions (W × H × D) | 483 mm × 44 mm (1 RU) × 238 mm | |||
| Weight | 3.2 kg | |||
| Ambient conditions | Temperature range | 0 °C…40 °C | ||
| Relative humidity | 20 %…80 % (non-condensing) | |||
Further information
| Design | 19″ rack-mountable |
| MP3-capable | yes |
| Digital output | No |
| Master tempo | No |
| AntiShock | yes |
Plug and connection assignment
Introduction
This chapter will help you select the right cables and plugs to connect your valuable equipment in such a way that a perfect sound experience is ensured. Please note these devices, because especially in ‘Sound & Light’ caution is indicated: Even if a plug fits into the socket, an incorrect connection may result in a destroyed power amp, a short circuit or ‘just’ in poor transmission quality!
Balanced and unbalanced transmission
Unbalanced transmission is mainly used in semi-professional environments and in hifi use. Instrument cables with two conductors (one core plus shielding) are typical representatives of the unbalanced transmission. One conductor is ground and shielding while the signal is transmitted through the core.
Unbalanced transmission is susceptible to electromagnetic interference, especially at low levels, such as microphone signals and when using long cables.
In a professional environment, therefore, balanced transmission is preferred, because this enables an undisturbed transmission of signals over long distances. In addition to the conductors ‘Ground’ and ‘Signal’, in a balanced transmission a second core is added. This also transfers the signal but is phase-shifted by 180°.
Since the interference affects both cores equally, by subtracting the phase-shifted signals, the interfering signal is completely neutralized. The result is a pure signal without any noise interference.
XLR plug (balanced)

- Ground, shielding
- Signal (in phase, +)
- Signal (out of phase, –)
- Shielding on plug housing (option)
XLR plug (unbalanced)

- Ground, shielding
- Signal
- Bridged to pin 1
RCA connection
Drawing and table indicate the pin assignment of an RCA plug.

Protecting the environment
| Disposal of the packaging mate‐ rial | For the transport and protective packaging, environmentally friendly materials have been chosen that can be supplied to normal recycling. Ensure that plastic bags, packaging, etc. are properly disposed of. Do not just dispose these materials with your normal household waste, but make sure that they are fed to a recovery. Please follow the notes and markings on the packaging. | |
| Disposal of batteries | Batteries must not be disposed of as domestic waste or thrown into fire. Dispose of the bat‐ teries according to national or local regulations regarding hazardous waste. To protect the environment, dispose of empty batteries at your retail store or at appropriate collection sites. |
Disposal of your old device
This product is subject to the European Waste Electrical and Electronic Equipment Directive (WEEE) in its currently valid version. Do not dispose with your normal household waste. Dispose of this device through an approved waste disposal firm or through your local waste facility. When discarding the device, comply with the rules and regulations that apply in your country. If in doubt, consult your local waste disposal facility.


















