
UNDERCOUNTER DISHWASHER
MODELS:
MDB8959SKB0 (Black)
MDB8959SKK0 (Cast Iron Black)
MDB8959SKW0 (White)
MDB8959SKZ0 (Stainless)
Contents hide
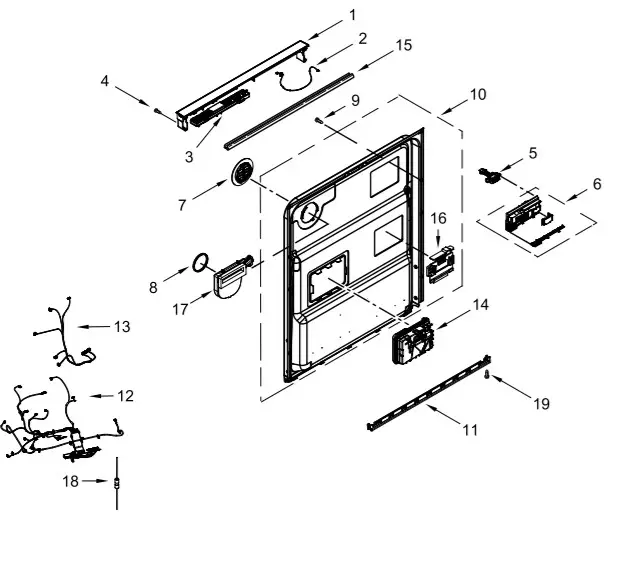
DOOR AND PANEL PARTS

Illus.
| No. | Part No. | Description |
| 1 | Literature Parts | |
| W11323304 | Owners Manual | |
| W11404474 | Energy Guide | |
| W11366142 | Tech Sheet | |
| 2 | Arm. Hinge | |
| W10920232 | Left Hand | |
| W10920230 | Right Hand | |
| 3 | W11377160 | Cross Brace. Door |
| 4 | W11102920 | Light Pipe |
| 5 | Access Panel | |
| W11108979 | Black | |
| W11110746 | White | |
| 6 | 6 Panel. Front (Includes 4 & 11) | |
| W11233301 | Black | |
| W11233304 | Cast Iron Black | |
| W11233302 | White | |
| W11233303 | Stainless | |
| 7 | 3400000 | Screw |
| 8 | W10919858 | Insulation. Multi-Layer |
| 9 | W11038694 | Insulation. Single Layer |
| 10 | W10919861 | Insulation. Front Panel |
| 11 | W10692757 | Barrel Nut. Front Panel |
| 12 | W11170267 | Screw. Black |
| W11170268 | Screw. White | |
| 13
| Toe Panel | |
| W11108991 | Black | |
| W11110751 | White | |
| 14 | W11364953 | Screw |
CONTROL PANEL AND INNER DOOR PARTS

Illus.
| No. | Part No. | Description |
| 1 | Console Assembly (Includes Insert) | |
| W11109120 | Black | |
| W11109121 | White | |
| 2 | W11084865 | Jumper, Door |
| 3 | W11131366 | Housing, Ul |
| 4 | W10711884 | Screw (Long) |
| 5 | W11091934 | Latch Assembly (Includes Switch) |
| 6 | W11348053 | Control, Electronic |
| 7 | W11025634 | Bezel Vent (Also Order Gasket) |
| 8 | W11184028 | Gasket, Vent |
| 9 | W10348409 | Screw |
| 10 | W11098822 | Inner Door Assembly |
| 11 | W11454757 | Seal, Door Bottom |
| 12 | W11084863 | Wiring Harness, Main (Includes Thermostat & Fuse) |
| 13 | W11084845 | Wiring Harness, Inner |
| 14 | W11092649 | Door Dispenser Assembly |
| 15 | W11265187 | Seal, Console/Door |
| 16 | W11088985 | Hanger, Control |
| 17 | W11025593 | Vent Assembly (Also Order Gasket) |
| 18 | W11397505 | Fuse, In-line |
| 19 | W11258418 | Screw |
TUB AND FRAME PARTS

Illus.
| No. | Part No. | Description |
| 1 | W11120458 | Tub Assembly (includes gasket) |
| 2 | W11226744 | Base. Terminal Box |
| 3 | W11035860 | Gasket, Tub |
| 4 | W11036127 | Nut, Water Inlet |
| 5 | W11090487 | Strike. Latch |
| 6 | W11296374 | Screw |
| 7 | W11165091 | Seal. Cabinet |
| 8 | W11025993 | Drip Tray |
| 9 | W11025986 | Funnel. Overfill Protection |
| 10 | W11025988 | Funnel Extension |
| 11 | 8269145 | Bracket. Undercounter |
| 12 | W11165093 | Cover. Tub Corner |
| 13 | W11036170 | Float Switch |
| 14 | W11184083 | Plug. Tub |
| 15 | W11289893 | Water Inlet Assembly |
| 16 | W11455395 | Leg, Leveling |
| 17 | 3378128 | Washer, Pronged Cup |
| 18 | 3400014 | Screw, Grounding |
| 19 | W10277003 | Screw |
| 20 | W11226746 | Cover. Terminal Box |
| 21 | Side Support. Tub | |
| W10920122 | Left Hand | |
| W10920120 | Right Hand | |
| 22 | W11158115 | Shield. Tub Sound |
| 23 | Tub Mount. Third Level Rack | |
| W11101573 | Left Hand | |
| W11256439 | Right Hand | |
| 24 | W11362501 | Miscellaneous Parts Bag (Contains 2 Screws. 2 Clamps, & 2 Brackets) |
| 25 | W11104729 | Nut, Heater Terminal |
| 26 | W11047695 | Heater Element Assembly |
| 27 | W11086088 | Tub Mount. Upper Rack |
| 28 | W11132441 | Terminal Block |
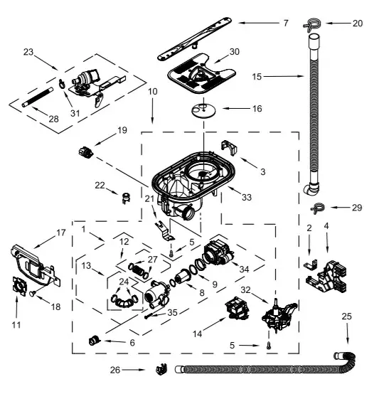
PUMP, WASHARM AND MOTOR PARTS

Illus.
| No. | Part No. | Description |
| 1 | W11122133 | Pump Assembly |
| 2 | W11294352 | Isolator, Front Motor |
| 3 | W10891545 | Diffuser, Inlet |
| 4 | W11294350 | Hanger, Front Motor |
| 5 | 9741232 | Screw |
| 6 | W10891547 | Check Valve, Drain |
| 7 | W11048456 | Wash Arm Assembly |
| 8 | W11108699 | Filter Assembly |
| 9 | W10380239 | Ring, Volute |
| 10 | W11197948 | Motor & Sump Assembly |
| 11 | W11036663 | Isolator, Rear Motor |
| 12 | W11250985 | Hose, Pressure |
| 13 | W10900387 | Hose. Suction |
| 14 | W11491436 | Motor. Drain |
| 15 | W11131184 | Hose. Drain |
| 16 | W10903468 | Disc. Diverter |
| 17 | W11025963 | Bracket. Rear Motor |
| 18 | W11418271 | Fastener |
| 19 | W11126174 | Indicator. Optical Wash |
| 20 | 370445 | Clamp. Hose |
| 21 | W11163419 | Bracket. Thermostat |
| 22 | W11193089 | Thermostat (Included with Main Wiring Harness) |
| 23 | W11025970 | Fill Valve Assembly |
| 24 | W11122851 | Clamp. Hose |
| 25 | W11036161 | Hose |
| 26 | W11036143 | Clip. Hose |
| 27 | W10466656 | Clamp. Hose |
| 28 | W11036287 | Hose. Inlet |
| 29 | W11236576 | Clamp. Hose |
| 30 | W11039864 | Grate |
| 31 | 371505 | Clamp. Hose |
| 32 | Dwerter Valve Motor (Not Serviced) | |
| 33 | W11034556 | Sump |
| 34 | W10753070 | Capacitor |
| 35 | W10467002 | Screw |
UPPER WASH AND RINSE PARTS

Illus.
| No. | Part No. | Description |
| 1 | W10872558 | Feed Tube Assembly |
| 2 | W11039888 | Retainer 3 |
| 3 | W11039869 | Sprayarm. Third Level |
| 4 | W11174340 | Upper Sprayarm Assembly |
| 5 | W10903465 | Cover. Diverter |
| 6 | W10e92836 | Retainer. Docking (2nd Level) |
| 7 | W10892835 | Retainer. Docking (3rd Level) |
UPPER RACK AND TAACK PARTS

Illus.
| No. | Part No. | Description |
| 1 | W10847875 | Dishrack. |
| 2 | W11048221 | Upper Wheel Leveler. |
| 3 | W11180178 | Adjuster Arm Clip. |
| 4 | W11180605 | Adjuster Arm |
| 5 | W11267701 | Button Adjuster Arm |
| 6 | Adjustment Assembly | |
| W11268092 | Left Hand | |
| W11268088 | Right Hand | |
| 7 | W11441109 | Track. Dishrack |
| 8 | W11268683 | Handle. Dishrack Front |
| 9 | W11291785 | Handle. Dishrack Rear |
| 10 | 9741232 | Screw |
| 11 | W11084872 | Truck Stop. |
| 12 | W11084874 | Rear Track Stop. Front |
| 13 | W11376395 | Screw |
LOWER RACK PARTS

Illus.
| No. | Part No. | Description |
| 1 | W10525641 | Dishrack. Lower |
| 2 | W11133747 | Wheel & Transport Assembly |
| 3 | W11281124 | Silverware Basket Assembly |
| 4 | W11267705 | Lid. Silverware Basket (Side) |
| 5 | W11267706 | Lid. Silverware Basket (Center) |
THIRD LEVEL RACK AND TRACK PARTS

Illus.
No. | Part No. | Description |
| 1 | W11127770 | Rack, Third Level |
| 2 | W11441109 | Track, Dishrack |
| 3 | W11084872 | Track Stop, Rear |
| 4 | Track Mount | |
| W11231345 | Left Hand | |
| W11231348 | Right Hand | |
| 5 | W11268683 | Handle, Dishrack Front |
| 6 | W11291785 | Handle, Dishrack Rear |
| 7 | 9741232 | Screw |
| 8 | W11084874 | Track Stop, Front |
| 9 | W11087823 | Silverware Tray |
| 10 | W11267725 | Bracket, Front Hanger |
| 11 | W11287291 | Drive Box Assembly, Manifold |
| 12 | W11267726 | Cover, Wash Tube |
| 13 | W11175552 | Tube, Wash |
| 14 | W10920244 | Nut, Tub |
| 15 | W11048221 | Wheel |
| 16 | W11376395 | Screw |
OPTIONAL PARTS (NOT INCLUDED)
Illus.
| No. | Part No. | Description |
| 1 | 4396277 | Barrier Kit |
| 2 | W11381654 | External Drain Hose, 12 FT |
| 3 | W11365011 | Power Cord Kit (Straight) |
| 4 | W11365014 | Power Cord Kit (Right Angle) |
| 5 | 4396672 | Strain Relief, Power Cord (Metallic) |
| 6 | W10685193 | Compression Hose Fitting, Water Line |
| 7 | W10278635RP | Fill Hose Kit |
01/12/2021
Part No. W11442026 Rev. C













