Telbix ONETA WB1

INSTALLATION
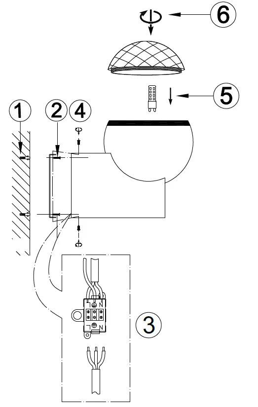
ITEM NO: ONETA WB1

240V50Hz G9 Max.6Wx1
NOTE: GLOBE NOT INCLUDED
- Disclaimer
- Tools not included
- Shade ring attached on lamp holder
- Globe s) not indluded
IMPORTANT
Must be installed by a qualified electrical contractor. Install in accordance with AS/NZ3000



















