Vaultek LifePod® X Weatherproof Lockbox User Manual

Important Usage Notes
Be sure to follow these notes for proper function.
Locking
Step 1 Shut the lid and the close compression latch.
Step 2 Press and hold lock icon for 3 seconds.
Unlocking
Step 1 Tap the lock pad to wake the unit.
Step 2 Unlock with master code.
Step 3 Undo the compression latch.
Do not forget your master code. Once you engage the built-in lock system you will be unable to unlock LifePod® X without the master code.
Before locking make sure the side compression latch is closed first.
If the lid does not open when unlocked, close the side compression latch and unlock the unit again to free the lock mechanism.
Interior May Pressurize
Due to LifePod’s airtight seal and pressure changes when shipping the lid can stick and be difficult to open. If the lid does not open, release the pressure by opening the side micro-USB cover (Figure 09 on page 01) and the lid can freely open.
Thank You
At Vaultek® we stand behind our product and you our customer. On behalf of the entire team thank you for your purchase. We believe personal defense should be handled seriously and we’re excited for you to experience the ultimate performance in smart-security.
Quick Start Guide
Step 1 Battery Installation (06)
Step 2 Master Code Programming (07)
Step 3 Product Registration (08)
Box Contents
Vaultek® LifePod® X
Steel Security Cable
Owner’s Manual
For setup, tutorials, and FAQs visit www.vaulteksafe.com/support/ and select your model.
Warnings
To prevent damage to your LifePod® X or injury to yourself or to others, read the following safety precautions before using this unit.
IMPORTANT! Do not forget your master code. Once you engage the built-in lock system you will be unable to unlock LifePod® X without the master code.
IMPORTANT! Before unlocking and locking make sure the side compression latch is closed first.
This will ensure the locking mechanism functions properly.
LifePod® X is designed to protect against dust and splashes with brief short immersions and will float when loaded with weight up to 1.2lb.
LifePod® X can be submerged to 1 foot for up to 30 minutes.
To ensure proper weather sealing:
ALWAYS check that the rubber gasket is free of debris before closing the lid.
ALWAYS check that the side compression latch is fully engaged and closed.
ALWAYS check that the side rubber cover is closed tightly.
DO NOT expose to extreme heat or cold. Battery power may be affected. Acceptable operation range is -14° f to 120°f.
Disclaimers: Neither seller nor manufacturer shall be liable for any injury, loss or damage, direct or consequential, arising out of the use of, or the inability to use, the Vaultek® LifePod® X. The user shall determine the suitability of the Vaultek® LifePod® X before the intended use and user assumes all risk and liability whatsoever in connection therewith.
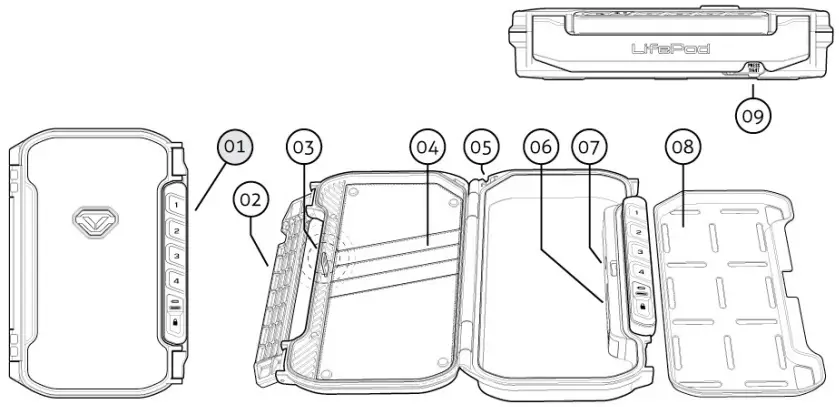
Get to Know Your Vaultek® LifePod® X
The Vaultek® LifePod® X is a pin access portable lockbox. It can be secured using the side compression latch to protect the interior from environmental factors such as water, with the added option of securely locking the unit with the keypad. It’s high impact polymer and portable design makes it ideal to transport and protect valuables and personal items. Powered by a AA battery (not included), LifePod® combines security with convenient access.
- Capacitive Keypad
- Side Compression Latch
- Anti-Impact Latch
- Lid Organizer
- Steel Security Cable Mount
- Battery Cover
- Program Button
- Removable Tray
- Micro-USB Cover and Pressure Release Valve


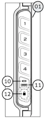
LifePod® X’s capacitive keypad has multiple LEDs built in to provide various feedback. The LEDs will illuminate as needed when the unit is awake. To wake the unit, tap the Lock Pad. - Battery Indicator: When the unit is awake, the battery indicator will light either GREEN or RED. Green indicates the battery has sufficient power, and RED indicates the battery is in need of replacement.
- Status LED: The status LED will provide feedback on various commands. It will light GREEN when correct codes are entered and RED when an incorrect code is entered, providing indication that keypad tampering has occurred.
- Lock Pad: The lock pad illuminates RED only when the unit has been locked using the keypad, and requires the use of the master code to unlock it. When locked, and the unit is awake, the lock icon will be solid RED.
TOUCH THE LOCK PAD (12) TO WAKE THE SAFE TO ENTER MASTER CODE OR WHEN PROGRAMMING.

Basic Operation: Security Features
Weather Protection: Your LifePod® can protect your belongings against the elements using the compression latch alone. For extra security, lock the unit with the Lock Pad (Figure A) as needed.
Anti-Impact Latch: Built to withstands forceful impacts.
High Impact Polymer: Engineered to be extremely strong and impact resistant.
Anti-Pry Design: The interior channels and gasket form a seal around the inner chamber making it difficult for tools and other small objects to penetrate.
Security Cable: An included security cable can be used to secure LifePod® to a stationary object.
Security Sleep Mode: Activates when (6) consecutive incorrect keypad entries are entered. LifePod® will not accept any entries for four minutes. If a key is pressed during this time, the status LED will flash RED and the alarm beeps.
Basic Operation: Locking
With a AA battery installed, you can now lock your LifePod® X. To lock, simply press and hold the Lock Pad for 3 seconds (Figure A).
IMPORTANT! Once locked you will be unable to unlock LifePod® X without the master code.
IMPORTANT! Before locking your LifePod®, always be sure the side compression latch is closed first. This will ensure the locking mechanism engages properly.
Basic Operation: Unlocking
With a AA battery installed, you can now unlock and lock your LifePod® X. Unique to LifePod® X is a capacitive numeric keypad with built-in proximity sensor. Touch the Lock Pad on the keypad to wake the lockbox before entering your master code.
IMPORTANT! Before entering your master code or when programming you need to wake the lockbox by placing your finger on the Lock Pad (Figure A) so all the keys light up RED.
IMPORTANT! Do not undo the side compression latch until the unit has been unlocked with the correct master code first. Undoing the compression latch first may cause binding on the lock mechanism and the unit will not unlock.
Master Code: Touch activated 4-digit backlit LED capacitive keypad.
First tap the Lock Pad to wake the unit up. When the keypad lights up, our LifePod® X is awake and ready to accept the code. Enter your master code. When the code is correct, the Status LED will turn GREEN and the lock will disengage. Default master code is 1-2-3-4.
IMPORTANT! Do not forget your master code. Once you engage the built-in lock system you will be unable to unlock LifePod® X without the master code.
For setup, tutorials, and FAQs visit www.vaulteksafe.com/support/ and select your model.
Product Registration
Vaultek® strongly encourages you to register your LifePod® X as soon as you receive it.
Registration provides many benefits including two year warranty, and technical support. Your Vaultek® LifePod® X has a unique product number on the inside of the battery door. You will need those numbers to register your new unit.
- Locate your product number. It is printed on the first page of this user manual and on the back of the battery door (Figure B).
- Please visit the Vaultek® website at vaulteksafe.com and click Support then click Registration from the available options.
- Enter the required information in the form and click submit.

For setup, tutorials, and FAQs visit www.vaulteksafe.com/support/ and select your model.
Battery Installation
LifePod® X is powered by a AA battery (not included). With a AA battery installed, you can unlock and lock your LifePod®X
Battery Tips!
- Under normal use the battery can last up to one year.
- We recommend using a brand name battery like Duracell or Energizer.
- In the event the battery dies you can plug LifePod® X into a power source using a micro-USB cable and open the unit by master code. Reference Using the Micro-USB Port on page 09.
- Undo the side compression latch to open your LifePod®X.
- Locate the battery cover on the front wall and remove by sliding open (Figure C).
- Be sure to snap the battery in the correct orientation (Figure D).
- When the battery is snapped in you will hear a short welcome tone and the keypad will light up.
Troubleshooting! If you snap the battery in and the keypad is flashing then your battery is likely low. Replace the battery with a new AA battery. We recommend a brand name battery like Duracell or Energizer.
Master Code Programming
First time users should change the default code as soon as possible to prevent unauthorized access when using the lock.
Code Requirement Tips!
- The default master code is 1-2-3-4.
- Your code can be a minimum of 4 digits, or as long as 8 digits.
- Two keys can not be pressed simultaneously.
- Programming a new code will overwrite your previous code.
IMPORTANT! The PROGRAM button will not function when locked. Be sure the LifePod® X latch is in the unlocked position.
- First open the unit and tap the Lock Pad (Figure E) to wake the unit up. When the keypad lights up, your LifePod® X is awake and ready for programming.
- While LifePod® X is awake press and hold the PROGRAM button for 3 seconds (Figure G) until ALL keys (1-4) turn solid RED.
- Enter your new code. Immediately press and hold the PROGRAM button a second time for 3 seconds (Figure G) until ALL keys (1-4) turn solid RED.
- Enter your new code a second time. Immediately press and hold the PROGRAM button a third time for 3 seconds (Figure G). The Status LED (Figure F) will flash GREEN and LifePod® will beep to confirm the code change is successful. If you make a mistake start over with step 1.
LED Indicators
LifePod’s capacitive keypad has multiple LEDs built in to provide various feedback. The LEDs will illuminate as needed when the unit is awake. To wake the unit, tap the lock pad
Battery Indicator (Figure H) When the unit is awake, the battery indicator will light either GREEN or RED. GREEN indicates the battery has sufficient power, and RED indicates the battery is in need of replacement.
Low Battery Warning (Figure H) The battery indicator will flash RED and sound several rapid beeps. This continues every 5 minutes until the battery dies to indicate the battery is in need of a replacement.
Status LED (Figure I) The Status LED will provide feedback on various commands. It will light GREEN when correct codes are entered and RED when an incorrect code is entered.
Tamper Indication (Figure I) If the Status LED is solid RED when awake, this means the unit has detected that an incorrect code has been entered. You can clear the tamper indicator by entering the correct master code.
Lock Pad (Figure ]) The Lock Pad illuminates RED only when the unit has been locked using the keypad, and requires the use of the master code to unlock it. When locked, and the unit is awake, the lock icon will be solid RED.
Control Sound
By default, the sound is ON.
To toggle the sound ON/OFF you need to wake up LifePod® X by tapping the center Lock Pad (Figure K) then press and hold keys ‘2’ and ‘3’ together. The Status LED (Figure L) will flash RED indicating OFF or GREEN indicating ON.
Using the Micro-USB Port
In the event the battery dies while traveling, you can power on the unit using the backup micro-USB port.
Simply open the side protective rubber cover (Figure M) and plug in a micro-USB cable (not included) into the port. While the cable is plugged into an external power source, LifePod® will function normally allowing you to enter the code.
For setup, tutorials, and FAQs visit www.vaulteksafe.com/support/ and select your model.
Using the Steel Security Cable
Included is a steel security cable to secure the LifePod® X to a fixed object.
- First wrap the looped end of the security cable around an object of your choice (Figure N).
- Pull the adapter piece through the loop, and cinch tight (Figure O)
- Place the adapter piece in its slot in the LifePod® X, and close the lid (Figure P).

For setup, tutorials, and FAQs visit www.vaulteksafe.com/support/ and select your model.
Customer Support
If you have a problem with your Vaultek® LifePod® X, we encourage you to visit www.vaulteksafe.com/support/ or email our support team at [email protected].
FAQ
If you have any additional questions or issues please email [email protected].
What do I do if the keypad is flashing RED after installing the battery? Your battery is likely low. Replace the battery with a new AA battery. We recommend a brand name battery like Duracell or Energizer.
Is LifePod® fireproof or waterproof? LifePod® is not fireproof, but is waterproof up to 1 foot deep for 30 minutes. It is designed to stay afloat in the water with weight up to 1.2lb.
What is the micro-USB port for? In the event the battery dies while traveling, you can power on the unit using the backup micro-USB port.
Does LifePod® X include keys? No. The master code is used to unlock LifePod® X.
STOP! Do not return to retailer. If you have any questions about your Vaultek® safe or need help configuring the system, please email us at [email protected].
For setup, tutorials, and FAQs visit www.vaulteksafe.com/support/ and select your model.
Troubleshooting
If you have any additional questions or issues please email [email protected].
Lid is not opening:
Due to LifePod’s airtight seal and pressure changes when shipping the lid can stick and be difficult to open. If the lid does not open, release the pressure by opening the side micro-USB cover and the lid can freely open.
Keypad is Flashing RED:
The battery is likely bad. Test the normal function by removing the battery and plugging in a micro-USB cable to the micro-USB port. If the unit resumes normal function then the installed battery is bad. We recommend a brand name battery like Duracell or Energizer.
New Battery is Not Working:
Test normal function by removing the battery and plugging in a micro-USB cable to the micro-USB port to power the unit so you can unlock and replace the battery. We recommend a brand name battery like Duracell or Energizer.
STOP! Do not return to retailer. If you have any questions about your Vaultek® safe or need help configuring the system, please email us at [email protected].
For setup, tutorials, and FAQs visit www.vaulteksafe.com/support/ and select your model.
FCC This device complies with part 15 of the FCC rules. Operation is subject to the following two conditions:
(1)this device may not cause harmful interference, and (2)this device must accept any interference received, including interference that may cause undesired operation. NOTE: The manufacturer is not responsible for any radio or TV interference caused by unauthorized modifications or changes to this equipment. Such modifications or changes could void the user’s authority to operate the equipment.




















