
User Manual
Smart Lock Box

Model : K1
Product

| 1. Numeric Button 2. Indicator Light 3. Hanging Hook 4. Battery Cover 5. Screw Hole for Battery Cover 6. Screwdriver Storing Place | 7. Battery Compartment 8. Connecting Hook for Battery Compartment and Storing Space 9. Lock Latch 10. Key Hanging Hook 11. Hole for Wall Hanging 12. Slide Switch |
IN THE BOX
| Lockbox K1 *1 AA Batteries *2 Quick Start Guide *1 Wall Anchors *4 Wall Anchor Screws *4 | Shackle *1 Battery Cover *1 Screwdriver *1 Battery Cover Screws *8 Silicone Plugs *6 |
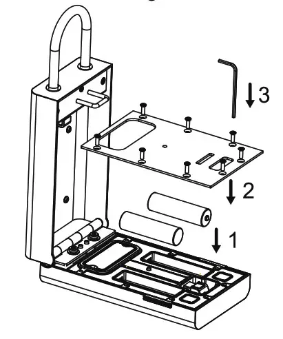
Set up
Battery Loading
- Put the batteries into the battery compartment (7).
- Put the battery cover(4) upon the compartment.
- Fastening the screws(Attention: To be able to work outside and achieve water proof feature, you must fasten all eight screws)

Fixation method
Two methods of fixation
A. Installition on the wall through the screws
B. Installition on the handles through the hook
- Prass the slide switch(12) towards right direction.
- Holding this switch and insert the hanging hook(3).
- Adjust the different gear into the right position.
- Loosen the switch, Finish the installation.

APP Download
- Download APP and finishing the binding process. Setting your password according to the guide.
- Also you can share that to your family and friend. ( Please keep your password properly)
https://a.smart321.com/tacklifecom
Start to enjoy your Lockbox
Trouble shooting:
- What should I do if the lock box did not open after inputting correct code?
A. Please check the battery level,|f low battery or no power, you can using the type-c to power up the lock box and try to open it again.
B. Press the box shell ,make it close properly. (sometimes it could not unlock because of the interior space is overloaded)
FCC Regulatory Compliance
Changes or modifications not expressly approved by the party responsible for compliance could void the user’s authority to operate the equipment.
This equipment has been tested and found to comply with the limits for a Class B digital device, pursuant to Part 15 of the FCC Rules. These limits are designed to provide reasonable protection against harmful interference in a residential installation. This equipment generates, uses and can radiate radio frequency energy and, if not installed and used in accordance with the instructions, may cause harmful interference to radio communications. However, there is no guarantee that interference will not occur in a particular installation.
If this equipment does cause harmful interference to radio or television reception, which can be detennined by turning the equipment off and on, the user is encouraged to try to correct the interference by one or more of the following measures:
- Reorient or relocate the receiving antenna.
- Increase the separation between the equipment and receiver.
- Connect the equipment into an outlet on a circuit different from that to which the receiver is connected.
- Consult the dealer or an experienced radio / TV technician for help.
RF Exposure Compliance
This equipment complies with FCC radiation exposure limits set forth for an uncontrolled environment. This transmitter must not be co-located or operating in conjunction with any other antenna or transmitter. This equipment should be installed and operated with minimum distance 20cm between the radiator and your body.
Caution
- Risk of explosion if the battery is replaced by an incorrect type
- disposal of a battery into fire or a hot oven, or mechanically crushing or cutting of a battery, that can result in an explosion;
- leaving a battery in an extremely high temperature surrounding environment that can result in an explosion or the leakage of flammable liquid or gas;
- a battery subjected to extremely low air pressure that may result in an explosion or the leakage of flammable liquid or gas.
This davice complies with Part 15 of the FCC Rules. Operation is subject to the following two conditions: (1) this device may not cause harmful interference, and (2) this device must accept any interference received, including interference that may cause undesired operation.
https://www.tacklifetools.com/pages/product-registration
Warranty Registration
We are glad to invite to register the warranty information at www.tacklifetools.com. After registration, you may kindly enjoy the exclusive service
| Tel:+1 347-307-8987 Mon-Fri 9AM-SPM (PT) | www.facedook.com/Tackiite.US | ||
| Autey Technology Co., LTD. | [email protected] | ||
| www.tacklifetools.com | Room 102, Building P09, South China City Electronic trading center, Longgang District Shenzhen |
Made in China




















