
Mini 2708W Door-Entry Phone with Handset
Instruction Manual
TECHNICAL MANUAL
Mini 2708W/A Door-entry phone with the handset – Simplebus1
Warning
Intended use
This Comelit product has been designed and manufactured for use in the creation of audio and video communication systems in residential, commercial, industrial and public buildings.
Installation
All activities connected to the installation of Comelit products must be carried out by qualified technical personnel, with careful observation of the indications provided in the Manuals / Instruction sheets supplied with those products.
Wires
Disconnect the power supply before carrying out any operations on the wiring. Use wires with a cross-section suited to the distances involved, observing the instructions provided in the system manual. We advise against running the system wires through the same duct as power cables (230V or higher).
Safe usage
To ensure Comelit products are used safely:
- carefully observe the indications provided in the Manuals / Instruction sheets,
- make sure the system created using Comelit products has not been tampered with / damaged.
Maintenance
Comelit products do not require maintenance aside from routine cleaning, which should be carried out in accordance with the indications provided in the Manuals / Instruction sheets. Any repairs must be carried out:
- for the products themselves, exclusively by Comelit Group S.p.A.,
for the systems, by qualified technical personnel.
Disclaimer
Comelit Group S.p.A. does not assume any responsibility for
- any purpose other than the intended use,
- failure to observe the indications and warnings contained in this Manual / Instruction sheet. Comelit Group S.p.A. reserves the right to change the information provided in this Manual / Instruction Sheet at any time and without prior notice.
Description
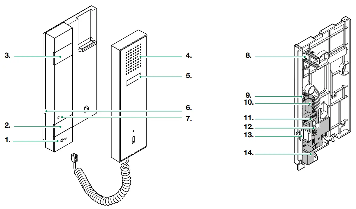
Miniseries door-entry phone with handset for Simplebus 1 audio systems. Equipped with a key button, a button for additional services such as calls to the porter switchboard…, call volume adjustment, Silent mode (Privacy) and floor call input. Correct positioning of the handset on the base is facilitated by invisible magnetized panels. The additional board art. 2735 is available to purchase separately, for an additional button with voltage-free contacts and call repetition.
- Lock-release button
- P1 button: Generic actuator/Switchboard call
- Additional button
On card 2735, available to purchase separately. - Loudspeaker
- Audio hook
Do not press and hold the audio hook while the handset is lifted! - Ringtone volume adjuster
Top position = Ringtone at maximum volume Central position = Ringtone at medium volume Bottom position = Ringtone in silent mode (Privacy) - Red: silent mode enabled
Remove the 2 elements only if the additional button onboard art. 2735 is being used.- Connector for additional board art. 2735
- Terminal block M1 CFP CFP Floor door call input L L Bus line connection
- DIP-switch for setting user code (Paragraph “Programming” on page 6)
- JP1 jumper for selecting the Generic actuator or Switchboard call function of button P1
A = Generic actuator
C = Switchboard call - 3-position ringtone volume selector
- Handset connector
Technical characteristics
GENERAL DATA
| Product height (mm) Product width (mm) Product depth (mm) Product weight (g) Product colour Material Surface-mounted Desk base-mounted | 190 103 28 300 White RAL9003 ABS Yes Yes, with specific accessory |
COMPATIBLE SYSTEMS
| Simplebus1 audio | Yes |
AUDIO SPECIFICATIONS
| Microphone Loudspeaker Technologies implemented | 9.6 (ø) x 6.9mm, omnidirectional 50 mm (Ø), 50 Ohm, 0.25W Full-Duplex |
ELECTRICAL SPECIFICATIONS
| Type of power supply Power supply voltage Maximum absorption (W) | Power supply via video entry bus 22 – 28 VDC 0.6 |
HARDWARE CHARACTERISTICS
| Type of buttons Service buttons Terminals A number of inputs (no.) | Mechanical Lock-release L L CFP CFP 1 |
SETTINGS
| Ringtone volume | Yes |
ENVIRONMENTAL AND CONFORMITY SPECIFICATIONS
| Operating temperature (°C) Operating humidity (max RH – %) Environmental class Conformity and Certifications | -5 to 40 25 to 75 III RoHS II – 2011/65/EU (EN 50581:2012), EMC 2014/30/EU (EN 61000-6-1:2007, EN 61000-6-3:2007+A1:2011) |
MAIN FUNCTIONS
| Lock-release Actuator control Switchboard call Input for floor door call Silent mode (Privacy) Call repetition | Yes Yes Yes Yes Yes Yes, with additional board art. 2735 (not included) |
Installation

Connections
Connection to the door entry riser and the floor door call button
Where multiple door-entry phones have the same user code, connect the CFP button on one only; all the devices will ring simultaneously.
20 m MAX – Use shielded cable for the connection and do not route the cables in the vicinity of heavy inductive loads or power supply cables (230 V/400 V).
Programming
- Each door-entry phone in the system is identified by means of its own code. This code must be set using the DIP switch on the phone card.
- Refer to the Addressing table to identify the DIP-switch combination corresponding to the address you want to set.
- Coding can take place at any time, even without a power supply.
Addressing table
* NOTE: Code 240 is reserved for the porter switchboard
System performance and layouts
For further information of system performance and to view installation layouts, click on the system type that best meets your requirements:
Simplebus1 Audio for the creation of audio systems for residential complexes
CERTIFIED MANAGEMENT SYSTEMS
![]()
www.comelitgroup.com
Via Don Arrigoni, 5 – 24020
Rovetta (BG) – Italy
1 ed. 1rev. 12/2020 cod. 2G40002508





















