INSTALLATION
INSTRUCTIONS
36” and 48”
Professional Rangetop
Safety Information
Have a question or need assistance with your appliance? Try the Monogram website 24 hours a day, any day of the year! You can also shop for more great Monogram products and take advantage of all our online support services designed for your convenience. In the US: monogram.com
IN THE COMMONWEALTH OF MASSACHUSETTS
- This product must be installed by a licensed plumber or gas fitter.
- When using ball-type gas shut-off valves, they shall be the T-handle type.
- A flexible gas connector, when used, must not exceed 5 feet.
WARNING
FIRE OR EXPLOSION HAZARD
If the information in this manual is not followed exactly, a fire or explosion may result causing property damage, personal injury, or death. Installation must be performed by a qualified installer. Read these instructions completely and carefully. Installation of this range must conform with local codes, or in the absence of local codes, with the National Fuel Gas Code, ANSI Z223.1/NFPA.54, latest edition. In Canada, installation must conform with the current Natural Gas Installation Code, CAN/CGA-B149.1, or the current Propane (LP) Installation Code, CAN/CGA-B149.2, and with local codes where applicable. This range has been design-certified by CSA International according to ANSI Z21.1, the latest edition, and the Canadian Gas Association according to CAN/CGA-1.1 latest edition.
When installing a gas appliance the use of old flexible connectors can cause gas leaks and personal injury. Always use a NEW flexible connector. Leak testing of the appliance shall be conducted according to the manufacturer’s instructions.
The range must be electrically grounded in accordance with local codes or, in the absence of local codes, in accordance with the National Electrical Code (ANSI/ NFPA 70, latest edition). In Canada, electrical grounding must be in accordance with the current CSA C22.1 Canadian Electrical Code Part 1 and/or local codes. See Electrical Connections in this section.
Do not install this product with an air curtain hood or another range hood that operates by blowing air down on the cooktop. This airflow may interfere with the operation of the gas burners resulting in fire or explosion hazards.
BEFORE YOU BEGIN
Read these instructions completely and carefully.
- IMPORTANT — Save these instructions for the local inspector’s use.
- IMPORTANT — Observe all governing codes and ordinances.
- IMPORTANT—Remove all packing material and literature from the oven before connecting the gas and electrical supply to the range.
- IMPORTANT — To avoid damage to your cabinets, check with your builder or cabinet supplier to make sure that the materials used will not discolor, delaminate or sustain other damage. This oven has been designed in accordance with the requirements of UL and CSA International and complies with the maximum allowable wood cabinet temperatures of 194°F (90°C).
- Note to Installer – Be sure to leave these instructions with the consumer.
- Note to Consumer – Keep these instructions with your Owner’s Manual for future reference.
- Servicer – The electrical diagram is in an envelope attached to the back of the range.
- Proper installation is the responsibility of the installer.
- Product failure due to improper installation is not covered under warranty.
- For Monogram Parts and Accessories, visit our website at monogram.com/ownershipiparts/
- If you received a damaged range top, you should contact your dealer.
IF SOLD OUTSIDE THE U.S. AND CANADA
WARNING
If you wish to use this product with Liquefied Petroleum (LP) gas containing greater than 10% butane, you must purchase the butane conversion kit #ZXBUPRO1 To order, please call 1.888.664.8403 or 1.787.276.4051. Failure to do so may result in carbon monoxide or fire hazards.
VENT HOOD COMBINATIONS
A suitable overhead vent hood is required for models with a grill and is recommended for all other models. Due to the high heat capacity of this unit, particular attention should be paid to the hood and ductwork installation to assure it meets local building codes. Clearances to horizontal surfaces above the range, measured to the cooking surface are below. Failure to comply may result in a fire hazard.
- Installations without a hood require a 48″ minimum for combustibles, except model ZGU486 where a suitable vent hood is required.
- A custom hood installation with exposed horizontal combustibles surfaces must have an Auto-On feature.
- For other installations with a hood, refer to hood installation instructions for specific hood clearances.
CAUTION
These range tops are extremely heavy. Some disassembly will reduce the weight considerably. Due to the weight and size of the range top and to reduce the risk of personal injury or damage to the product: TWO PEOPLE ARE REQUIRED FOR PROPER INSTALLATION OF range tops. THREE PEOPLE ARE REQUIRED FOR THE PROPER INSTALLATION OF 48″ RANGE TOPS.

Design Information
PRODUCT DIMENSIONS AND CLEARANCES FOR 48” MODELS
![]() | ![]() |
WARNING
A suitable overhead vent hood is required for model ZGU486. A custom hood installation with exposed horizontal combustible surfaces must have an Auto-On feature. Refer to hood installation instructions for specific hood clearances. The surface of the entire back wall above the range and below the hood must be covered with a non-combustible material such as metal, ceramic tile, brick, marble, or other stone.
CAUTION
To prevent drafts from affecting burner operation, seal all openings on the floor under the appliance and behind the appliance wall. ** As defined in the National Fuel Gas Code (ANSI Z223.1/CSA B149.1, Current Edition). Clearances from non-combustible materials are not part of the ANSI Z21.1/CSA 1.1 scope and are not certified by CSA. Clearances less than 12″ must be approved by local codes and/or the authority having jurisdiction.
* The opening between a 4″ high backsplash must be 48″ to allow the range top to slide back against the wall.
ADDITIONAL CLEARANCES:
Allow 12″ minimum clearance to an adjacent wall on each side. Working areas adjacent to the range top should have an 18″ minimum clearance between the countertop and the bottom of the wall cabinet. For island installation, maintain 2-1/2 in. minimum from cutout to back edge of countertop and 3 in. minimum from cutout to side edges of countertop (see top view).

PRODUCT DIMENSIONS AND CLEARANCES FOR 36” MODELS
![]() | ![]() |
WARNING
Installations without a hood require a 48″ minimum for combustibles. A custom hood installation with exposed horizontal combustible surfaces must have an Auto-On feature. Refer to hood installation instructions for specific hood clearances. The surface of the entire back wall above the range and below the hood must be covered with a non-combustible material such as metal, ceramic tile, brick, marble, or other stone.
CAUTION
To prevent drafts from affecting burner operation, seal all openings on the floor under the appliance and behind the appliance wall. ** As defined in the National Fuel Gas Code (ANSI Z223.1/CSA 8149.1, Current Edition). Clearances from non-combustible materials are not part of the ANSI Z21.1/CSA 1.1 scope and are not certified by CSA. Clearances less than 12″ must be approved by local codes and/or the authority having jurisdiction.
ADDITIONAL CLEARANCES:
Allow 12″ minimum clearance to an adjacent wall on each side. Working areas adjacent to the range top should have an 18″ minimum clearance between the countertop and the bottom of the wall cabinet. For island installation, maintain 2-1/2 in. minimum from cutout to back edge of countertop and 3 in. minimum from cutout to side edges of countertop (see top view).

PRODUCT DIMENSIONS AND CLEARANCES
48″ and 36″ Rangetop Models
The 2″ Standard cutout referenced on the previous page will result in the control panel and bullnose projecting forward from a standard 24″ depth cabinet and a countertop cutout depth of 25-1/4″ (1-1/4″ overhang) as shown in the left image below. This cutout dimension may change for the range top to be more recessed with a deeper countertop cutout depth as shown in the example picture on the right. All dimensions below are approximate dimensions.


Include the overhang of the rear trim when the countertop continues behind the product. The overhang is decorative only. The weight of the range top is fully supported by the side trims.
Installation Information
INSTALLATION AT HIGH ALTITUDE
Over 6000ft, product configured for natural gas or propane requires installation of kit (WB28X39726 for natural gas and WB28X39727 for propane gas). Follow the instructions included with the kit.
MATERIALS PROVIDED

MATERIALS REQUIRED (not provided)

NOTE: Purchase a new flexible line; do not use the previously used flexible gas line.
TOOLS REQUIRED

Installation
REMOVE PACKAGING
CAUTION
Stand clear. The ends of the cut metal banding may snap toward you.
- Cut the metal banding.
- Remove packaging tape and foam. Dispose of packaging materials properly.
- Remove grill/griddle covers, grill grate, and burner grates.
- Lift out cast-iron griddle flue cover, grease troughs, and pads.
- Cut the ties holding the grill grate to the grill frame.

- Lift off burner caps and remove foam pad, then lift-off burner heads and remove foam pad.

CUT THE COUNTERTOP OPENING

48″ wide models are designed to fit in 48″ or wider base cabinets
Measure carefully when cutting the countertop. Make sure the sides of the opening are parallel.
- Allow 8″ free space below the top surface of the countertop.
- Allow additional clearances below the burner box to install the regulator and make house supply connections. Use a 90° elbow to route the gas connections and limit interference with drawers or other cabinetry features.
- These range tops are designed to hang from the countertop by their side flanges.
- Smooth any rough edges on the countertop before installing the range top.
— Formica countertop edges must be finished. The countertop must be strong enough to support the weight of the range top.
36″ wide models are designed to fit in 36″ or wider base cabinets
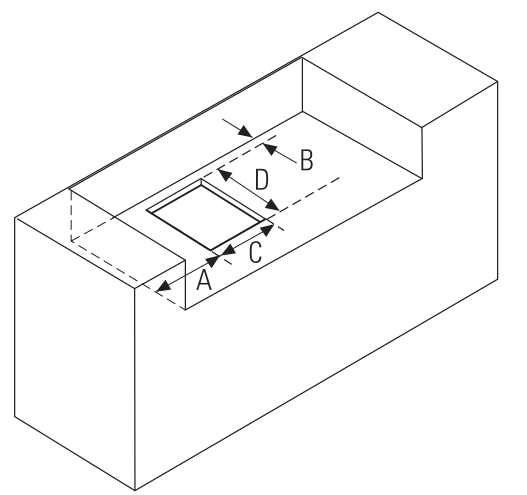
Cutout Opening with Optional False Bottom
| Dimensions | ||||
| A (Dia.) | B | C | D | |
| 36″ Rangetop | 7-3/8″ | 1-1/2″ | 7-1/2″ | 11-1/8″ |
| 48″ Rangetop | 8-1/4″ | 1-1/2″ | 7-1/2″ | 11-1/8″ |
- You can construct the cutout with an optional false bottom to conceal the bottom of the range top. An optional false bottom must not structurally support the range top in any way as it is designed to hang from the countertop by their side flanges.
— Build the false bottom using a solid material; cut a 7-1/2″ x 11-1/8″ hole in the left rear corner for the gas inlet and power cord clearances.
INSTALL range top
- Side the range top into the opening. Make sure the range top is evenly seated and supported.
- A hold-down strap with screws is provided to secure the range top to the rear or side cabinet walls.
- Remove the hold-down strap from the back of the range top. Attach one end of the strap to the back of the range top.
- Secure the other end of the strap as high as possible to the cabinet back wall or adjacent cabinet. Keep the strap as short as possible for better security.

CONVERSION TO PROPANE (LP) OR NATURAL GAS
The pressure regulator and the burner orifices are set for natural gas at the factory. To operate the range top with propane (LP), the regulator and burner orifices must be converted. The conversion must be performed by qualified propane (LP) gas installer.
Keep these instructions and all orifices in case you want to convert them back to natural gas.

GAS SUPPLY
WARNING
Fire Hazard: Do not use a flame to check for gas leaks.
WARNING
Explosion Hazard: Do not exceed 25 ft-lbs of torque when making gas line connections. Overtightening may damage the pressure regulator resulting in fire or explosion hazards.
Gas Pressure Regulator
You must use the gas pressure regulator supplied with this range top. For proper operations the inlet pressure on the regulator should be as follows:
Natural Gas:
Minimum pressure: 6″ of Water Column
Maximum pressure: 13″ of Water Column
Propane (LP) Gas:
Minimum pressure: 11″ of Water Column
Maximum pressure: 13″ of Water Column If you are not sure about the inlet pressure contact your local gas supplier.
Shut off the main gas supply valve before disconnecting the old range top and leave it off until the new hook-up has been completed. Don’t forget to relight the pilot on other gas appliances when you turn the gas back on.
Because hard piping restricts movement of the range top, the use of a CSA International-certified flexible metal appliance connector is recommended unless local codes require a hard-piped connection. If the hard piping method is used, carefully align the pipe; the range top cannot be moved after the connection is made. To prevent gas leaks, put pipe thread sealant on, or wrap pipe thread tape with Teflon* around all-male (external) pipe threads.
A. Install provided pressure regulator directly to the gas inlet pipe of the range top. Refer to the arrow on the back of the regulator for gas flow direction. Ensure the front of the regulator is facing towards the cabinet front, easily accessible through the cabinet doors.
B. Install a manual shut-off valve in the gas line in a location easily accessible through the cabinet doors.
C. When all connections have been made, ensure all gas controls are in the off position and turn on the main gas supply valve. Use a liquid leak detector at all joints and connections to check for leaks in the system.
*Teflon: Registered trademark of DuPont
GAS SUPPLY (cont.)
When using pressures greater than 1/2 PSIG to pressure test the gas supply system of the residence, disconnect the range top and individual shut-off valve from the gas supply piping. When using pressures of 1/2 PSIG or less to pressure test the gas supply system, simply isolate the range top from the gas supply system by closing the individual shut-off valve. When checking for proper operation of the regulator, the inlet pressure must be at least 1″ greater than the operating (manifold) pressure as given on the rating label of the product.
CONNECTOR HOOKUP
TYPICAL INSTALLATION WITH NO OBSTRUCTION BELOW RANGE TOP
| A. 3/4″ NPT male pipe thread B. Regulator provided with the unit: • Outlet – 3/4’s NPT female pipe thread • Inlet – 1/2″ NPT female pipe thread C. Adapter D. Flexible connector E. Adapter F. Manual shut-off valve G. Gas pipe 1/2″ or 3/4″ | ![]() |
ALTERNATE INSTALLATION WITH OBSTRUCTION BELOW RANGE TOP
| A. 3/4″ NPT male pipe thread B. Elbow C. Adapter D. Flexible connector (allows passage through cabinet wall) E. Adapter F. Regulator provided with the unit: • Outlet – 3/4″ NPT female pipe thread • Inlet – 1/2″ NPT female pipe thread G. Gas pipe H. Manual shut-off valve I. Gas pipe 1/2″ or 3/4″ | ![]() |
ELECTRICAL CONNECTIONS
WARNING
Shock Hazard: This appliance must be properly grounded. Failure to do so can result in electric shock. Electrical Requirements – 120-volt, 60 Hertz, properly grounded dedicated circuit protected by a 15-amp or 20-amp circuit breaker or time-delay fuse.
NOTE: The use of automatic, wireless, or wired external switches that shut off power to the appliance is not recommended for this product.
Grounding
The power cord of this appliance is equipped with a three-prong (grounding) plug which plugs into a standard three-prong grounding wall receptacle to minimize the possibility of electric shock hazards from this appliance. The customer should have the wall receptacle and circuit checked by a qualified electrician to make sure the receptacle is properly grounded.
Where a standard two-prong wall receptacle is encountered, it is the personal responsibility and obligation of the customer to have it replaced with a properly grounded three-prong wall receptacle.
DO NOT, UNDER ANY CIRCUMSTANCES, CUT OR REMOVE THE THIRD (GROUND) PRONG FROM THE POWER CORD. DO NOT USE AN ADAPTER. DO NOT USE AN EXTENSION CORD.
Ground Fault Circuit Interrupters (GFCIs) are not required or recommended for gas range receptacles. Performance of the range will not be affected if operated on a GFCI-protected circuit but occasional nuisance tripping of the GFCI breaker is possible.

CHECK BURNERS
WARNING
Fire or Explosion Hazard: Do not operate the burner without all burner parts in place.
A. Burners – Place surface burners into corresponding positions on the cooktop.
B. Caps – Place caps on proper size burner.
C. Grates – The left and right grates are interchangeable. Place the grates on the cooktop.

CHECK SURFACE BURNERS
Push and turn a knob to the LITE position. A clicking sound indicates the proper operation of the ignition system. When lighting any burner, sparks will appear at all burners but gas flows from only the one selected. Once the air is purged from the supply line, the burner should light within 4 seconds. Afterburner lights, rotate the knob out of the LITE position. Try each burner in succession until all burners have been checked.
Quality of Flames
Determines the quality of flames visually. Normal burner flames should look like (A) or (B).
Long, bright yellow flames are not normal. Normal flames may show signs of an orange tint when well heated or signs of flickering orange due to particles in the gas or air.
FINALIZE INSTALLATION
Place the burner grates over the burners. The grates should be seated and should not rock.
The griddle is secured with screws. It is designed to be stationary and should not be removed. The griddle has two leveling screws beneath the rear flue cover that can be used to adjust to the desired slope.
The two inner screws are clamping screws for securing the griddle in place. Loosen these two screws before leveling. Do not remove these two screws. The two outer screws are leveling screws. Do not remove these two screws. They can be turned to level the griddle or to provide a forward slope to help grease and oils drain away from the food being cooked. After leveling the griddle, hand-tighten the clamping screws; do not over-tighten.
WHEN ALL HOOKUPS ARE COMPLETED
Make sure all controls are left in the off position. Make sure the flow of combustion and ventilation air to the range is unobstructed. Check that all packing materials and tape have been removed. This will include tape on the metal panel under control knobs (if applicable), adhesive tape, wire ties, cardboard, and protective plastic. Failure to remove these materials could result in damage to the appliance once the appliance has been turned on and surfaces have heated.
Notes
NOTE: While performing installations described in this book, safety glasses or goggles should be worn.
NOTE: Product improvement is a continuing endeavor at GE Appliances. Therefore, materials, appearance, and specifications are subject to change without notice.
Printed in Mexico
31-2000679 Rev. 3

























