JET 728100 Universal Stand Instructions
IMPORTANT SAFETY INSTRUCTIONS
- Review all instructions before assembling the table. Improper assembly can cause personal injury and/or property damage.
- Do not exceed maximum load for the universal stand.
- Do not stand on this product.
- WARNING: This product can expose you to chemicals including lead and cadmium which are known to the State of California to cause cancer and birth defects or other reproductive harm. For more information go to http://www.p65warnings.ca.gov.
Tools required for assembly
10mm and 16mm wrenches
(a manual ratcheting socket wrench will speed assembly time)
Shipping contents
- 1 Table
- 4 Upper Braces (2 Long, 2 Short)
- 4 Lower Braces (2 Long, 2 Short)
- 4 Vertical Legs
- 4 Adjust Legs
- 4 Leveling Pads
- 1 Instructions and Parts List
- 1 Product Registration Card
- 1 Hardware Package (728100-HP)
- 44 Carriage Bolt M6-1.0×16 – AA
- 48 Flat Washer 6mm– BB
- 48 Lock Washers 6mm –CC
- 48 Hex Nut M6-1.0 –DD
- 4 Carriage Bolt M6-1.0×36 – EE

Assembly instructions
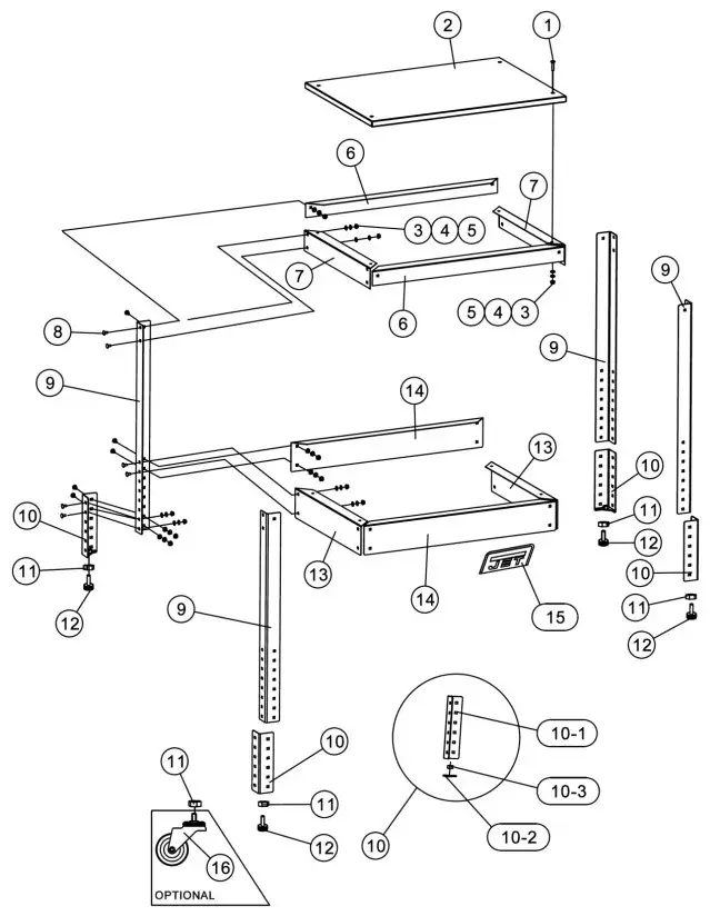
Use the exploded view and parts list as guides to assembly. Make all leg and brace fasteners only finger tight until the entire unit has been assembled.
- Attach the two short upper braces (#7) to the table top (#2). Finger tighten only.
- Place table top with short braces upside down; use a mat or piece of cardboard underneath to prevent scratching.
- Assemble the four main legs (#9) and upper long braces (#6). Finger tighten only.
- Determine the height desired, then connect the adjustment legs (#10) to the main legs. These can be repositioned later if needed. (It is recommended that each adjustment leg be secured by at least 4 screws to the main leg.)
- Determine placement of lower braces (#13/14) and assemble them to the main legs/adjustment legs.
- Install the leveling foot pads (#12) and tighten each hex nut (#11) against the adjustment leg. If using the optional swivel casters, install those instead of the pads.
- Turn the unit over and push down lightly to make sure stand rests evenly upon the floor.
- Fully tighten all fasteners. Take care to not overtighten. Make any additional leveling adjustments using the pads.
Holes are provided in the lower braces for attaching a user-made shelf, not provided.
CAUTION: If casters are used, they must be locked before operating a machine on the stand.
Exploded View

Parts List
| Index No | Part No | Description | Size | Qty |
| 1 | 728100-001 | Carriage Bolt | M6-1.0×40 | 4 |
| 2 | 728100-002 | Table (Plywood Top) | 1 | |
| 3 | TS-1550041 | Flat Washer | 6mm | 48 |
| 4 | TS-2361061 | Lock Washer | 6mm | 48 |
| 5 | TS-1540041 | Hex Nut | .M6-1.0 | 48 |
| 6 | 728100-006 | Upper Brace Long | 2 | |
| 7 | 728100-007 | Upper Brace Short | 2 | |
| 8 | 728100-008 | Carriage Bolt | M6-1.0×16 | 44 |
| 9 | 728100-009 | Vertical Leg | 4 | |
| 10 | 728100-010 | Adjustment Leg Weldment (#10-1 thru 10-3) | 4 | |
| 10-1 | Adjustment Leg | 4 | ||
| 10-2 | Glide Plate | 4 | ||
| 10-3 | Hex Nut | M10 | 4 | |
| 11 | TS-2311101 | Hex Nut | M10 | 4 |
| 12 | 728100-012 | Bolt with Leveling Pad | M10 | 4 |
| 13 | 728100-013 | Lower Brace Short | 4 | |
| 14 | 728100-014 | Lower Brace Long | 2 | |
| 15 | 728100-015 | JET Logo with Adhesive | 4.75”x3.3 | 2 |
| 728100-016 | ID Label 728100 (not shown) | 1 | ||
| ` | 728100-HP | Hardware Package (#1, #3, #4, #5, #8) | 1 |
Optional Accessory* – Swivel Caster
| 16 | 98-0129 | Swivel Casters (set of 4) | 1 set |
* Optional Accessory – see your dealer to order.
Specifications for JET Universal Stand
| Stock number | 728100 |
| Table size (D x W) | 20 x 29 in. (508 x 736.6 mm) |
| Height range | 30 to 35 in. (762 to 889 mm) |
| Height adjustment | 5.10 in. (130 mm) |
| Load capacity | 400 lb. (181.5 kg) |
| Table material | MDF/Vinyl |
| Assembled weight | 43 lb. (19 kg) |
| Shipping weight | 47 lb. (21 kg) |
The 728100 Universal Stand will accommodate most bench top machines, including the following models:
| Brand | Model | Stock No. |
| JET | 13″ Planer | 722130 |
| JET | 8″ Jointer/Planer | 707400 |
| JET | 8′ Grinder | 726101 |
| JET | 1020 Drum Sander | 723510 |
| JET | 9″ Belt/Disc Sander | 708595 |
| JET | Spindle Sander 5″ | 708404 |
| JET | 18′ Scroll Saw | 727300B |
| JET | 22″ Scroll Saw | 727200B |
| JET | 10″ Miter Saw | 707210 |
| JET | 12″ Miter Saw | 707212 |
| JET | JET Mortiser | 708580 |
| Powermatic | PM Mortiser | 1791310 |
| JET | 10″ Band saw | 714400 |
| JET | 12″ Drill Press | 716000 |
| JET | 15″ Drill Press | 716200 |
| Powermatic | PM1250 Air Filtration | 1791250 |
Support
427 New Sanford Road
LaVergne, Tennessee 37086
Phone: 800-274-6848
www.jettools.com

















