COSMO 1879872COM Westerleigh TV Stand

THIS INSTRUCTION BOOKLET CONTAINS IMPORTANT SAFETY INFORMATION. PLEASE READ AND KEEP FOR FUTURE REFERENCE.
Do Not Return This Product!
Contact our customer service team for help first
Call: 1-800-489-3351 (toll free)
Monday-Friday 9am – 5pm CST
Visit: www.ameriwoodhome.com.
WARNING
- Unit can tip over causing severe injury or death.
- Anchor unit to stud in wall (if instructed to)
- Do not allow children climb on unit
- Put heavy items on lower shelves or draw
Contact Us
Do NOT return this product! Contact our friendly customer service team first for help
Visit ameriwoodhome.com
Helpful Hints
- PEOPLE NEEDED FOR ASSEMBLY: 1-2
- ESTIMATED ASSEMBLY TIME: 1 HOUR

- Open your item in the area you plan to keep it for less heavy lifting
- Identify, sort and count the parts before attempting assembly
- Compression dowels are tapped in with a hammer
- Slides are labeled with a R (right) and L (left) for proper placement
- Make sure to always face the point on the top of the Cam Lock towards the outer edge
- Use all the nails provided for the back panel and spread them out equally
- Back Panel must be used to make sure your unit is sturdy
- Do NOT use harsh chemicals or abrasive cleaners on this item
- Never push, pull, or drag your furniture
Before You Start
- Read through each step carefully and follow the proper order
- Separate and count all your parts and hardware
- Give yourself enough room for the assembly process
- Have the following tools: Flat Head Screwdriver, #2 Phillips Head Screwdriver and Hammer
- Caution: If using a power drill or power screwdriver for screwing,
- please be aware to slow down and stop when screw is tight.
- Failure to do so may result in stripping the screw
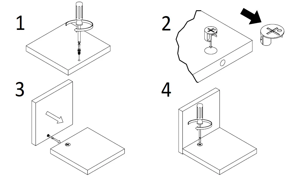
Cam Lock Fastening System
This Cam Lock Fastening System will be used throughout the assembly process.
Board Identification
Part List
INSTALLATION STEPS


Maximum Loads
This unit has been designed to support the maximum loads shown. Exceeding these load limits could cause sagging, instability, product collapse, and/or serious injury
Warning: Please make sure that all the objects are removed before moving the assembled unit. The unit must be lifted by more than one person, not dragged or pushed. Failure to do so will cause product damage, instability, product collapse, and/or serious injury
Certificate of Conformity
- This certificate applies to Dorel Home Furnishings, Inc. products identified by this instruction manual.
- This certificate applies to compliance of this product with the CPSC Ban on Lead-Containing Paint ( 16 CFR 1303).
Dorel Home Furnishings, Inc.
410 East First Street South,
Wright City, MO 63390
636-745-3351 - This product is distributed by:
- Site of Manufacturer: Muar, Malaysia.
- See front page of the instruction manual for date of the manufacturer.
Register your product to receive the following:
- New trend details -sneak peek on what’s new
- Surveys have a voice within our community
- Exclusive deals and discount codes
- Quick and easy replacement part service
- To register your product, visit Ameriwoodhome.com
Visit your local retailer’s website, rate your purchased product and leave us some feedback!
We would like to extend a big “Thank You” to all of our customers for taking the time to assemble this Ameriwood Home product, and to give us your valuable feedback



















