COSMOLIVING 810589007 59.61 Inch Westerleigh White TV Stand

INTRODUCTION
THIS INSTRUCTION BOOKLET CONTAINS IMPORTANT SAFETY INFORMATION. PLEASE READ AND KEEP FOR FUTURE REFERENCE.
![]()
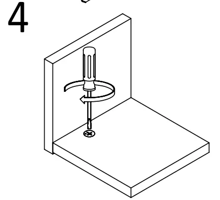
–Unit can tip over causing severe injury or death.
–Anchor unit to stud in wall (if instructed to)
–Do not allow children climb on unit
–Put heavy items on lower shelves or drawers
Contact Us!
Do NOT return this product!
Contact our friendly customer service team first for help



Helpful Hints
PEOPLE NEEDED FOR ASSEMBLY: 1-2
ESTIMATED ASSEMBLY TIME: 1 HOUR
– Open your item in the area you plan to keep it for less heavy lifting
– Identify, sort and count the parts before attempting assembly
– Compression dowels are tapped in with a hammer
– Slides are labeled with a R (right) and L (left) for proper placement
– Make sure to always face the point on the top of the Cam Lock towards the outer edge
– Use all the nails provided for the back panel and spread them out equally
– Back Panel must be used to make sure your unit is sturdy
– Do NOT use harsh chemicals or abrasive cleaners on this item
– Never push, pull, or drag your furniture
Before You Start

✓ Read through each step carefully and follow the proper order
✓ Separate and count all your parts and hardware
✓ Give yourself enough room for the assembly process
✓ Have the following tools: Flat Head Screwdriver, #2 Phillips Head Screwdriver and Hammer
✓ Caution: If using a power drill or power screwdriver for screwing, please be ✓ aware to slow down and stop when screw is tight.
✓ Failure to do so may result in stripping the screw.
Cam Lock Fastening System
This Cam Lock Fastening System will be used throughout the assembly process.




Board Identification
Not actual size



Part List
Not Actual Size
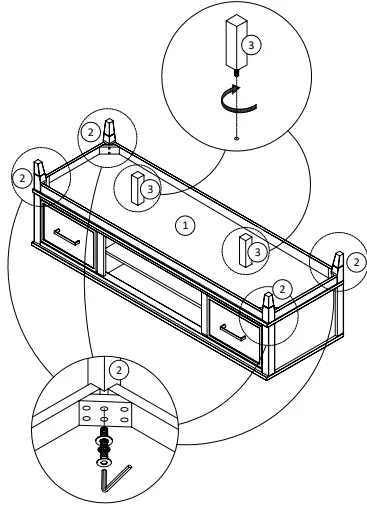
- x8 TPK0011 JCBC Screw 6 X 60

- x8 TPK0012 SPRING WASHER

- x8 TPK0013 FLAT WASHER

- x1 TPK0014 HEX KEY M4

- x1 TPK6001 WARNING LABEL

- x4 TPK3005 PH SCREW M4 X 20

- x2 TPK3007 RECTANGLE HANDLE (GOLD)

Step 1

x4 TPK3005
x2 TPK3007

Step 2


Step 3
x8 TPK0011
x8 TPK0012
x8 TPK0013
x1 TPK0014

Maximum Loads
This unit has been designed to support the maximum loads shown. Exceeding these load limits could cause sagging, instability, product collapse, and/or serious injury.

warning
Warning: Please make sure that all the objects are removed before moving the assembled unit.
The unit must be lifted by more than one person, not dragged or pushed. Failure to do so will cause product damage, instability, product collapse, and/or serious injury.
Certificate of Conformity
- This certificate applies to Dorel Home Furnishings, Inc. product identified by this instruction manual.
- This certificate applies to compliance of this product with the CPSC Ban on Lead-Containing Paint ( 16 CFR 1303).
- This product is distributed by: Dorel Home Furnishings, Inc.
410 East First Street South, Wright City, MO 63390 636-745-335 - Site of Manufacturer: Muar, Malaysia.
- See front page of instruction manual for date of manufacturer
Register your product to receive the following:
* New trend details -sneak peek on what’s new
* Surveys -have a voice within our community
* Exclusive deals and discount codes
* Quick and easy replacement part service

To register your product, visit Ameriwoodhome.com
5 star Rating![]()
Visit your local retailer’s website, rate your purchased product and leave us some feedback!
We would like to extend a big “Thank You” to all of our customers for taking the time to assemble this Ameriwood Home product, and to give us your valuable feedback![]()
ameriwoodhome.com
Do Not Return This Product!
Contact our customer service team for help first
Call: 1-800-489-3351 (toll free)
Monday-Friday 9am – 5pm CST
Visit: www.ameriwoodhome.com
























