Dobsonian Telescopes
Levenhuk Ra 150N Dob
User Manual
Zoom & Joy
- Finderscope mounting slot
- Dust cap
- Focuser
- Side bearing
- Primary mirror cell

| A. Side panel B. Front panel C. Side panel D. Top base plate E. Bottom base plate F. 8.2mm/38mm washer G. Center bearing bushing H. Self-tapping screw I. 5/16—18 adjustment bolt J. 8mm/16mm washer | K. Roller bearing 8.5mmx15mm L. 1/4—20 1—1/4″ screw M. Plastic handle N. Plastic feet O. 3/16 self-tapping screw P. Eyepieces holder Q. 3/16 self-tapping wood screw R. Roller bearing plates S. Plastic roller bearing |

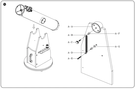
A—A. Altitude side bearing
A—B. Spring
A-C. Bolt w/round knob
A—D. Spring loop
A—E. Phillips-head screw
A—F. Nylon spacers
A—G. 1/4″ washer
Dobsonian Telescopes Levenhuk Ra
Congratulations on your purchase of a high-quality Levenhuk telescope! These instructions will help you set up, properly use, and care for your telescope. Please read them thoroughly before getting started.
CAUTION! Never look directly at the Sun — even for an instant — through your telescope or finderscope without a professionally made solar filter that completely covers the front of the instrument, or permanent eye damage may result. To avoid damage to the internal parts of your telescope, make sure the front end of the finderscope is covered with aluminum foil or another non-transparent material. Children should use the telescope under adult supervision only.
All parts of the telescope will arrive in one box. Be careful when unpacking it. We recommend keeping the original shipping containers. In the event that the telescope needs to be shipped to another location, having the proper shipping containers will help ensure that your telescope survives the journey intact. Make sure all the parts are present in the packaging. Be sure to check the box carefully, as some parts are small. No tools are needed other than those provided. All screws should be tightened securely to eliminate lexing and wobbling, but be careful not to overtighten them, as that may strip the threads.
During assembly (and anytime, for that matter), do not touch the surfaces of the optical elements with your fingers. The optical surfaces have delicate coatings on them that can easily be damaged if touched. Never remove mirrors from their housing, or the product warranty will be null and void.
Telescope assembly
Before you can begin your first observations with your new Levenhuk telescope, you have to assemble the Dobsonian mount and prepare the OTA for observations. It is recommended that you assemble the telescope in the order indicated in this user guide. 1
Mount assembly 2
Note: R and S details are not included for model 150N Dob.
Finderscope assembly
Locate the finderscope bracket and remove the rubber ring from it. Slide the rubber ring into the groove on the finderscope tube. Slide the finderscope bracket into the mount on the optical tube and tighten the screw to hold the bracket in place. Loosen the two adjustment thumbscrews on the bracket. Slide the finderscope tube into the bracket until the rubber ring locks in place. Retighten the thumbscrews. 3
Eyepiece assembly
Remove the dust cap and loosen the thumbscrew at the end of the focuser tube. Insert the desired eyepiece and retighten the thumbscrews to hold the eyepiece in place. Complete assembly of the OTA and base. 4
After you have assembled the OTA and the mount, you can place the optical tube on the wood base. Once this is complete, you can start observing the night skies. 5a 5b
Specifications
| Levenhuk Ra 150N | Levenhuk Ra 200N | Levenhuk Ra 250N | Levenhuk Ra 300N | |
| Optical design | Newtonian reflector | Newtonian reflector | Newtonian reflector | Newtonian reflector |
| Optics material | BK-7 glass | BK-7 glass | BK-7 glass | BK-7 glass |
| Optics coating | aluminum 92~96% coating | aluminum 92~96% coating | aluminum 92~96% coating | aluminum 92~96% coating |
| Primary mirror shape | paraboloid | paraboloid | paraboloid | paraboloid |
| Primary mirror diameter (aperture), mm | 153 | 200 | 250 | 304 |
| Focal length, mm | 1215 | 1200 | 1250 | 1520 |
| Focal ratio | f/8 | f/6 | f/5 | f/5 |
| Highest practical power, x | 306 | 400 | 500 | 608 |
| Resolution threshold, arcseconds | 0.69 | 0.69 | 0.5 | 0.46 |
| Limiting stellar magnitude | 14.2 | 14.2 | 14.7 | 14.9 |
| Focuser | 1.25″ Crayford | 2” dual-speed Crayford | 2” dual-speed Crayford | 2” dual-speed Crayford |
| Eyepiece barrel diameter | 1.25″ | 1.25/2″ | 1.25/2″ | 1.25/2″ |
| Mount type | altazimuth, Dobsonian | altazimuth, Dobsonian | altazimuth, Dobsonian | altazimuth, Dobsonian |
| Mount control type | manual | manual | manual | manual |
| Tube-mount assembly system | spring load side bearing | brake system side | brake system side | brake system side |
| Optical tube material | metal | metal | metal | metal |
| Eyepieces | Plössl 9mm Plössl 25mm | Plössl 9mm Super View 30mm | Plössl 9mm Super View 30mm | Plössl 9mm Super View 30mm |
| Finderscope | optical, 6x30mm | optical, 8x50mm | optical, 8x50mm | optical, 8x50mm |
| Cooling fan | — | + | + | + |
| Batteries (for cooling fan) | — | 6pcs АА (not included) | 6pcs АА (not included) | 6pcs АА (not included) |
| Operating temperature range, °C/°F | −5… +35 / 23… 95 | −5… +35 / 23… 95 | −5… +35 / 23… 95 | −5… +35 / 23… 95 |
The manufacturer reserves the right to make changes to the product range and specifications without prior notice.
Batteries safety instructions
- Always purchase the correct size and grade of battery most suitable for the intended use.
- Always replace the whole set of batteries at one time; take care not to mix old and new ones or batteries of different types.
- Clean the battery contacts and also those of the device prior to battery installation.
- Make sure the batteries are installed correctly with regard to polarity (+ and −).
- Remove batteries from equipment that is not to be used for an extended period of time.
- Remove used batteries promptly.
- Never attempt to recharge primary batteries as this may cause leakage, fire, or explosion.
- Never short-circuit batteries as this may lead to high temperatures, leakage, or explosion.
- Never heat batteries in order to revive them.
- Remember to switch off devices after use.
- Keep batteries out of the reach of children, to avoid the risk of ingestion, suffocation, or poisoning.
- Utilize used batteries as prescribed by your country’s laws.
Care and maintenance
- Never, under any circumstances, look directly at the Sun through this device without a special filter, or look at another bright source of light or at a laser, as it may cause PERMANENT RETINAL DAMAGE and may lead to BLINDNESS.
- Stop using the device if the lens fogs up. Do not wipe the lens! Remove moisture with a hairdryer or point the telescope downward until the moisture naturally evaporates.
- Do not touch the optical surfaces with your fingers. Clean the lens surface with compressed air or a soft lens-cleaning wipe. To clean the device exterior, use only the special cleaning wipes and special tools that are recommended for cleaning the optics.
- Replace the dust cap over the front end of the telescope whenever it is not in use. Always put eyepieces in protective cases and cover them with caps. This prevents dust or dirt from settling on the mirror or lens surfaces.
- Lubricate the mechanical components with metal and plastic connecting parts. Components to be lubricated:
- Optical tube;
- Fine mechanics (focuser rail, telescope optical tube micro focuser);
- Mounting;
- Worm-and-worm pairs, bearings, cogs, threaded mounting gears.
Use all-purpose silicon-based greases with an operating temperature range of −60 … +180°С (−76 … +356°F). - After unpacking your microscope and before using it for the first time check for the integrity and durability of every component and connection.
- Protect the device from sudden impact and excessive mechanical force. Do not apply excessive pressure when adjusting focus. Do not overtighten the locking screws.
- Abrasive particles, such as sand, should not be wiped off lenses, but instead blown off or brushed away with a soft brush.
- Do not use the device for lengthy periods of time, or leave it unattended in direct sunlight. Keep the device away from water and high humidity.
- Be careful during your observations, always replace the dust cover after you are finished with observations to protect the device from dust and stains.
- If you are not using your microscope for extended periods of time, store the objective lenses and eyepieces separately from the microscope.
- Do not try to disassemble the device on your own for any reason. For repairs and cleaning of any kind, please contact your local specialized service center.
- Store the device in a dry, cool place away from hazardous acids and other chemicals, away from heaters, open fires, and other sources of high temperatures.
- If a part of the device or battery is swallowed, seek medical attention immediately.
- Children should use the device under adult supervision only.
Levenhuk International Lifetime Warranty
All Levenhuk telescopes, microscopes, binoculars, and other optical products, except for accessories, carry a lifetime warranty against defects in materials and workmanship. A lifetime warranty is a guarantee of the lifetime of the product on the market. All Levenhuk accessories are warranted to be free of defects in materials and workmanship for six months from the date of retail purchase. The warranty entitles you to free repair or replacement of the Levenhuk product in any country where a Levenhuk office is located if all warranty conditions are met.
For further details please visit our website: www.levenhuk.com/warranty
If warranty problems arise, or if you need assistance in using your product, contact the local Levenhuk branch.
The original Levenhuk cleaning
accessories
Levenhuk Cleaning Pen
LP10
Removes dust with a brush
The soft tip is treated with a special cleaning fluid that removes greasy stains
Do not damage the optical coatings of the lenses
Leaves no smudges or stains
levenhuk.com
Levenhuk Inc. (USA): 928 E 124th Ave. Ste D, Tampa, FL 33612, USA, +1 813
468-3001, [email protected]
Levenhuk Optics s.r.o. (Europe): V Chotejně 700/7, 102 00 Prague 102, Czech
Republic, +420 737-004-919, [email protected]
Levenhuk® is a registered trademark of Levenhuk, Inc.
© 2006—2021 Levenhuk, Inc. All rights reserved.
20210812
References
Levenhuk optical instruments store | Levenhuk - best optical equipment
Доживотна гаранция на Levenhuk – Официален уебсайт на Levenhuk в България
Levenhuk lifetime warranty details | Levenhuk - best optical equipment
Doživotní záruka společnosti Levenhuk – Oficiální webové stránky Levenhuk pro Českou republiku
Levenhuk Lebenslange Garantie – Die offizielle Website von Levenhuk in Deutschland
| Levenhuk, los mejores equipos ópticos
Levenhuk Lifetime Warranty – Levenhuk’s official website in Europe
A Levenhuk élettartamra szóló szavatossága – A Levenhuk hivatalos magyarországi weboldala
Gwarancja bezterminowa Levenhuk – Oficjalna witryna internetowa Levenhuk w Polsce
Поддержка - Гарантийное обслуживание Левенгук - Levenhuk Russia



















