Emmerich Virk LL60
Digital Level

User Manual
LL60 Digital Level Telescope

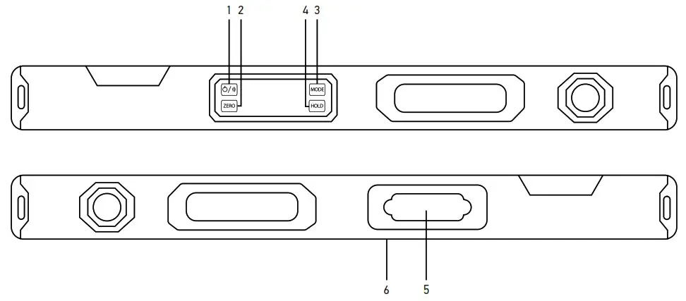
- POWER/BUZZER button
- ZERO button
- MODE button
- HOLD button
- Battery compartment
- Magnetic base (in the V-Groove)
Please carefully read the safety instructions and the user manual before using this product. Keep away from children. Use the device only as specified in the user manual.
Getting started
- Open the battery compartment cover and insert 2 AAA batteries. Close the cover.
- Press the POWER/BUZZER button to turn the device on. Press and hold the POWER/BUZZER button for 3 seconds to turn the device off.
The device will shut down in 3 minutes of no activity. - To measure, place the device on a flat surface.
Usage
- When the device is on, it will display the current value in degrees. Press the MODE button to switch between °, %, mm/m, and in/ft. The slope is shown in inches per foot in 1/8-in increments.
- The
icon indicates either the horizontal or vertical position of the measured surface. The
&
icons indicate that the measured surface deviates from the horizontal or vertical plane. The
icon indicates whether the measured surface must be adjusted horizontally or vertically. - Angle measurement. If you want to set an alternative reference point from which to take measurements, press the ZERO button to set the value to 0. The S icon will appear on the screen. Press the ZERO button again to exit this function.
- Hold function. To freeze the readings, press the HOLD button. The H icon will appear on the screen. Press HOLD button again to return to measurement mode.
- Acoustic alert. Press the POWER/BUZZER button. The
icon will appear on the screen. The audible buzzer alerts when the device is within +/-1° of the horizontal or vertical position, the frequency of the sound differs when the device is near or far from the horizontal or vertical position, and alerts continuously when the device is in the horizontal or vertical position. Press the POWER/BUZZER button again to turn this function off.
Calibration
- Press the POWER/BUZZER button to turn the device off. Place the device on a flat surface. Press and hold the MODE button and then press the POWER/BUZZER button until CAL1 appears on the display. Do not move the device and then press the MODE button. The icon CAL1 will start flashing and then the CAL2 icon will appear on the display. Rotate the device 180° and then press the MODE button. The CAL2 icon will start flashing. When CAL2 disappears, the calibration is complete. The calibration should be performed on a flat and smooth surface with a slope not exceeding 5°. If it exceeds 5°, the display will show the Error icon, indicating that the calibration cannot be performed.
Specifications
| Length | 600mm |
| Resolution | 0.05° |
| Measuring range | 0 to 360° |
| Accuracy | ±0.1° at 0° and 90°, the rest: ±0.2° |
| Measurements | °, %, mm/m, in/ft |
| Auto-off | 3 min. |
| Operating temperature range | 0…+40°C / 32…+104°F |
| Storage temperature range | –10…+50°C / 14…+122°F |
| Power supply | 2 alkaline AAA batteries |
The manufacturer reserves the right to make changes to the product range and specifications without prior notice.
Care and maintenance
Use the device only as specified in the user manual. Keep away from children. Do not try to disassemble the device on your own for any reason. For repairs and cleaning of any kind, please contact your local specialized service center. Protect the device from sudden impact and excessive mechanical force. Do not use the product in explosive environment, close to flammable materials. Store the device in a dry cool place. Only use accessories and spare parts for this device that comply with the technical specifications. Never attempt to operate a damaged device or a device with damaged electrical parts! If a part of the device or battery is swallowed, seek medical attention immediately.
Battery safety instructions
Always purchase the correct size and grade of battery most suitable for the intended use. Always replace the whole set of batteries at one time; taking care not to mix old and new ones, or batteries of different types. Clean the battery contacts and also those of the device Prieto battery installation. Make sure the batteries are installed correctly with regard to polarity (+ and –). Remove batteries from equipment that is not to be used for an extended period of time. Remove used batteries promptly. Never short-circuit batteries as this may lead to high temperatures, leakage, or explosion. Never heat batteries in order to revive them. Do not disassemble batteries. Remember to switch off devices after use. Keep batteries out of the reach of children, to avoid risk of ingestion, suffocation, or poisoning. Utilize used batteries as prescribed by your country’s laws.
Levenhuk International Lifetime Warranty
All Levenhuk telescopes, microscopes, binoculars, and other optical products, except for their accessories, carry a lifetime warranty against defects in materials and workmanship. A lifetime warranty is a guarantee on the lifetime of the product on the market. All Levenhuk accessories are warranted to be free of defects in materials and workmanship for six months from the purchase date. The warranty entitles you to the free repair or replacement of the Levenhuk product in any country where a Levenhuk office is located if all the warranty conditions are met.
For further details, please visit: www.levenhuk.com/warranty
If warranty problems arise, or if you need assistance in using your product, contact the local Levenhuk branch.

Levenhuk Inc.
(USA): 928 E 124th Ave. Ste D, Tampa, FL 33612,
USA, +1-813-468-3001, [email protected]
Levenhuk Optics servo. (Europe): V Chotejně 700/7, 102 00 Prague 102,
Czech Republic, +420 737-004-919, [email protected]
Levenhuk®, Emmerich® are registered trademarks of Levenhuk, Inc.
© 2006–2023 Levenhuk, Inc. All rights reserved.
www.levenhuk.com
20230411
![]()
References
Доживотна гаранция на Levenhuk – Официален уебсайт на Levenhuk в България
Levenhuk optical instruments store | Levenhuk - best optical equipment
Levenhuk lifetime warranty details | Levenhuk - best optical equipment
Doživotní záruka společnosti Levenhuk – Oficiální webové stránky Levenhuk pro Českou republiku
Levenhuk Lebenslange Garantie – Die offizielle Website von Levenhuk in Deutschland
Garantía internacional de por vida Levenhuk – Compre desde el sitio web oficial de Levenhuk en España
Levenhuk Lifetime Warranty – Levenhuk’s official website in USA
A Levenhuk élettartamra szóló szavatossága – A Levenhuk hivatalos magyarországi weboldala
Gwarancja bezterminowa Levenhuk – Oficjalna witryna internetowa Levenhuk w Polsce
Поддержка - Гарантийное обслуживание Левенгук - Levenhuk Russia



















