Levenhuk Ra 150C
Cassegrain OTA
User Manual
Zoom&Joy
Ra 150C Cassegrain OTA Telescope

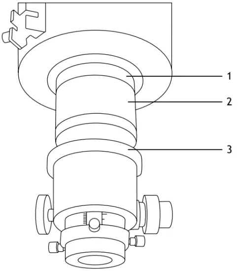
- Finderscope bracket
- Focuser attachment collar
- Coarse focus knob
- Fine focus knob
- Millimeter and inch scales
- 2″ accessory collar
- Drawtube
- Thumbscrew locks
- 1.25″ adapter
- Brass compression ring

- 1″ extension ring
- 2″ extension ring
- Attachment collar
Congratulations on your purchase of a high-quality Levenhuk telescope! These instructions will help you set up, properly use, and care for this device. Please read them thoroughly before getting started.
CAUTION! Never look directly at the Sun — even for an instant — through your telescope or finderscope without a professionally made solar filter that completely covers the front of the instrument, or permanent eye damage may result. To avoid damage to the internal parts of your telescope, make sure the front end of the finderscope is covered with aluminum foil or another non-transparent material. Children should use the telescope under adult supervision only.
All parts of the telescope will arrive in one box. Be careful when unpacking it. We recommend keeping the original shipping containers. In the event that the telescope needs to be shipped to another location, having the proper shipping containers will help ensure that your telescope survives the journey intact. Be sure to check the box carefully, as some parts are small. All screws should be tightened securely to eliminate flexing and wobbling, but be careful not to overtighten them, as that may strip the threads.
During assembly (and anytime, for that matter), do not touch the surfaces of the optical elements with your fingers. The optical surfaces have delicate coatings on them that can easily be damaged if touched. Never remove lenses or mirrors from their housing, or the product warranty will be null and void.
Telescope assembly
Note! A finderscope, eyepieces, diagonal mirror, T-ring, and camera are not included in the kit.
Finderscope, diagonal mirror, and eyepiece assembly
- Attach the finderscope base to the optical tube. Loosen the thumbscrew on the base. Install the finderscope onto the base.
Retighten the thumbscrew. - To install an extension ring or a diagonal mirror remove the focuser by rotating the attachment collar counterclockwise, insert the desired accessory and re-attach the focuser. Afterward, you can insert the eyepiece into the already attached diagonal mirror or extension ring.
Attaching the OTA to amount
Your Cassegrain OTA has a dovetail plate that is used to attach the optical tube to a compatible EQ or AZ-EQ mount. The long length of the dovetail mount makes it easy to balance the telescope on the declination axis by sliding the OTA back or forward.
Operating the telescope
Focusing
During celestial observations, out-of-focus images of dim stars may be very diffuse, making it difficult to focus on such objects. Choose a brighter celestial body (such as the Moon) as your first observation object, and focus your view. With a 10:1 fine focus adjustment (meaning that 10 turns of the fine focus knob equal 1 turn of the coarse focus knob), you can adjust the focus of your view with great precision. Use the coarse focus knob to adjust the view until your object is as close to focus as possible, and then make fine adjustments with the fine focus knob.
Eyepieces and magnification
An eyepiece magnifies the image produced by the OTA. The longer the focal length, the lower the eyepiece magnification, and vice versa. Therefore, it is recommended to have several eyepieces in your equipment. The total power of the telescope setup may be calculated with the following formula:
Magnification = Focal Length of Telescope (mm) / Focal Length of Eyepiece (mm)
Keep in mind that every telescope has a practical power limit of 1.5—2D (D is the aperture of the telescope in mm). At higher powers, an image will always be dimmer and less sharp; the viewing conditions (the “seeing”) may also affect the quality of resulting images. It is recommended to begin observations at low magnifications (longest focal length). After you have located the desired object, you can try switching to a high-power eyepiece, if seeing conditions permit.
Astrophotography
Most CCD cameras have a 1.25″ or 2″ barrel. Simply insert the nosepiece of the CCD camera or the adapter into the focuser and lock it in place with two thumbscrews.
To attach a DSLR camera, you will need an appropriate T-ring and a camera adapter. Simply attach the T-ring to the camera body and thread the camera adapter onto the T-ring. Insert the barrel of the camera adapter into the focuser and secure it in place with two thumbscrews.
You may want to consider using a remote shutter release instead of the shutter release on the camera. Touching the camera may shake the instrument and blur the resulting image. Also, make sure the tripod is steady.
Specifications
| 150C Cassegrain OTA | |
| Optical design | Cassegrain reflector |
| Optics material | quartz |
| Optics coating | SiO₂ (silicon dioxide) 92~96% coating |
| Primary mirror shape | paraboloid |
| Primary mirror diameter (aperture), mm / in | 153 / 6 |
| Secondary mirror shape | hyperboloid |
| Focal length, mm | 1836 |
| Focal ratio | f/12 |
| Highest practical power, x | 304 |
| Resolution threshold, arcseconds | 0.76 |
| Limiting stellar magnitude | 13.6 |
| Drawtube travel | 41mm (laser-engraved millimeter scale) |
| Baffles | 8 internal knife-edge baffles |
| Backfocus distance | 157.2mm (from the end of the 2″ focuser collar) |
| Focuser | 2” dual-speed Crayford |
| Eyepiece barrel diameter | 1.25/2” |
| Tube-mount assembly system | dovetail plate |
| Optical tube material | rolled steel |
| 2″ Extension ring | 1pc |
| 1″ Extension ring | 2pcs |
| Dust cover | 1pc |
| Operating temperature range, °C / °F | −5… +35 / 23… 95 |
The manufacturer reserves the right to make changes to the product range and specifications without prior notice.
Care and maintenance
- Never, under any circumstances, look directly at the Sun through this device without a special filter, or look at another bright source of light or at a laser, as it may cause PERMANENT RETINAL DAMAGE and may lead to BLINDNESS.
- Take the necessary precautions when using the device with children or others who have not read or who do not fully understand these instructions.
- Do not try to disassemble the device on your own for any reason. For repairs and cleaning of any kind, please contact your local specialized service center.
- Stop using the device if the lens fogs up. Do not wipe the lens! Remove moisture with a hairdryer or point the telescope downward until the moisture naturally evaporates.
- Protect the device from sudden impact and excessive mechanical force.
- Do not touch the optical surfaces with your fingers. Clean the lens surface with compressed air or a soft lens-cleaning wipe. To clean the device exterior, use only the special cleaning wipes and special tools that are recommended for cleaning the optics.
- Store the device in a dry, cool place away from hazardous acids and other chemicals, away from heaters, open fires, and other sources of high temperatures.
- Replace the dust cap over the front end of the telescope whenever it is not in use. Always put eyepieces in their protective cases and cover them with their caps. This prevents dust or dirt from settling on the mirror or lens surfaces.
- Lubricate the mechanical components with metal and plastic connecting parts. Components to be lubricated:
- Optical tube;
- Fine mechanics (focuser rail, telescope optical tube micro focuser);
- Mounting;
- Worm-and-worm pairs, bearings, cogs, threaded mounting gears.
Use all-purpose silicon-based greases with an operating temperature range of −60 … +180°С (−76 … +356°F). - If a part of the device or the battery is swallowed, seek medical attention immediately.
- Children should use the device under adult supervision only.
Levenhuk International Lifetime Warranty
All Levenhuk telescopes, microscopes, binoculars, and other optical products, except for their accessories, carry a lifetime warranty against defects in materials and workmanship. A lifetime warranty is a guarantee of the lifetime of the product on the market. All Levenhuk accessories are warranted to be free of defects in materials and workmanship for six months from the purchase date. The warranty entitles you to the free repair or replacement of the Levenhuk product in any country where a Levenhuk office is located if all the warranty conditions are met.
For further details, please visit: www.levenhuk.com/warranty
If warranty problems arise, or if you need assistance in using your product, contact the local Levenhuk branch.
The original Levenhuk cleaning accessories
Levenhuk Cleaning Pen
LP10
Removes dust with a brush
The soft tip is treated with a special cleaning fluid that removes greasy stains
Do not damage the optical coatings of the lenses
Leaves no smudges or stains
levenhuk.com
Levenhuk Inc. (USA): 928 E 124th Ave. Ste D, Tampa, FL 33612, USA, +1 813 468-3001,
[email protected]
Levenhuk Optics s.r.o. (Europe): V Chotejně 700/7, 102 00 Prague 102, Czech Republic,
+420 737-004-919, [email protected]
Levenhuk® is a registered trademark of Levenhuk, Inc.
© 2006—2021 Levenhuk, Inc. All rights reserved.
20210628
References
Levenhuk optical instruments store | Levenhuk - best optical equipment
Доживотна гаранция на Levenhuk – Официален уебсайт на Levenhuk в България
Levenhuk lifetime warranty details | Levenhuk - best optical equipment
Doživotní záruka společnosti Levenhuk – Oficiální webové stránky Levenhuk pro Českou republiku
Levenhuk Lebenslange Garantie – Die offizielle Website von Levenhuk in Deutschland
| Levenhuk, los mejores equipos ópticos
Levenhuk Lifetime Warranty – Levenhuk’s official website in Europe
A Levenhuk élettartamra szóló szavatossága – A Levenhuk hivatalos magyarországi weboldala
Gwarancja bezterminowa Levenhuk – Oficjalna witryna internetowa Levenhuk w Polsce
Поддержка - Гарантийное обслуживание Левенгук - Levenhuk Russia



















