10 inch Truss Tube Dobsonian Telescope
Instruction Manual
Item #: DOB1045C
DOB1045C 10 Inch Truss Tube Dobsonian Telescope
10” Dobsonian Instructional Video Available Scan QR Code or Visit: youtu.be/jEZEipdok30
Problem?
No need to return to store.
Call us: 1.866.252.3811
Our customer service experts will answer any question.
Monday – Friday; 8am – 5pm CST Or visit our online Customer Service Center explorescientific.supportsync.com
![]()
WARNING:
This product can expose you to lead, which is known to the State of California to cause cancer and birth defects or other reproductive harm.
For more information go to www.P65Warnings.ca.gov.
WARNING:
The lens contains lead that may be harmful.
Wash hands after touching.
WARNING:
Contains button or coin cell battery.
Hazardous if swallowed — see instructions page 2.
![]()
WARNING:
SUN HAZARD — Never look directly at the sun with this device.
DO NOT USE THIS TELESCOPE OR ANY ACCOMPANYING FINDER SCOPE TO LOOK AT OR NEAR THE SUN UNLESS YOU ARE USING A SPECIAL SOLAR FILTER! EVEN MOMENTARY VISUAL CONTACT WITH THE SUN’S LIGHT RAYS CAN INSTANTLY CAUSE IRREVERSIBLE DAMAGE TO YOUR EYE(S). EYE DAMAGE CAN BE PAINLESS, SO THERE IS NO WARNING TO THE OBSERVER THAT DAMAGE HAS OCCURRED UNTIL IT IS TOO LATE. TAKE EXTRA CARE WHEN USING THE TELESCOPE OR A FINDER SCOPE DURING DAYLIGHT HOURS, AND DO NOT POINT EITHER AT OR NEAR THE SUN. DO NOT LOOK THROUGH EITHER WHEN YOU ARE MOVING THE INSTRUMENTS DURING THE DAYTIME. NEVER ALLOW ANYONE TO USE THE TELESCOPE OR A FINDER SCOPE DURING THE DAYTIME WITHOUT WARNING THEM OF THE HAZARDS OF AIMING EITHER AT OR NEAR THE SUN. MAKE SURE THAT THEY ARE ADEQUATELY TRAINED ON THE USE OF THESE INSTRUMENTS BEFORE ALLOWING THEM TO START OBSERVING. CHILDREN SHOULD ALWAYS HAVE INFORMED AND TRAINED ADULT SUPERVISION WHILE OBSERVING.
IMPORTANT SAFETY INSTRUCTIONS READ AND FOLLOW THE INSTRUCTIONS BEFORE USE. KEEP THESE INSTRUCTIONS FOR LATER USE.
SUN WARNING: WARNING – NEVER ATTEMPT TO OBSERVE THE SUN WITH THIS DEVICE! OBSERVING THE SUN – EVEN FOR A MOMENT – WILL CAUSE INSTANT AND IRREVERSIBLE DAMAGE TO YOUR EYE OR EVEN BLINDNESS. EYE DAMAGE IS OFTEN PAINLESS, SO THERE IS NO WARNING TO THE OBSERVER THAT THE DAMAGE HAS OCCURRED UNTIL IT IS TOO LATE. DO NOT POINT THE DEVICE AT OR NEAR THE SUN. DO NOT LOOK THROUGH THE DEVICE AS IT IS MOVING. CHILDREN SHOULD ALWAYS HAVE ADULT SUPERVISION WHILE OBSERVING.- RESPECT PRIVACY: WHEN USING THIS DEVICE, RESPECT THE PRIVACY OF OTHER PEOPLE. FOR EXAMPLE, DO NOT USE IT TO LOOK INTO PEOPLE’S HOMES.
CHOKING HAZARD: CHILDREN SHOULD ONLY USE DEVICE UNDER ADULT SUPERVISION. KEEP PACKAGING MATERIALS LIKE PLASTIC BAGS AND RUBBER BANDS OUT OF THE REACH OF CHILDREN AS THESE
MATERIALS POSE A CHOKING HAZARD.- RISK OF BLINDNESS: NEVER USE THIS DEVICE TO LOOK DIRECTLY AT THE SUN OR IN THE DIRECT PROXIMITY OF THE SUN. DOING SO MAY RESULT IN A PERMANENT LOSS OF VISION.
- RISK OF FIRE: DO NOT PLACE DEVICE, PARTICULARLY THE LENSES, IN DIRECT SUNLIGHT. THE CONCENTRATION OF LIGHT RAYS COULD CAUSE A FIRE.
- DO NOT DISASSEMBLE THIS DEVICE: IN THE EVENT OF A DEFECT, PLEASE CONTACT EXPLORE SCIENTIFIC CUSTOMER SERVICE DEPARTMENT AT 866.252.3811.
- DO NOT SUBJECT THE DEVICE TO TEMPERATURES EXCEEDING 60 °C (140 °F).
DISPOSAL: KEEP PACKAGING MATERIALS, LIKE PLASTIC BAGS AND RUBBER BANDS, AWAY FROM CHILDREN AS THEY POSE A RISK OF SUFFOCATION. DISPOSE OF PACKAGING MATERIALS AS LEGALLY REQUIRED. CONSULT THE LOCAL AUTHORITY ON THE MATTER IF NECESSARY AND RECYCLE MATERIALS WHEN POSSIBLE.
THE WEEE SYMBOL IF PRESENT INDICATES THAT THIS ITEM CONTAINS ELECTRICAL OR ELECTRONIC COMPONENTS WHICH MUST BE COLLECTED AND DISPOSED OF SEPARATELY.- NEVER DISPOSE OF ELECTRICAL OR ELECTRONIC WASTE IN GENERAL MUNICIPAL WASTE. COLLECT AND DISPOSE OF SUCH WASTE SEPARATELY.
- MAKE USE OF THE RETURN AND COLLECTION SYSTEMS AVAILABLE TO YOU, OR YOUR LOCAL RECYCLING PROGRAM. CONTACT YOUR LOCAL AUTHORITY OR PLACE OF PURCHASE TO FIND OUT WHAT SCHEMES ARE AVAILABLE.
- ELECTRICAL AND ELECTRONIC EQUIPMENT CONTAINS HAZARDOUS SUBSTANCES WHICH, WHEN DISPOSED OF INCORRECTLY, MAY LEAK INTO THE GROUND. THIS CAN CONTRIBUTE TO SOIL AND WATER POLLUTION WHICH IS HAZARDOUS TO HUMAN HEALTH, AND ENDANGER WILDLIFE.
- IT IS ESSENTIAL THAT CONSUMERS LOOK TO RE-USE OR RECYCLE ELECTRICAL OR ELECTRONIC WASTE TO AVOID IT GOING TO LANDFILL SITES OR INCINERATION WITHOUT TREATMENT.
BUTTON/COIN BATTERY WARNING: THIS PRODUCT CONTAINS A BUTTON OR COIN CELL BATTERY. A SWALLOWED BUTTON OR COIN CELL BATTERY CAN CAUSE INTERNAL CHEMICAL BURNS IN AS LITTLE AS TWO HOURS AND LEAD TO DEATH. DISPOSE OF USED BATTERIES IMMEDIATELY. KEEP NEW AND USED BATTERIES AWAY FROM CHILDREN. IF YOU THINK BATTERIES MIGHT HAVE BEEN SWALLOWED OR PLACED INSIDE ANY PART OF THE BODY, SEEK IMMEDIATE MEDICAL ATTENTION. - A SWALLOWED BUTTON OR COIN CELL BATTERY CAN CAUSE INTERNAL CHEMICAL BURNS IN AS LITTLE AS TWO HOURS AND LEAD TO DEATH DUE TO CHEMICAL BURNS AND POTENTIAL PERFORATION OF THE ESOPHAGUS.
- DISPOSE OF USED BATTERIES IMMEDIATELY, FLAT/DRAINED BATTERIES CAN STILL BE DANGEROUS
- KEEP NEW AND USED BATTERIES AWAY FROM CHILDREN.
- IF YOU THINK BATTERIES MIGHT HAVE BEEN SWALLOWED OR PLACED INSIDE ANY PART OF THE BODY, SEEK IMMEDIATE MEDICAL ATTENTION.
- IF YOU SUSPECT YOUR CHILD HAS SWALLOWED OR INSERTED A BUTTON BATTERY IMMEDIATELY CALL THE POISONS CONTROL HOTLINE AND SEEK IMMEDIATE MEDICAL ATTENTION.
- EXAMINE DEVICES AND MAKE SURE THE BATTERY COMPARTMENT IS CORRECTLY SECURED, E.G. THAT THE SCREW OR ANOTHER MECHANICAL FASTENER IS TIGHTENED. DO NOT USE IF COMPARTMENT IS NOT SECURE.
- TELL OTHERS ABOUT THE RISK ASSOCIATED WITH BUTTON BATTERIES AND HOW TO KEEP THEIR CHILDREN SAFE.
All Explore Scientific telescopes and telescope accessories are subject to constant technical improvement. Minor changes of product specifications that happen during the improvement of the product are subject to change without notice.
Telescope Parts Overview

Parts List
| 1. Secondary mirror assembly 2. Focusing unit 3. Collimation tool 4. Tube trusses 5. Mirror box lid 6. Altitude wheels | 7. Rocker box 8. Alignment Clutch System 9. Mirror box 10. Viewfinder holder 11. Red dot finder 12. Tension latch |
Additional Parts (not shown):
Hex screws w/ sleeves and thumb screws for altitude wheels
Moon filter
Planisphere
Moon Map
25mm extension tube (all ready installed)
20mm extension tube
Recommended accessories that are not included: Counterweights (sold separately; contact customer service at 1-866-252-3811 for more information)
Unboxing and Checking Contents
Please Note: We recommend that you keep the original shipping box and packing materials if possible, in case your scope should ever need to be returned for service or warranty purposes.
Inside the main package, you will find:
– Two altitude wheels
– Altitude wheel box
– Red dot finder
– Secondary mirror assembly with finder bracket and 2-inch focuser
– 4 pairs of trusses
– Collimating tool for the main mirror
– Main mirror box
– 8 Screws:
- 4 short screws with knob to secure the secondary mirror cage to the truss pairs
- 2 long screws with knob to secure the altitude wheels directly to the main mirror box itself
- 2 long thinner screws with knob to connect the altitude wheels to the lid of the main mirror box
– 1 inch focuser extension
– 2 Alignment clutch systems
When you open the box, the first thing you will find are the trusses, Figure 2:
Figure 2
The trusses are already assembled in four pairs, Figure 2. You will also find the collimation tool for the main mirror of the telescope. Carefully remove the parts from the box, unwrap them and remove the foam parts that secure the rest.

After removing the trusses, you will find two boxes, Figure 3. The smaller one contains the mirror box and the other contains the rocker box. On the outer left you can see one of the altitude wheels. Remove all parts from the box and unwrap everything. When you open the lid of the mirror box you will see the following setup:
Inside the mirror box, Figure 4, you will see a foam insert that contains some small parts, 2x barlow, digital eyepiece, clutches, 20mm extension tube and the red dot finder. This foam insert also protects the main mirror during transit.
It also gives you the opportunity to store/transport eyepieces or accessories. Remove the insert and the protective paper from the main mirror but leave the foam pieces surrounding the edges of the mirror in place to protect the collimation system.
We recommend keeping the soft paper covering because it can protect the mirror from dust and dirt without giving off fluff.

In the other box there is the secondary mirror cage unit and the rocker box:
Take both parts out of the box and carefully remove the protective paper from the secondary mirror.
Assembly
We suggest reading all this manual in it’s entirety before attempting assembly.
If you are assembling your telescope for the first time, we recommend doing so in a climate-controlled room.
First, place the mirror box onto a table to attach the altitude wheels to the mirror box. You will notice that each altitude wheel has two holes. One of the holes matches the threaded hole on the mirror box, and the other matches the threaded hole in the lid of the mirror box.
Important: You have two possibilities to attach the altitude wheel onto the mirror box of the telescope.
There are two sets of holes on both sides of the mirror box. Having two sets gives you an additional degree of freedom to balance your telescope. If you are just using lightweight eyepieces (1.25 inch) we recommend attaching the altitude wheels to the lower set of holes, Figure 5. If you are using a coma corrector, heavy eyepieces or both we recommend using the upper set of holes.

Though the distance of the holes in the altitude wheels appears to be similar, the orientation of the wheels on the mirror box DOES matter – holes will not align if the altitude wheels are mounted in the wrong orientation.
Type of Screws
A: 2 long screws with knob to secure the altitude wheels directly to the main mirror box itself
B: 2 long thinner screws with knob to connect the altitude wheels to the lid of the main mirror box
C: 4 small knobs with screws to attached secondary mirror assembly
D: 2 HEX screws with sleeve

To screw the altitude wheels to the main mirror box, place the main mirror box on a horizontally balanced table.
Screw each altitude wheel to the main mirror box using one long screw with knob (A) and a HEX screw with sleeve (D) each. The HEX screws must be inserted into the countersunk holes of the altitude wheels first, Figure 6. Use the supplied hex wrench for mounting, Figure 7. Attach the altitude wheel through the second hole using one long thinner screw (B) on the mirror box then the third hole to the unfolded main mirror box top, Figure 8.

We recommend marking the position of the altitude wheels so that everything works on the first try next time you assemble the telescope. We recommend using luminescent paint or stickers that enable you to assemble the telescope in complete darkness so your eyes can adapt to the night sky faster. These are available from modelmaking sources.
Now look at the mirror box from above. You will see knobs and triangular pieces sticking out from each corner of the mirror box. Loosen the knobs, making sure that they don´t come off and fall onto the main mirror.
Unwrap the truss pairs. Each pair of trusses is connected by a metal bracket that has a groove in it. Slide the bracket with the groove over the threaded rod then tighten the knob to lock the truss in place. Do this for all four trusses.
Important: After you have tightened the knobs the trusses will be secured to the mirror box BUT they will still be able to swing freely from side to side, which means they could bump into surrounding equipment or people if not carefully monitored.
Important: During the attachment of the secondary mirror assembly make sure that you have control of the secondary mirror assembly at all times. If you are doing this for the first time you will need a few minutes to get accustomed to the procedure. The help of a second person is suggested.
Separate the truss tube pairs until each tube meets the one next to it. This creates a perfectly aligned hole that aligns with an attachment point on the bottom of the secondary assembly.
The telescope is designed to have the focuser oriented on the right side, so that the red dot finder is above the focuser when you move the telescope. To determine the right side, stand facing the silver handle of the mirror box.
Turn the secondary mirror assembly so that the focuser is on the right.
Hold the secondary mirror assembly with one hand while you align the truss holes and the threaded hole of the secondary mirror assembly. Once aligned, insert the small knobs with screws (C) and partially tighten them. Be sure to insert the screws from the outside of the secondary mirror assembly. It may be helpful to use the lip of the truss tubes to steady the secondary mirror assembly while inserting the screws.
Do not fully tighten the screws until all four screws are inserted correctly – trying to force a screw into the threaded hole on the secondary assembly will damage the thread. If assembled correctly, that screws will go into the threads without the use of force. After all four screws are placed into the threaded holes in the secondary assembly, tighten the screws being sure not to over tighten.
Important: With the rocker box on the ground place the mirror box into the rocker box. Do NOT use the trusses to pick up the mirror box.
Install a clutch on each side of the rocker box. To install, place the clutch with the white tension pad facing the altitude wheel into the hole nearest the end with the sliver handle.
Attach the clutch by screwing in the large knob until the tension pad presses firmly against the wheel. The clutches enable the telescope to move up and down but not slip.
Collimation
Collimating the optical systems
Although the optics in your telescope were carefully collimated in our quality control department prior to leaving our facility, we recommend collimating the telescope after reassembly. The whole procedure is straightforward and should takes only a few minutes after reassembly, if you have numbered your trusses and reassemble your telescope the same way it had been assembled.
The collimation of the telescope is done in three steps:
Rough Collimation
Collimating the secondary mirror:
If the telescope is collimated you should see the concentric images of your eye, the secondary mirror, the main mirror and the focuser.

- Draw tube barrel
- Primary mirror
- 4 vanes of secondary mirror holder
- Secondary mirror
- Your eye
To test rough collimation:
- Remove the eyepiece from the focuser and look through the focuser draw tube. The secondary mirror should appear round. If the secondary mirror does not appear round, tilt it with the three collimation screws that are located on the back side of the secondary mirror holder.
- Next check the reflection in the secondary mirror of the middle point of the main mirror, which is marked by a tiny black doughnut on the mirror. If the reflection of the mark on the main mirror is not in the center of the secondary mirror, center it by using the three collimation screws.
| Spider vanes (1); secondary mirror (2); focuser drawtube (3); focused image (4). | Secondary Mirror Assembly (front and side view). Spider vanes (1); tilt screws (2); secondary mirror holder (3). |
![]() | ![]() |
Adjusting the main mirror
Once the secondary appears round and the mark on the main mirror is centered, check the collimation of the main mirror. If the reflection of your eye and the reflection of the secondary mirror on the main mirror are not concentric, insert the collimating tool into one of the collimation screws that are located on each side of the main mirror, Figure 9.1. When you turn the collimation tool you will notice that the hexagonal head of the tool will lock into the hexagonal head of the collimation screw. Now you can adjust the main mirror by turning the collimation tool, Figure 9.2. Adjust the screws until the eye and the reflection of the secondary are centered in the main mirror.
Practice this until you get a feel of what a turn of one of the collimation screws is doing.
Fine Collimation
NOTE: Please take care that the telescope has time to adapt to the ambient temperature before starting collimation – this will need up to 30 minutes (otherwise you will not get a good star image). You may use the fans to speed up this process.
During fine collimation, locate Polaris and view it with high magnification.
If the telescope is collimated well, you will see a system of dim rings of light surrounding a central bright spot —the so-called airy disc. You will also notice a dim cross of light coming from this airy disc. This is the diffraction that is caused by the secondary spider vanes. We have left this cross out of the next figures for clarity. What we want to
see is shown in Figure 12 – a central airy disc that is surrounded by concentric rings. However, it is much more likely that the picture will be different – more like Figure 10. It is essential that you always center the star because outside of the optical axis all stars do show some distorted images. Note: You will get those images only during moments of perfect steady air because air turbulence will distort this image. However the collimation goal remains the same – getting a concentric star image. So let us assume you have good seeing and your eyepiece shows you something like Figure 10:

Try turning the main mirror collimation screws – when you are turning the correct screw in the proper direction, you will notice that the distracting “tail” is getting shorter (Figure 11):
Remember to recenter the star after you have turned a screw. When the telescope is perfectly aligned, you will see the picture of Figure 12 (when the air is perfect). During the use of your telescope you will get a feeling for this – it does not make sense to spend a lot of time on collimation when the air is moving too much.
Important: Outside the optical axis (the middle of the field of view) all stars will be distorted and show tails directed to the edge of the field of view. If you are using cheap eyepieces those star images will be even more distorted because the off-axis aberrations of the telescope and the eyepiece will add up. For this reason it is essential to recenter Polaris after every turn of a collimation screw because the turning of the screw will also shift the star from its centered position. As mentioned before it may not be possible to get a sharp star image during periods of turbulent air. In this case try to achieve a symmetrical image during collimation. If you don’t see any more improvement abort the process. During nights of unsteady seeing it is not recommended to use high magnification. Try to enjoy low magnification objects like nebulae, clusters and galaxies on those nights instead of fretting over the bad conditions.
Using Your Dobsonian
Your Explore Scientific Dobsonian is a precision optical instrument and should be used with care. Try to avoid exposing your telescope to vibrations because this may cause the telescope to lose collimation.
Aligning the viewfinder
The red dot that is used by the finder scope is not readily visible during the day. For this reason you should align the finder scope once it is dark.
To do this:
- Insert an eyepiece with low magnification into the focuser of the telescope and make sure that the red dot finder scope has loaded batteries and is switched on.
- Look through the eyepiece and center an object that is easy to find at a minimum distance of more than 800 yards, like a street lamp.
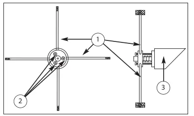
- Look through the red dot finder and move your head until you see the red dot of light that is projected onto the glass window. Adjust the finder with the two screws until the red dot is on top of the object that is centered in the telescope’s eyepiece. You can fine-tune the finder collimation on a celestial object, like a bright star or a crater on the moon, by following the same procedure.
Focuser
The focuser of the Explore Scientific truss Dobsonian is a single speed focuser.
Important: Never try to force the focuser beyond the stops. Do not turn the focuser knobs while the focuser is locked. Turning the focuser knobs while the focuser is locked
may result in damage to the focuser.
The telescope comes with two extension tubes, 25mm and 20mm tall. This is needed so the eyepiece can focus. One 25mm extension tube comes pre-installed and the
second 20mm extension tube can be added as needed depending on the eyepiece magnification.
To install the 20mm extension tube, unthread the adapter and 25mm extension tube together from the draw tube. Thread the second extension tube onto the draw tube then thread the adapter and 25mm extension tube onto the second extension tube, Figure 13. Your included eyepiece can now be inserted to the 1.25in adapter by untightening the tension screw, sliding in the eyepiece and tighten the tension screw to tighten the compression ring lock, Figure 14.
Your telescope is compatible of using 2in eyepieces, sold separately, by loosing the three tension screws from the tension collar and removing the 1.25in adapter.
Important: The tension collar is equipped with threads that will allow users to attach a camera to the telescope.
However you will need a camera specific device called a T-ring (sold separately) that goes between the tension collar and the camera.
Observing
Astronomical observations
The first observations should be performed during dusk so that you get familiar with your new telescope quickly.
Always remember never to look at or near the sun! Choose a land object that is easy to find and far away, such as a mountain top. Roughly point the telescope at the object. Now look through the finder scope and move the telescope until the red dot of light appears centered onto the object. If you are looking through an eyepiece with low magnification, you should now be able to see the object in the telescope. Focus the image carefully, center it in the field of view and fine tune the alignment of the finder if necessary.
Moon
The Moon can be observed best during the periods where less than 50% of its surface is bright. So you can see the detailed shadows that the sun is causing when the light hits the craters from the side angle – creating a 3D-like experience. We recommend using a neutral density filter for the Moon that reduces the glare. During a Full Moon, the surface appears evenly bright without contrast and prominent structures. If you are spending a few successive nights watching the Moon you will notice the change in the appearance of the mountains, craters and maria due to the change of the phase of the Moon – a very interesting effect!
The planets
During their orbit around the sun the planets are continuously changing their position on the sky. When they are visible, the following planets are especially suited for observations with your telescope:
Venus:
The diameter of Venus is about 9/10 the diameter of the Earth, and it is the third brightest object in the sky (after the Sun and the Moon). As Venus orbits the Sun, you can observe the change of the light phases — sickle, half Venus, full Venus — very much like the phases of the moon. The planetary disc of Venus appears white because the
sunlight is reflected by a compact layer of clouds that covers all surface details.
Mars:
The diameter of Mars is about half of the Earth’s diameter. In a telescope, Mars will appear as a tiny red-orange disk.
You may see a tiny white patch when you look at the polar regions that are covered in ice. About every two years, when Mars and Earth reach their closest distance you can discover new features.
Jupiter:
The biggest planet in our solar system is Jupiter. In a telescope, the gas giant appears as a disk that is covered in dark lines. Those lines are cloud bands in the atmosphere of Jupiter. Even with low magnification, 4 of the 67 moons of Jupiter are often visible. These are the Galilean moons (Io, Ganymed, Europa and Callisto). Because those moons
are orbiting Jupiter the visible number and position changes. Sometimes a moon passes above the planetary disc of Jupiter – then the shadow of the moon can be spotted on the planet as a sharp dark spot.
Saturn:
Saturn has a diameter about nine times the Earth’s diameter and appears as small roundish disc with a distinct set of rings that bulge out from the edges of the planetary disc. Galileo, who was the first human observer of this planet in 1610, couldn´t know that the planet had rings. Instead, he described Saturn as having “ears“. The rings of Saturn mainly consist of billions of icy particles – ranging from tiny dust to the size of a house. The biggest division in the rings, the so called “Cassini division” should be easily seen with your telescope in nights of steady air. Titan, the biggest of the 62 moons of Saturn, is also visible as a bright, starlike object in the vicinity of the planet. Up to six moons may be detected in your telescope.
Deep-Sky Objects
To locate constellations, stars or other deep-sky objects, it makes sense to use a star chart. We will list a selection of deep sky objects here:
Stars are giant objects that mainly consist of gas. Due to the nuclear fusion in their core they radiate energy and shine. The stars are extremely far away. Because of this vast distance they appear as tiny spots of light in your telescope, despite their size – no matter how big your telescope is.
Nebulae are giant interstellar clouds of gas and dust. Within those clouds new stars are being born. The premier nebula on the northern hemisphere is the Great Orion Nebula, a diffuse nebula that looks like a fuzzy patch of light in the sword that branches off of Orion’s Belt. Also known as M42, it contains many intriguing features that pop to life in a telescope.
An open cluster is a group of young stars that were born in a single diffuse nebula not too long ago (on an astronomical time scale). The Pleiades is an open cluster that is relatively young, having formed within the last 100 million years, and lies relatively close to Earth at about 440 light years away. Found in the Taurus constellation, it consists of more than 1,000 visual stars, although an average of only six are visible to the naked eye. A dark sky free of light pollution can help a dedicated observer see around a dozen Pleiades stars, but your telescope will quickly reveal many more of the elusive members of this legendary cluster.
Constellations are big patterns of stars that were believed to be celestial representations of men, gods and objects by old civilizations. Those patterns are too big to be observed at a single glance through a telescope. If you want to become familiar with the constellations, start with a pattern that is easy to find, like the Big Dipper in the constellation Ursa Major. Try to locate the other constellations in the neighborhood of this constellation in the second step and move on to other patterns.
Galaxies are gigantic accumulations of stars, nebulae and clusters that are held together by gravity. Most galaxies have a spiral shape (like for example our own Milky Way galaxy), but there are also galaxies with elliptical or irregular shapes. The closest spiral galaxy is the Andromeda Galaxy (M31). The core of M31 looks like a bright patch of light in your telescope – under dark clear skies you will be able to detect features in this object with your telescope.
Hints and Tricks
Marking with luminous paint: As noted above in the section about assembly it is very helpful to mark the positions of the altitude wheels and the trusses. This helps when assembling the telescope at night and keeps collimation issues at a minimum.
We also recommend marking your screws with a patch of luminous paint because it makes finding lost parts a lot easier to find when dropped in the grass and often makes it unnecessary to use a flashlight, which would ruin the night vision of other observers.
Image orientation: You may have noticed that objects appear to be upside down and mirrored in your telescope.
This is the case in almost every astronomical telescope and does not cause any problem during astronomical observations.
Moving the telescope: Because of the Earth’s rotation all objects will drift across the field of view. To compensate for this movement you have to move the telescope smoothly and slowly. The higher the magnification the more accurate this tracking movement has to be. Another solution is to place the object on the eastern rim of the field of view and let it drift across the field, then reposition it on the eastern rim again. However – this method only works with good eyepieces that are delivering a sharp image up to the edge of the field.
Vibrations: Try to avoid touching the eyepiece or telescope during observations. This will cause unsteady views.
Night vision: Give your eyes some time to adapt to the darkness. This takes about 20-30 minutes after an exposure to a bright light – even if it is a short exposure. Use a dim light with a red filter to read star charts or draw objects –dim red light does not influence your eye’s adaption very much.
Horizon viewing: Planets and other objects that are close to the horizon are severely influenced by air movement.
It is much better to time your observations in a way that those objects are close to the meridian (overhead), so that they are on their highest position possible. If the image is dim or moving too fast to easily track, use a smaller magnification. Using too much magnification is a mistake that is made very often by beginners.
Warm clothing: Even in the summer the nights may get very cold during clear nights, especially in the mountains.
Always remember to bring warm clothing — thick jackets, beanies, gloves, winter shoes and thick socks — even if you were sweating during the day. It is hard to enjoy even the best night when you are freezing!
Explore your observing site during the day: The ideal site should be far off of frequently used streets and other light sources that would prevent your eyes from adapting to the dark. Keep in mind that it is likely to get foggy in the vicinity of open water, such as river valleys or lakes. The ground should be solid and relatively flat. You can observe in the city, but try to get to a place some distance away, where you can see the Milky Way if possible.
You can get really good conditions as close as 50 km outside of cities. If relocating to a more rural area is not a possibility, try to position your scope away from as many artificial light sources as possible. An old astronomers quote says: “ You cannot really replace a dark sky by anything other than a darker sky”
Calculating magnification
The magnification of a particular telescope configuration is determined by two factors — the focal length of the telescope and the focal length of the eyepiece. You will find the focal length of almost all eyepieces written on the eyepiece body.
The magnification is determined by the following formula:
Magnification = Telescope focal length divided by eyepiece focal length
For example, for a 10-inch Dobsonian and a 20mm eyepiece: Magnification = 1270mm/20mm = 63.5x

The eyepiece type, like modified achromatic, Plössl or Super Plössl, does not have any influence on the magnification, but determines other optical properties like apparent field, chromatic error correction and flatness of the field of view.
The maximum usable magnification is about two times the diameter of the aperture in millimeters. However, in nights of bad to average seeing much lower magnifications will produce a more detailed and steadier image. High magnifications should only be used during periods of extremely steady air on special objects, like double stars.
When you are starting to observe an object, always start with a low magnification. Then center the object in the field of view and focus with care. Now you can try a higher magnification. When the image is becoming fuzzy or is moving too fast, go back to the last magnification. Atmosphere – and thus seeing conditions – is always changing.
Please notice that a sharp image at a low magnification will show you more than an over-magnified fuzzy view.
Service, Maintenance and Accessories
Your Explore Scientific truss Dobsonian is a precision instrument that will provide many years of fun. When you are treating this telescope with the same care as, for example, an expensive camera, it is very unlikely that you will ever need to return it for service or maintenance. For instructions on how to remove the primary mirror for cleaning call customer service at 866.252.3811.
NOTE: DO NOT USE AGGRESSIVE CLEANERS!
Do not use photographic lens cleaners and cloths that have been perfume impregnated, colored or soaked with lotion, to clean any optical surfaces. If using such cleaning agents, the optics can be permanently damaged!
Please note the following recommendations for maintaining your telescope:
- Try to avoid cleaning the optics. Dust on the optical system will not deteriorate the performance of the optical system by any noticeable amount. Dust should not be a reason to clean the optics.
- If cleaning the optics is necessary it is best to brush away the dust with a fine camel hair brush as it is used for photographic equipment. Do NOT use optical lens cleaning tissues as many contain fiberglass particles that can be abrasive.
- Organic dirt (fingerprints etc.) can be removed from the optical surface with a mixture of 3 parts distilled water and one part pure isopropyl alcohol (99%). Only use soft, white, unscented, lotion-free tissues to wipe optics. Soak the primary mirror to dissolve the dirt and remove the fluid with short, cautious strokes. Remember to change tissues every few strokes. For instructions on how to remove the primary mirror for cleaning call customer service at 866.252.3811.
NOTE: NEVER REMOVE THE SECONDARY MIRROR! - While you are using your telescope during the night you will eventually have dew condensing on the surfaces.
This will not cause any trouble – your telescope is designed to take a little moisture without problems. When you store the telescope, however, we recommend wiping the surfaces (except for the optics) with a dry cloth and giving the telescope some time to evaporate the water on the optics by putting the telescope into a dry room with the lid of the mirror box open. Wait until all water has dried off before storing the telescope.
Accessories:
Explore Scientific has a large portfolio of accessories available for your telescope.
For a complete overview of these accessories, visit www.explorescientific.com.
If you have any question regarding this product, please do not hesitate to contact our Customer Service department at 866.252.3811 or at https://explorescientific.supportsync.com. In case of the unlikely event that your telescope needs service or repair at our facility, please contact one of our customer service representatives before sending anything back. The large majority of service issues can be dealt with on the phone without sending anything back to us.
Specifications
10” Truss-tube Dobsonian Technical Specifications
| Tube: | open truss design |
| Upper tube ring: | metal tubing including secondary spider and holder, plus focuser and truss connectors |
| Mirror box: | with main mirror and truss connectors |
| Trusses: | powder coated aluminum with connectors |
| Secondary spider: | 4-arm, steel |
| Main mirror: | 10 inch (254 mm), parabolic, aluminum coated with protective layer, 94% reflectivity |
| Focal length: | 1270 mm |
| Focal ratio: | f/5 |
| Focuser: | Single-speed |
| Mount: | Dobsonian |
| Finder: | red dot finder |
| Mirror box with mirror weight | 31.5 lbs. |
| Altitude box weight: | 12.5 lbs. |
| Secondary cage with secondary mirror weight: | 6.35 lbs |
| Truss tube (1 of 4) weight: | 1 lbs each |
| Total weight: | 54.35 lbs |
© 2022 Explore Scientific, LLC.
1010 S 48th Street, Springdale, AR 72762
explorescientificusa.com | exploreone.com | 866.252.3811
All rights reserved. Made in China.




















