SONY XS-W122ES 12-Inch 2-ohm Component Subwoofer Instructions
Dimensions

- A. Reference Point
- B. Reference Plane
- C. Reference Axis
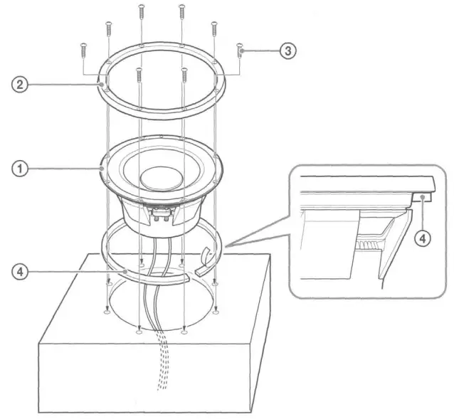
Parts list

Specifications
Speaker
Woofer 30 cm (12 in), cone type
Short-term Maximum Power*1
2,000 W*2
Rated power
400 W*2
CTA 2031 RMS Power
500W
Rated impedance
2Q
Output sound pressure level
80.5 dB±2 dB (1 W, 1 m)*2
in-car output sound pressure level
83.5 dB (1 W, @driver’s seat)*’
Effective frequency range
20 – 700 Hz*2
Mass
Approx. 5,500 g (12 lb
Supplied accessory
2 oz) per speaker
Parts for installation
Design and specifications are subject to change without notice.
*1 “Short-term Maximum Power” may also be referred to as “Peak Power”.
*2Testing Condition: IEC 60268-5 (2003-05)
*’Testing Condition: Inside the car
Installation
Precautions
- Do not continuously use the speaker system beyond the peak power handling capacity.
- Keep recorded tapes, watches, and personal credit cards using magnetic coding away from the speaker system to protect them from damage caused by the magnets in the speakers.
- Please note the following when installing the units; otherwise malfunction and/or deterioration in sound quality may result.
- Do not touch the diaphragms and/or speaker cones by hand or with tools.
- Do not put your fingers through the holes of the frame.
- Do not drop foreign objects in the units.
- Do not place this product close to medical devices.
- This product (including accessories) has magnet(s) which may interfere with pacemakers, programmable shunt valves for hydrocephalus treatment, or other medical devices. Do not place this product close to persons who use such medical devices. Consult your doctor before using this product if you use any such medical device.
- The subwoofer is heavy, so attach it firmly to a solid thick, baffle plate or metal board.
- Make a woofer box, using wooden boards at least 18 mm {23132 in) thickness.
If you cannot find an appropriate mounting location, consult your car dealer or your nearest Sony dealer before mounting.
Example

- Unit: mm (in)

- Speaker cord (not supplied)
Unit: mm (in)
Red ring:
Black ring :

Connections

Thiele/Small parameters
| Rated impedance | 2Q |
| d(mm) | 254 |
| d (inch) | 10 |
| Rdc(Q) | 2.73 |
| Fs (Hz) | 35.3 |
| Qts | 0.74 |
| Qes | 0.80 |
| Oms | 8.88 |
| Vas in litres | 35.3 |
| Vas in cu.ft | 1.25 |
| Mms(g) | 197 |
| Lvc (mH) | 15.4 |
| Xmax (mm) | 7.7 |
| Xmax {inch) | 5/16 |
| BL(Tm) | 12.2 |

Enclosure design information
Sealed Type
Unit: mm (in)
| A | B | C | D |
| 430 (17) | 370 (14 5/8) | 240(9 ½) | 18 (23/32 ) |
Enclosure Volume (Net)*
23.8 Lit. (0.84 cu.ft)
- Net volumes do not include the air volume displaced by the speaker.
Ported Type
Unit: mm (in)

| A | B | C | D | E | F |
| 430 (17) | 370 (14 5/8) | 360(14 ¼) | 18 (23/32) | 0 85 (3 3/8) | 280 (11 1/8) |
Enclosure Volume (Net)*
38.0 Lit. (1.34 cu.ft)
- Net volumes do not include the air volume displaced by the speaker and port. This port should be a solid, not a hollow object.
LIMITED WARRANTY
U.S. and Canada only – 3 years
Sony Electronics Inc. solely for purchases made in the United States and Sony of Canada Ltd. solely for purchases made in Canada (collectively “Sony”) warrants this product against defects in material or workmanship for the original owner and any subsequent end user owner(s) (”You” or ”Your”) for the time period set forth above as set forth herein. Pursuant to this Limited Warranty, Sony will, at its option, (i) repair the product using new or refurbished parts or (ii) replace the product with a new or recertified/refurbished product of the same (or similar) model. For purposes of this Limited Warranty, “recertified” or “refurbished” means a product or part that has been returned to its original specifications. In the event of a defect, these are Your exclusive remedies. Sony does not warrant that the operation of the product will be uninterrupted or error-free.
Term: For the time period set forth above from the original date of purchase of the product when purchased directly from Sony or Sony authorized dealer (To determine if a dealer is in the Sony authorized dealer network, please visit US: www.sony.com/retailers; Canada: https://dealerlocator.sony.ca/locator; or contact Sony directly), Sony will, at its option, repair or replace with a new, recertified or refurbished product or part, any product or part determined to be defective.
This Limited Warranty covers only the hardware components packaged with the product. It does not cover separate accessories, technical assistance for hardware or software usage and it does not cover any software products whether or not contained in the product, and other included content; any such software or other included content is provided “AS IS” unless expressly provided for in any enclosed software Limited Warranty or End User License Agreement. Please refer to the End User License Agreement(s) included with the product for Your rights and obligations with respect to the software or other included content. If You purchased an extended service plan, please refer to the service plan for the coverage, duration and terms of service. Extended service plans are not governed by this Limited Warranty.
To obtain warranty service, You must deliver the product, in either its original packaging or packaging affording an equal degree of protection to a Sony authorized service center together with a dated purchase receipt in order to obtain warranty service. Sony cannot guarantee that it will be able to repair any product under this warranty or make a product exchange without risk to or loss of software or data. It is Your responsibility to remove or backup any removable media or parts, data, software or other materials You may have stored or preserved on Your product. It is likely that any media or parts, data, software, or other materials (like pictures, music, videos, etc.) will be lost or reformatted during service and Sony will not be responsible for any such damage or loss. Contact the following for spec~ic instructions on how to obtain warranty service for Your product:
For purchases made in the UNITED STATES:
Visit Sony’s Website: www.sony.com/support Or call the Customer Experience Center: 1-800-222-SONY (7669)
To register Your product or for contact information to purchase accessories or parts go to Sony’s Website
For purchases made in CANADA:
Visit Sony’s Website: www.sony.ca/support Or call the Customer Experience Center: 1-877-899-SONY (7669)
To register Your product or for contact information to purchase accessories or parts go to Sony’s Website On-site service for televisions of certain dimensions may be available to a customer living within a 50km radius of an authorized Sony service facility, provided the residence can be accessed by an on-road service vehicle.
Repair/Replacement Warranty: This Limited Warranty shall apply to any repair, replacement part or replacement, recertified or refurbished product for the remainder of the original Limited Warranty period or for ninety (90) days, whichever is longer. Any parts or product replaced under this Limited Warranty will become the property of Sony. Any replacement, recertified or refurbished product provided under this Limited Warranty may, at Sony’s option, vary in color and/or cosmetic design from the original product and may not include any original engraving or similar customization/personalization.
Sony is not responsible for, and this Limited Warranty does not cover, any damage arising from a failure to operate the product within its intended uses, or otherwise follow the owner’s manual and safety instructions relating to the product’s use and installation. Sony is not responsible for any labor or parts costs you incur relating to repairs or services from providers/servicers other than from a Sony authorized service center. This Limited Warranty only covers product issues caused by defects in material or workmanship during ordinary consumer use. This Limited Warranty does not cover products purchased fro sources other than Sony or a Sony authorized dealer (including non-authorized online auctions), or issues due to: (i) outdoor exposure and other acts of nature; (ii) power surges; (iii) accidental damage; (iv) abuse; (v) limitations of technology; (vi) cosmetic damage; (vii) contact with liquid, heat, humidity or perspiration, sand, smoke, or foreign materials; (viii) damage, malfunction and/or failure to product resulting from use of parts or supplies not sold or authorized by Sony; (ix) damage, malfunction and/or failure to product resulting from servicing not authorized or performed by Sony or a Sony authorized service center; (x) computer or internet viruses, bugs, worms, or Trojan Horses; (xi) malfunctions due to peripherals/accessories; (xii) modifications of or to any part of the product, including “rooting” or other modifications to cqntrol the behavior of the product or any factory installed operating system; (xiii) consumable parts such as batteries; or (xiv) any product where the factory-applied serial number has been altered or removed from the product. Further, to the extent this product incorporates use of a display, please note that a display contains hundreds of thousands of individual pixels, and displays typically contain a small number of pixels that do not function properly. This Limited Warranty does not cover up to .01 % pixel outages (small dot picture elements that are dark or incorrectly illuminated).
This Limited Warranty does not cover Sony products sold “AS IS” or “WITH ALL FAULTS” or consumables (such as fuses or disposable batteries). Sony will not replace missing components from any package purchased “Open Box” or “AS IS”. This Limited Warranty is valid only in the United States and Canada (as applicable).
LIMITATION ON DAMAGES: SONY SHALL NOT BE LIABLE FOR ANY INCIDENTAL OR CONSEQUENTIAL DAMAGES FOR BREACH OF ANY EXPRESS OR IMPLIED WARRANTY OR CONDITION ON THIS PRODUCT. NOR SHALL RECOVERY OF ANY KIND AGAINST SONY BE GREATER THAN THE ORIGINAL PURCHASE PRICE OF THE PRODUCT FROM SONY OR AN AUTHORIZED SONY DEALER. DURATION OF IMPLIED WARRANTIES OR CONDITIONS: EXCEPT TO THE EXTENT PROHIBITED BY APPLICABLE LAW, ANY IMPLIED WARRANTY OF MERCHANTIBILITY OR FITNESS FOR A PARTICULAR PURPOSE ON THIS PRODUCT IS LIMITED IN DURATION TO THE DURATION OF THIS LIMITED WARRANTY.
Some jurisdictions do not allow the exclusion or limitation of incidental or consequential damages, or allow limitations on how long an implied warranty lasts, so the above limitations or exclusions may not apply to You. This Limited Warranty gives You specific legal rights and You may have other rights which vary from jurisdiction to jurisdiction.
For purchases made in the U.S.: Read the following Dispute Resolution/Arbitration provision carefully. It details Your rights and instructions should a dispute related to the product arise.
What Happens If We Have A Dispute: Should a dispute or claim arise related to the product, Your purchase and/or use of the product, the terms of this Limited Warranty, or any service provided under the terms of this Limited Warranty (including any repair or replacement) (“Dispute”), You and Sony agree that the Dispute shall be resolved exclusively through binding arbitration. YOU UNDERSTAND AND ACKNOWLEDGE THAT BY AGREEING TO ARBITRATION, YOU ARE GIVING UP THE RIGHT TO LITIGATE (OR PARTICIPATE IN AS A PARTY OR CLASS MEMBER) IN ANY DISPUTES IN COURT. You also agree that ANY DISPUTE RESOLUTION PROCEEDING WILL ONLY CONSIDER YOUR INDIVIDUAL CLAIMS, AND BOTH PARTIES AGREE NOT TO HAVE ANY DISPUTE HEARD AS A CLASS ACTION, REPRESENTATIVE ACTION, CONSOLIDATED ACTION, OR PRIVATE ATTORNEY GENERAL ACTION. Despite the above, You have the right to litigate any Dispute on an individual basis in small claims court or other similar court of limited jurisdiction, to the extent the amount at issue does not exceed $15,000, and as long as such court has proper jurisdiction and all other requirements (including the amount in controversy) are satisfied.
Arbitration Instructions. To begin Arbitration, either You or Sony must make a written demand to the other for arbitration. The Arbitration will take place before a single arbitrator. The arbitration will be administered in keeping with the Expedited Procedures of the Commercial Arbitration Rules and the Supplementary Proceedings for Consumer-Related disputes (“Rules”) of the American Arbitration Association (“AAA”), when applicable and in effect when the claim is filed. You may get a copy of AAA’s Rules by contacting AAA at (800) 778-7879 or visiting www.adr.org. The filing fees to begin and carry out arbitration will be shared between You and Sony, but in no event shall Your fees ever exceed the amount allowable by the special rules for Consumers Disputes provided for by AAA, at which point Sony will cover all additional administrative fees and expenses. This does not prohibit the Arbitrator from giving the winning party their fees and expenses of the arbitration when appropriate pursuant to the Rules. Unless You and Sony agree differently, the arbitration will take place in the county and state where You live, and applicable federal or state law shall govern the substance of any Dispute during the arbitration. However, the Federal Arbitration Act, 9 U.S.C. § 1, et seq., will govern the arbitration itself and not any state law on arbitration. The Arbitrator’s decision will be binding and final, except for a limited right of appeal under the Federal Arbitration Act.
Opt-Out Instructions. IF YOU DO NOT WISH TO BE BOUND BY THE BINDING ARBITRATION PROVISION, THEN: (1) You must notify Sony in writing within 30 days of the date that You purchased the product; (2) Your written notification must be mailed to Sony Electronics Inc., 16535 Via Esprillo, MZ 1105, San Diego CA 92127, Attn: Legal Department; AND (3) Your written notification must include (a) Your NAME, (b) Your ADDRESS, (c) the DATE You purchased the product, and (d) a clear statement that “YOU DO NOT WISH TO RESOLVE DISPUTES WITH ANY SONY ELECTRONICS ENTITY THROUGH ARBITRATION AND/OR BE BOUND BY THE CLASS ACTION WAIVER.”
Opting out of this dispute resolution procedure will not affect the coverage of the Limited Warranty in any way, and You will continue to enjoy the benefits of the Limited Warranty.
Owner’s Record
The model and serial numbers are located on the bottom of the unit.
Record the serial number in the space provided below.
Refer to these numbers whenever you call upon your Sony dealer regarding this product.
Model No. _________________________
Serial No. _________________________
EUROPEAN GUARANTEE INFORMATION DOCUMENT

6bnrap11111
MHcj>opMa._MH 3a esponeifcKaTa rapaH._MH
CoH111 IOpbn B.V., KJlOH 6bflrap111>1 Registered foreign name: Sony Europe B.V., branch Bulgaria 61113Hec napK Co1, crpaAa 4, era>K 4 M11aAOCT 4, 1766 Co<plllR ff 0700 1 7669 www.sony.bg/guarantee Ceska republika lnformace o evropske zaruce Sony Europe B.V., odstepny zavod V Parku 2308/8, 148 00 Praha 4 148 00 Chodov
0239016607
www.sony.cz/guarantee
Danmark
Europa!isk Garanti lnformationsdokument
Sony Nordic Denmark, filial af
Sony Europe B.V. NL lndustriparken 29 2750 Ballerup
38322724
www.sony.dk/guarantee
Osterreich
lnformationen zur europaischen Garantie
Sony Europe B.V., Zweigniederlassung Austria Wienerbergstra8e 41 1120Wien
0179567639
www.sony.at/guarantee
Schweiz – Suisse – Svizzera
lnformationen zur europaischen Garantie Document d’information sur la garantie europeenne Documento lnformativo sulla Garanzia Europea Sony Europe
B.V., Hoofddorp, Schlieren/Switzerland Branch Wiesenstrasse 5 8952 Schlieren
DE: 0227614182
FR: 0227614183
BIT :0227614184
www.sony.ch/de/guarantee
www.sony.ch/fr/guarantee
Deutschland
lnformationen zur europaischen Garantie.
Sony Europe B.V., Zweigniederlassung Deutschland Kemperplatz 1 10785 Berlin
069 95086319
(Festnetztarif) Mo. – Fr. von 09:00 – 18:00
www.sony.de/guarantee
Belgie – Belgique
lnformatiedocument Europese garantie Document
d’information sur la garantie europeenne Sony Belgium, bijkantoor van Sony Europe B.V. The Corporate Village Da Vincilaan 7 Dl, 1930 Zaventem
NL: 027131626
FR: 027131632
www.sony.be/nl/guarantee
www.sony.be/fr/guarantee
Luxemburg – Luxembourg
lnformationen zur europaischen GarantieDocument d’information sur la garantie europeenne
Sony Belgium, bijkantoor van Sony Europe B.V. -The Corporate Village Da Vincilaan 7 Dl, 1930 Zaventem ff
FR: +352 (O) 3420808062 ff
DE: +49 (0) 6995086319
www.sony.lu/de/guarantee
www.sony.lu/fr/guarantee
Ella6a – Kunpoc;
‘EVtuno Evqµipwoq( twv opwv tq( Eupwno’iKq( Eyyuqoq( Sony Europe B.V., Greek branch Aµapouoiou Xa11avopiou 18-20, 15125 napa6£100<; Aµapouoiou, A0~va, E11Moa ff 2111988791 (an6 E11Moa yta KA~oEt<; 1600 an6 OT00Ep6 600 KOl an6 Ktv1716)
800 91150
(an6 Kunpo yta KA~oEt<; 1600 an6 OT00Ep6 600 KOl an6 KlVl716)
www.sony.gr/guarantee
Eesti
Teave Euroopa garantii kohta
Sony Europe B.V. filiale Latvia Dzelzavas 120G Riga LV-1021 Latvia
6543484
www.sony.ee/guarantee
United Kingdom
European Guarantee Information Document
Sony Europe B.V. The Heights, Brooklands, Weybridge, Surrey, KT13 OXW
0207 365 2810
www.sony.eo.uk/guarantee
Latvija
lnformacija par Eiropas garantiju
Sony Europe B.V. filiale Latvia Dzelzavas 120G RigaLV-1021 Latvia
67046049
www.sonylatvija.com/guarantee
Espana
lnformacion sobre la Garantia Europea
Sony Europe B.V. sucursal en Espana Avda. Diagonal 640 planta 4 A 08017 Barcelona
0917496388
www.sony.es/guarantee
Suomi
Eurooppalainen takuu tiedote
Sony Europe B.V., Suomen sivuliike, Registered foreign name: Sony Europe B.V., Finland branch Plaza Business Park Loiste iiyritie 20, 0151 0 Vantaa
09 69 379 450
www.sony.fi/guarantee
France
Document d’information sur la garantie europeenne
Sony France, succursale de Sony
Europe B.V.
49/51, quai de Dion Bouton
92800 Puteaux
France
0155695127
www.sony.fr/guarantee
Bosna i Hercegovina
lnformacije o evropskoj garanciji
Sony Europe B.V., Predstavnistvo u Bosni i Hercegovini
Zmaja od Bosne bb -TC Robot IV floor/sprat
71000 Sarajevo
0800 82884
www.sony.ba/guarantee
Hrvatska
Europski dokument o jamstvu
Sony Europe B.V:
Poduznica Zagreb za usluge
Avenija Dubrovnik 16
10000 Zagreb
(01) 7776490
www.sony.hr/guarantee
Magyarorszag
Europai Jotallasi informaciok
Sony Europe B.V. Magyarorszagi Fi6ktelepe
Foreign name :Sony Europe B.V., Hungarian Branch Office
Vaci ut 144.-1so.
1138, Budapest
80617779151
www.sony.hu/guarantee
Italia – Malta
Documento lnformativo sulla Garanzia Europea
Sony Europe B.V.
Sede Secondaria ltaliana
Via Angelo Riuoli, 4
20132 (Milano)
0269682104
www.sony.it/guarantee
Lietuva
Europines garantijos informacinis dokumentas
Sony Europe B.V. filiale Latvia
Dzelzavas iela 120G
RigaLV-1021
LT: 880040008
www.sony.lt/guarantee
MaKeAOHMja
EeponCKM AOKyMeHT 3a rapaHTHM MH4>opMaL1MM
CoH11 Espona B.V. -npercraBHl1WTBO CKOnje,
Peny6n11Ka MaKeAOH11ja
Soravia Centar Skopje, Vojvoda Vasil Ajilarski bb
1000 Skopje
Republic of Macedonia
080097373
www.sony.corn.mk/guarantee
Nederland
lnformatiedocument Europese garantie
Sony Benelux
Een onderdeel van Sony Europe B.V.
Taurusavenue 16
2132 LS Hoofddorp
0203469524
www.sony.nl/guarantee
Norge
Europeisk garanti informasjon dokument
Sony Nordic (Norway),
A branch of Sony Europe B.V.
Lysaker Torg 25
1366 Lysaker
23162592
www.sony.no/guarantee
Polska
Gwarancja Europejska -lnformacja
Sony Europe B.V., (Sp6tka z
ograniczonq odpowiedzialnosciq)
Oddziat w Polsce
UI. Ogrodowa 58
00-876 Warszawa
0223060694
www.sony.pl/guarantee
Portugal
Documento de garantia europeia
Sony Europe B.V., SUCURSAL
EM PORTUGAL
Av. D. Joao II, N° 44C, Piso 6.4
Ediffcio Atlantis
Parque das Na~6es
1990-095 Lisboa
808 201 732
www.sony.pt/guarantee
Romania
Document informativ despre garantia europeana
Sony Europe B.V., Weybridge Sucursala Bucuresti
Bucharest Business Park,
Sos. Bucuresti – Ploiesti, 1 A,
Sector 1
013681, Bucuresti
0372723019
www.sony.ro/guarantee
Slovenska Republika
lnformacny dokument o Europskej zaruke
Sony Europe B.V., organizacna
zlozka Slovensko
Karadzicova 10
082198 Bratislava
026 862 2188
www.sony.sk/guarantee
Slovenija
lnformacijski dokument o evropski
garanciji
Sony Europe B.V., Podruznica
Dunajska 156
1000 Ljubljana
01 8888761
www.sony.si/guarantee
Srbija
Evropski dokument o garanciji
PREDSTAVNISTVO SONY EUROPE B.V. BEOGRAD,
88A OMLADINSKIH BRIGADA ST.
Omladinskih brigada 88a
11070 Belgrade
0800 190 978
www.sony.rs/guarantee
Sverige
Europeisk garanti informasjon dokument
Sony Nordic (Sweden), Filial till
Sony Europe B.V. (NL)
Torshamnsgatan 20
SE-164-40 Kista
08 587 69220
www.sony.se/guarantee
Ireland
European Guarantee Information Document
Sony Europe B.V.,
Ireland Office
The Link Business Centre,
Gl Calmount Park Ballymount,
Dublin 12, Dl 2 TH56
014073341
www.sony.ie/guarantee






















