Amico Speak 410 Uc Speakerphone for Pc Instructions
Medical Facility Responsibility
Preventive maintenance checks must be performed regularly to maintain the quality and performance of this product. Any parts that may be broken, missing, worn, distorted, or contaminated in any way should not be used and all affected parts should be replaced immediately. Should the necessity of any repair be suspected; please contact your local distributor.
WARNING: This Quick Installation and Maintenance Guide is for retrofitting existing Hummingbird cart with the HMA-VESA-SPKT-PLT and CAMHLD for telehealth usage. User may refer to the full Hummingbird manual for aspects associated to the mobile workstation.
WARNING: Ensure the installation is performed away from the patient in a safe proximity to avoid any potential injuries to any person.
Cabling

ENSURE THAT PASSING OF MONITOR CABLES THROUGH SWIVEL POST HAPPENS PRIOR TO MOUNTING THE MONITOR TO THE VESA PLATE.
Installation Tools
#1 Phillips Head Screwdriver
11/32 Wrench for #8 Nut
Hardware Kits
Height Adjustable Display:
Fixed Display Height:
4x H-PHMS-M4-14 1x H-FIT-PST-ROD (14.5″)
Attaching Monitor & Speaker Mounting Plate

Reorientation of the Speaker Holder Plate
UNSCREW 4x H-PHMS-832-516 TO CHANGE ORIENTATION O THE SPEAKER PLATE.

HORIZONTAL FEATURE: QUICK RELEASE
VERTICAL FEATURE: SECURITY FOR DEVICE (LOCKS UNDER MONITOR – REQUIRES TOOLS)
Vertical Orientation
THE SPEAKER IS TO BE INSERTED INTO THE HOLDER PLATE PRIOR TO THE MONITOR. LIFT AND HOLD THE MONITOR, UNSCREWING FROM THE VESA PLATE MAY BE REQUIRED (IF CHANGING DEFAULT ORIENTATION) TO ALLOW THE SPEAKER TO SLIDE IN THE MOUNT PLATE. ONCE SLID, SCREW BACK THE MONITOR AND SECURE THE ASSEMBLY.

Protecting Speaker Device
Only Applicable to Adjustable Display Height FIT Post
THE ADJUSTABLE FIT POST PROVIDES HEIGHT ADJUSTABILITY. HOWEVER, TO PREVENT THE SPEAKER FROM DAMAGING/HITTING THE HMW WORKTOP (AS SHOWN), USE 2x X-CAM-VESA-BUMPR (PROVIDED IN THE KIT).
X-CAM-VESA-BUMPR ARE ADHESIVE BACK BUMPERS THAT CAN BE DIRECTLY STUCK ON THE BOTTOM SURFACE AS SHOWN
THE ADJUSTABLE FIT POST WITH BUMPERS ATTACHED WILL PROTECT THE SPEAKER FROM HITTING THE HMW WORKTOP
Replacing the FIT Post Rod
Only Applicable to Adjustable Display Height FIT Post
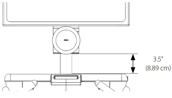
NOTE: THERE IS A REQUIREMENT TO HAVE AT LEAST 3.5″ (8.89 cm) OF CLEARANCE BETWEEN THE BOTTOM FACE OF THE HMA-VESA-SPK-PLT AND HMW-WT. STANDARD HMW FIT POST IS SHORTER AND NEEDS TO BE REPLACED WITH A LONGER POST (PROVIDED IN THE KIT).
NOTE: X-CAM-VESA-BMPR ISN’T SHOWN IN FIGURE 9 ON THE BOTTOM FACE OF THE HMA-VESA-SPK-PLT BECAUSE OF THE FIXED FIT POST

Coupling with the Camera Holder Plate
HMA-VESA-SPK-PLT with HMA-CAMHLD-FIT

Warrant
During the term of the 5-year warranty: Within the first twelve (12) months from the date of shipment, Amico Accessories will repair or replace any part which is proven to be defective at no cost. After the twelve (12) month period, Amico Accessories will send the parts to the customer free of charge, however shipping and installation will be borne by the customer.
The warranty is valid only when the product has been properly installed according to Amico Accessories specifications, used in a normal manner, and serviced according to factory recommendations. It does not cover failures due to damage which occur in shipments or failures which resulted from accidents, misuse, abuse, neglect, mishandling, alteration, misapplication or damage that may be attributable to Force Majeure.
AMICO ACCESSORIES DOES NOT HONOR VERBAL STATEMENTS CONCERNING THE WARRANTY.
The distributor and/or dealer are not sanctioned to create verbal warranties about the product described in this agreement. Any statements will not be honored or be made part of the agreement of sale. This document is the final complete and exclusive terms of the agreement.
THIS WARRANTY IS INCLUSIVE AND REPLACES ALL OTHER WARRANTIES.
Amico Accessories shall not, under any circumstances be liable for incidental or consequential damages including, but not limited to, profit, loss of sales or injuries to person(s) or property.
Correction of non-compliance as noted above will result in completion of all liabilities of
Amico Accessories whether based on agreement, neglect or changed materials, designs or specifications without notice. All claims for warranty must first be approved by Amico Accessories Customer Service Department: ([email protected] or 1-877-264-2697). A valid Return Goods Authorization number must be obtained from Amico Accessories prior to commencement of any warranty claim.
Amico Accessories Inc. | 85 Fulton Way, Richmond Hill, ON L4B 2N4, Canada | www.amico.com
Toll Free Tel: 1.877.264.2697 | Tel: 905.763.7778 | Fax: 905.763.8587 | Email: [email protected]
AA-QG-HMA-JABRA-SPEAKER-410-510-MOUNT-PLATE 07.12.2022



















