HACH AN-ISE sc probe Ammonium probe (immersion) with RFID

Product Information: AN-ISE sc Probe, AISE sc Probe, NISE sc Probe
The AN-ISE sc, AISE sc, and NISE sc probes are electrochemical sensors designed for measuring the concentration of ions in aqueous solutions. These probes can be used to measure the concentration of ammonium, nitrate, and chloride ions in water. The probes are compatible with various types of water monitoring equipment and can be used in a wide range of applications, including wastewater treatment, aquaculture, and environmental monitoring.
Technical Specifications
Dimensions
The probes have the following dimensions:
- Length: 165 mm
- Diameter: 16 mm
General Information
Safety Information
When using the probes, it is important to follow all safety precautions to avoid injury or damage to the equipment. Hazard information and precautionary labels are provided in the operating instructions.
Functional Principle
The AN-ISE sc probe measures the concentration of ammonium ions using a gas-permeable membrane and a pH electrode. The AISE sc probe measures the concentration of nitrate ions using a gas-permeable membrane and an ion-selective electrode. The NISE sc probe measures the concentration of chloride ions using a solid-state ion-selective electrode.
Installation
Unpacking the Probe
To unpack the probe:
- Remove the probe from its packaging.
- Inspect the probe for any damage or defects.
- Remove the sensor cartridge from its packaging.
Operation
To use the probe:
- Connect the probe to the water monitoring equipment according to the manufacturer’s instructions.
- Immerse the probe in the solution to be measured.
- Allow the probe to stabilize for a few minutes.
- Record the ion concentration measurement displayed on the water
monitoring equipment.
Maintenance
Maintenance Schedule
The following maintenance schedule is recommended:
- Clean the sensor every two weeks.
- Replace the sensor cartridge every six months.
Cleaning the Sensor
To clean the sensor:
- Remove the sensor cartridge from the probe.
- Rinse the cartridge with deionized water.
- If using the AN-ISE sc or NISE sc probe, polish the chloride electrode with a fine abrasive pad.
- Rinse the cartridge with deionized water again.
- Reinstall the sensor cartridge in the probe.
Replacing the Sensor Cartridge
To replace the sensor cartridge:
- Unscrew the sensor cartridge from the probe.
- Discard the old sensor cartridge.
- Remove the new sensor cartridge from its packaging.
- Screw the new sensor cartridge onto the probe.
Storage
When not in use, store the probe in a cool, dry place. Do not expose the probe to extreme temperatures or direct sunlight.
Section 1 Technical data
Subject to change.
| General information | AN-ISE sc | AISE sc | NISE sc |
| Measurement method | Potentiometric measurement using ion-selective electrodes (ISE) | ||
| Ammonium and potassium, nitrate and chloride, reference system | Ammonium and potassium, reference system | Nitrate and chloride, reference system | |
| Measurement range | 0 to 1000 mg/L [NH4–N]0 to 1000 mg/L [K+] 0 to 1000 mg/L [NO3–N] 0 to 1000 mg/L [Cl–] | 0 to 1000 mg/L [NH4–N] 0 to 1000 mg/L [K+] | 0 to 1000 mg/L [NO3–N] 0 to 1000 mg/L [Cl–] |
| Precision | 5 % of the measured value + 0.2 mg/L1 | ||
| Reproducibility | 5 % of the measured value + 0.2 mg/L1 | ||
| Response time (90%) | < 3 minutes (5 to 50 mg/L) | ||
| Measurement interval | Continuous | ||
| pH range | pH 5 to pH 9 | ||
| Calibration methods | Sensor code for sensor cartridge, 1 and 2-point value correction or matrix correction | ||
| Power consumption | 1 W | ||
| Power supply | Via sc controller | ||
| Data transfer | Via sc controller | ||
| Ambient data | |||
| Typical environment | Used in the biological phase of municipal waste water treatment | ||
| Storage temperature | Sensor: –20 to 60 °C (–4 to 140 °F); 95% relative humidity, non-condensing Sensor cartridge: 5 to 40 °C (41 to 104 °F); 95% relative humidity, non-condensing | ||
| Operating temperature | Air: –20 to 45 °C (–4 to 113 °F); 95% relative humidity, non-condensing1 | ||
| Sample temperature | +2 to 40 °C (35 to 104 °F); 95% relative humidity, non-condensing | ||
| Maximum flow velocity | < 4 m/s | ||
| Maximum sensor immersion depth/pressure | Can be immersed to a depth of 0.3 to 3.0 m (1 to 10 ft); maximum pressure: 0.3 bar (4.4 psi). | ||
| Maximum Compressed air output during cleaning unit operation | 3.1 bar (45 psi) | ||
| Altitude | 2000 m (6562 ft) maximum | ||
| Pollution degree | 2 | ||
| Overvoltage category | II | ||
| Environmental conditions | Outdoor use | ||
| General information about the probe | |
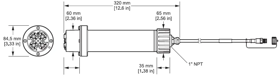
| Probe dimensions | 320 mm x 84.5 mm (12.6 x 3.3 in.) (length x Ø) Refer to Figure 1, Page 6. |
| Length of probe cable | Standard: 10 m (33.8 ft) Extension cables are available as an option in the following lengths: 5, 10, 15, 20, 30, 50 m (16.4, 33.8, 49.2, 65.6, 98.4, 164 ft). Maximum overall length: 100 m [328 ft] |
| Probe weight | Approximately 2380 g (83.95 oz) |
| Wetted materials | Only for immersed installations: Probe: stainless steel (1.4571), ASA + PC, silicon, PVC and PU Sensor cartridge: PVC, POM, ABS, stainless steel (1.4571), NBR Optional cleaning unit: TPE, PUR, stainless steel (1.4571) |
| Installation angle | 45° +/– 15° vertically in flow direction |
- With standard solutions and ISE electrodes under laboratory conditions
Dimensions
Figure 1 Probe dimensions

Section 2 General information
Safety information
Read the entire operating instructions before the instrument is unpacked, set up or put into operation. Observe all hazard and warning notes. Non-observance could lead to serious injury of the operator or damage to the device.
To make sure that the protection provided by this instrument is not impaired, do not use or install this instrument in any manner other than that specified in these operating instructions.
Hazard information in these operating instructions
- DANGER
Indicates a potentially or imminently hazardous situation that, if not avoided, can result in death or serious injury. - WARNING
Indicates a potentially or imminently dangerous situation that, if it is not avoided, can lead to death or to serious injuries. - CAUTION
Indicates a possible dangerous situation that can have minor or moderate injuries as the result. - NOTICE
Indicates a situation that, if it is not avoided, can lead to damage to the device. Information that should be particularly emphasized.
Note: Information that supplements aspects of the main text.
Precautionary labels
Observe all labels and tags attached to the instrument. Non-observance may result in personal injury or damage to the device. For symbols attached to the instrument, corresponding warning notes are found in the user manual.
This symbol may be attached to the device and references the operation- and/or safety notes in the user manual.
Electrical devices marked with this symbol may no longer be disposed of in unsorted domestic or industrial waste in Europe after August 12, 2005. According to valid provisions (EU Directive 2002/96/EC), consumers in the EU must return old electrical devices to the manufacturer for disposal from this date. This is at no cost to the consumer.
Note: Contact the manufacturer or supplier for instructions on how to return end-of-life equipment, manufacturer-supplied electrical accessories and all auxiliary items for recycling or proper disposal.
General information about the probes
The probes have been developed for use in municipal waste water applications.
The ISE probes (refer to Figure 2) feature ion-selective electrodes for continuous measurement of ammonium and/or nitrate in the tank itself. They operate without reagents and require no further processing of the sample. The ammonium/nitrate ions are measured using an ion-selective electrode.
The only wearing part is the sensor cartridge (refer to Figure 3, Page 9) (order number LZY694). The sensor cartridge consists of the ion-selective electrodes for ammonium and potassium (compensation electrode for ammonium) or nitrate and chloride (compensation electrode for nitrate), a pHD reference system and a temperature sensor for comparing temperatures.
Note: Note that the nitrate and chloride electrodes are deactivated when using the AISE sc probe. When using the NISE sc probe, the ammonium and potassium electrodes are deactivated.
An additional cleaning unit designed for automatically cleaning the sensor cartridge membranes can be ordered separately. For details, refer to the instruction sheet supplied with the cleaning unit.
The manufacturer recommends to use the High Output Air Blast system for the compressed air supply (refer to 7.2 Accessories, page 39); This is a compressor in weather-proof plastic housing.
Figure 2 ISE probe

- Sensor cartridge
- Fixing bolt for sensor cartridge
- Probe body
- Union nut
Figure 3 Sensor cartridge

| 1 | Ammonium electrode 1,2 | 5 | Reference system |
| 2 | Nitrate electrode 1,3 | 6 | Temperature sensor |
| 3 | Potassium electrode 1,2 | 7 Marker hole for assembling the probe | |
| 4 | Chloride electrode 1,3 | ||
- Active with AN-ISE sc
- Active with AISE sc
- Active with NISE sc
Functional principle
Ion-selective electrodes have a special membrane to which only a specific type of ion can adhere. As a result, an ion-specific potential forms on the membrane surface. To measure a potential difference, a reference system is required that will not be affected by the sample to be measured.
The CARTRICALTM technology reduces cross-sensitivity by calibrating not only the individual electrodes but also the measuring electrode against the compensation electrode and the reference; this is carried out at the factory. The reference system is designed using pH-differential technology and is therefore particularly stable in terms of drift and contamination.
AN-ISE sc probe
The AN-ISE sc probe uses the ion-selective electrode technology to measure ammonium ions (NH4+) and nitrate ions (NO3–) in a waste water sample.
Known interfering factors due to potassium (when measuring ammonium), chloride (when measuring nitrate) and temperature are compensated by suitable built-in electrodes.
AISE sc probe
The AISE sc probe uses the ion-selective electrode technology to measure ammonium ions (NH4+) in a waste water sample.
Known interfering factors due to potassium and temperature are compensated by suitable built-in electrodes.
NISE sc probe
The NISE sc probe uses the ion-selective electrode technology to measure nitrate ions (NO3–) in a waste water sample.
Known interfering factors due to chloride and temperature are compensated by suitable built-in electrodes.
Section 3 Installation
NOTICE
Only qualified personnel should conduct the tasks described in this section of the operating manual.
Unpack the probe
Remove the probe from the shipping container and inspect it for damage. Verify that all items listed in Figure 4 are included. If any items are missing or damaged, contact the manufacturer or your distributor.
Figure 4 Scope of delivery

| 1 | Probe | 3 | Sensor cartridge packaging |
| 2 | Probe cable | 4 | Cleaning brush |
Unpack the sensor cartridge
NOTICE
Do not touch the membrane on the sensor cartridge to avoid damage of the sensor.
Make a note of the date on the sensor cartridge certificate.
It is not an expiration date, but indicates the optimum date to put the sensor cartridge into operation to ensure a maximum service life.
Figure 5 Sensor cartridge packaging

| 1 | Sensor cartridge packaging | 6 | Socket head screws |
| 2 | Storage container for sensor cartridge | 7 | Black gasket |
| 3 | Test certificate for cartridge with sensor code | 8 | Latest date to put into operation |
| 4 | Polishing paper for chloride electrode | 9 | Serial Number |
| 5 | Socket head wrench |
Assemble the storage container including sensor cartridge
Figure 6 Storage container for the sensor cartridge

| 1 | Storage container | 4 | Sensor cartridge |
| 2 Sponges soaked in storage solution | 5 | Lid with bayonet coupling | |
| 3 | Black gasket | ||
Note: Keep items 1, 2, 3 and 5 for subsequent storage of the sensor cartridge.
Remove the cartridge from the storage container
Figure 7 Open the storage container

| 1 Release bayonet coupling | 4 Remove black gasket |
| 2 Remove lid | 5 Insert black seal in storage container and close the lid. |
| 3 Take out sensor cartridge |
Note: This black gasket is not required for installation. It is advisable to keep the black gasket in the sensor cartridge storage container.
NOTICE
The sensor cartridge must not be in contact with air for more than 30 minutes. Make sure that the electrodes do not dry out.
Complete the following movement when you have unpacked the cartridge in order to moisten the inside of the membranes.
Figure 8 Knock the air out of the sensor cartridge

| 1Hold the sensor cartridge in one hand with the membranes facing downward. | 2Now hit sharply downward over your other hand. |
Probe assembly
NOTICE
Do not touch the membrane on the sensor cartridge to avoid damage of the sensor.
- Place the black gasket Figure 10, Page 17 in the recess on the sensor body.
- Make sure that the black gasket is correctly positioned.
NOTICE
The black gasket prevents sensor damage caused by moisture penetration.
Figure 9 Sensor cartridge
Reference system cap- Rear side with contacts
- Front side with membranes
NOTICE
The sensor cartridge must not be in contact with air for more than 30 minutes.
The contacts in the sensor cartridge must be dry and must not become contaminated.
- Align the marker hole on the sensor cartridge with the marker hole on the probe adapter (refer to Figure 10, Page 17)
- Place the 4 socket head screws in the corresponding screw holes and tighten gently with the long side of the wrench. Then cross-tighten the screws by hand with the short side of the wrench. Only use the screws supplied.
Figure 10 Probe assembly

| 1 Socket head screw | 5 | Probe housing |
| 2 Reference system cap | 6 | Union nut |
| 3 Sensor cartridge | 7 | Marker hole |
| 4 Black gasket | 8 | Socket head wrench |
Installation of the cleaning unit (optional)
Refer to the installation instructions for the cleaning unit for information on how to install this on the probe.
Use the relay control on the sc controller to set the cleaning interval.
Select RTC (Real Time Clock) as the signal source. For details on more advanced relay configuration, refer to the User Manual for the relevant sc controller.
Installation of the probe in the sample flow
NOTICE
Handle the sensor cartridge carefully and avoid contact with the membranes when installing the sensor.
There are mounts with separate installation instructions available for installation of the probe, with or without a cleaning unit, to suit a number of different requirements.
Always observe the following prior to installation:
- The probe must be aligned with the bracket, as described in section 3.5.1, page 18.
- Position the probe at a distance of at least 200 mm (7.87 in.) from the tank wall.
- If the probe is attached using a chain mount, make sure that the probe cannot strike the tank wall.
- Immerse the probe at an angle of approx. 45° ± 15°.
- Make sure that the probe is fully immersed.
- When using the cleaning unit, refer to the supplied instruction sheet.
Position of the probe on the mount
The probe must be attached in a specific position on the mount:
Figure 11 Mount the probe

| 1 Mount the probe on the bracket. 45° adapter and transition piece should be preassembled. | 3Attaching the aligned probe to the bracket using the union nut |
| 2 Aligning the probe using the colored reference system cap. The salt bridge should be oriented upward (12 o’ clock, +/- 5°). | 4 Removing the reference system cap |
Example of mounting the probe
Figure 12 Example of mounting the probe using a rail mount

Connect the probe to the sc controller (non-hazardous location) with screw fittings
The probe cable is supplied with a screw fitting with reverse polarity protection (refer to Figure 13, Page 20). Retain the connector cap to seal the connector opening in case the probe ever needs to be removed. Additional extension cables are available to increase the probe cable length.
- Unscrew the protective cap from the socket on the controller.
- Insert the connector into the socket and hand-tighten the union nut.
Note: The middle connection on the sc1000 controller must not be used for probes as this is reserved for the display module.
Figure 13 Connecting the probe to the sc controller with the screw fitting

| Number | Description | Cable color |
| 1 | +12 VDC | Brown |
| 2 | Earth | Black |
| 3 | Data (+) | Blue |
| 4 | Data (–) | White |
| 5 | Shield | Shield (gray) |
| 6 | Guide |
Section 4 Operation
How to use an sc controller
The probe can be used with all sc controllers. Become familiarized with the controller’s functions before using the probe.
Sensor setup
When the sensor is connected for the first time, the sensor serial number is displayed as the name of the sensor. To change the sensor name
- Open the· MAIN MENU.
- Select SENSOR SETUP and confirm.
- Select the corresponding sensor and confirm.
- Select CONFIGURE and confirm.
- Select EDIT and confirm.
- Edit the name and confirm to return to the CONFIGURE menu.
- Check the sensor configuration and adjust as needed to meet requirements.
- Go back to the MAIN MENU or the Measurement mode display.
Sensor data logger
Pro Sensor provides a data memory and event memory within the sc controller. The data memory is used to store measurement data at preset intervals; the event memory stores events such as configuration changes, alarms and warning conditions. Both memories can be read in CSV format (refer to the operating instructions for the sc controller).
Sensor diagnostics menu
| SENSOR STATUS | ||
| AN-ISE sc or AISE sc or NISE sc | ||
| ERROR LIST | Shows all current error messages. | |
| WARNING LIST | Shows all current warnings. | |
Sensor menu
The following table shows the sensor menu for the AN-ISE sc probe, AISE sc probe and NISE sc probe. If a menu item does not apply to all three probes, its applicability is explained in footnotes.
- Footnote 1 indicates applicability to the AN-ISE sc probe. The AN-ISE sc probe is used to determine the ammonium and nitrate concentration, as well as the potassium and chloride concentration.
- Footnote 2 indicates applicability to the AISE sc probe. The AISE sc probe is used to determine the ammonium and potassium concentration.
- Footnote 3 indicates applicability to the NISE sc probe. The NISE sc probe is used to determine the nitrate concentration and chloride concentration.
| SENSOR MENU | ||||||||
| AN-ISE sc or AISE sc or NISE sc | ||||||||
| CALIBRATE | ||||||||
| MATRIX CORR | Matrix correction options. The most recently used menu is displayed. The currently active corrections are shown in Information. | |||||||
| NONE | No MATRIX CORR. is activated | |||||||
| MATRIX 1 | 1-point matrix correction | |||||||
| NH4 + NO3 1 | 1 point matrix correction for ammonium and nitrate | |||||||
| NH4 1,2 | 1-point matrix correction for ammonium | |||||||
| NO3 1,3 | 1 point matrix correction for nitrate | |||||||
| NH4 + K 1,2 | 1 point matrix correction for ammonium and potassium | |||||||
| NO3 + CL 1,3 | 1 point matrix correction for nitrate and chloride | |||||||
| NH4+K NO3+CL 1 | 1 point matrix correction for ammonium, potassium, nitrate and chloride | |||||||
| TAKE SAMPLE IMMEDIATELY AND ANALYSE IN LABORATORY | Information window: When this window appears, the sample must be taken immediately and then analyzed in the laboratory. | |||||||
| VALUE CORR. 1 | Perform 1 point value correction. The most recently used menu is displayed. The currently active corrections are shown in Information. | |||||||
| NH4–N 1 | Select parameter for the 1 point value correction | |||||||
| NO3–N 1 | ||||||||
| VALUE POINT | Enter the values for the 1 point value correction Note: The following example shows the input when using a AN-ISE sc probe for ammonium. When using the AISE sc probe, the input is the same. When using the NISE sc, it is only possible to input the nitrate and chloride values. | |||||||
| AN-ISE SC NH4–N | Enter the displayed ammonium value | |||||||
| AN-ISE SC K | Enter the displayed potassium value | |||||||
| LAB NH4–N | Enter the laboratory ammonium value | |||||||
| ENTRY COMPLETE | Confirm the values entered | |||||||
| CORR-RESULT | Display the correction results | |||||||
| VALUE CORR. 2 | Perform 2-point value correction | |||||||
| NH4–N 1 | Select parameter for the 2 point value correction | |||||||
| NO3–N 1 | ||||||||
| VALUE POINT 1 | Enter the values for the 2 point value correction (first point) Note: The following example shows the input when using a AN-ISE sc probe for ammonium. When using the AISE sc probe, the input is the same. When using the NISE sc, it is only possible to input the nitrate and chloride values. | |||||||
| AN-ISE SC NH4–N | Enter the displayed ammonium value | |||||||
| AN-ISE SC K | Enter the displayed potassium value | |||||||
| LAB NH4–N | Enter the laboratory ammonium value | |||||||
| ENTRY COMPLETE | Confirm the values entered | |||||||
| SENSOR MENU | |||||||
| VALUE POINT 2 | Enter the values for the 2 point value correction (second point). Note: The following example shows the input when using a AN-ISE sc probe for ammonium. When using the AISE sc probe, the input is the same. When using the NISE sc, it is only possible to input the nitrate and chloride values. | ||||||
| AN-ISE SC NH4–N | Enter the displayed ammonium value | ||||||
| AN-ISE SC K | Enter the displayed potassium value | ||||||
| LAB NH4–N | Enter the laboratory ammonium value | ||||||
| ENTRY COMPLETE | Confirm the values entered | ||||||
| CORR-RESULT | Display the correction results | ||||||
| FURTHER CORR. | Other matrix correction options | ||||||
| None | No FURTHER CORR. is activated | ||||||
| MATRIX 2 | A 2-point matrix correction can be performed here | ||||||
| NH4 1 | Parameter selection for the MATRIX2 correction. | ||||||
| NO3 1 | |||||||
| MEAS CONC 1 | Saves the currently measured measurement for the first point | ||||||
| DATE | Displays the date of the current correction of the first point | ||||||
| CONC. LABVALUE 1 | Entry and display of reference value for the first point | ||||||
| MEAS CONC 2 | Saves the currently measured measurement for the second point | ||||||
| DATE | Displays the date of the current correction of the second point | ||||||
| CONC. LABVALUE 2 | Entry and display of the reference value for the second point | ||||||
| HIST. CORR. | Selection of one of the last corrections performed | ||||||
| SENSOR CODE | The sensor code can be activated or entered here | ||||||
| ACTIVATION | Activates the sensor code for the individual channels | ||||||
| NH4 + K 1 | Activate the sensor code for ammonium and potassium | ||||||
| NO3 + CL 1 | Activate the sensor code for nitrate and chloride | ||||||
| NH4+K NO3+CL 1 | Activate the sensor code for ammonium, potassium, nitrate and chloride | ||||||
| FACTORY CALIBRATION | Activates factory calibration | ||||||
| INPUT | Entry of the sensor code | ||||||
| ENTER CORR. | The laboratory values of the last matrix correction can be changed | ||||||
| ENTER LABVALUE (displayed when MATRIX 1 or MATRIX 2 is performed) | Enter the laboratory values if MATRIX 1 or MATRIX 2 has been selected | ||||||
| AMMONIUM 1,2 | Entry of ammonium laboratory value | ||||||
| NITRATE 1,3 | Enter the laboratory value for nitrate | ||||||
| POTASSIUM 1,2 | Enter the laboratory value for potassium | ||||||
| CHLORIDE 1,3 | Enter the laboratory value for chloride | ||||||
| ENTRY COMPLETE | Confirm the values entered | ||||||
| CORR-RESULT | Display the correction results | ||||||
| NH4–N 1,2 | Displays whether or not the ammonium correction was successful | ||||||
| NO3–N 1,3 | Shows whether or not the nitrate correction was successful | ||||||
| K+ 1,2 | Displays whether or not the potassium correction was successful | ||||||
| CL 1,3 | Displays whether or not the chloride correction was successful | ||||||
| SENSOR MENU | ||||
| INFORMATION | Information on the matrix correction used per parameter | |||
| NH4–N 1,2 | Matrix correction used for ammonium | |||
| NO3–N 1,3 | Matrix correction used for nitrate | |||
| K+ 1,2 | Matrix correction used for potassium | |||
| CL 1,3 | Matrix correction used for chloride | |||
| CONFIGURE | ||||
| EDIT NAME | Enter or edit the name. Up to 10 alphanumeric characters | |||
| MEAS UNITS | Select either mg/L or ppm as the measurement unit | |||
| PARAMETERS | Select NH4–N or NH4 and/or NO3–N or NO3 | |||
| TEMP UNITS | Selection of °C or °F as temperature unit | |||
| TEMP OFFSET | Enter a temperature offset | |||
| RESPONSE TIME | Entry of the response time (30 sec to 300 sec) | |||
| DATALOG INTRVL | Select the data log interval (OFF, 30 sec, 1 min, 2 min, 5 min, 10 min, 15 min and 30 min), 5 min is the factory setting | |||
| Select automatic potassium compensation: | ||||
| On | ||||
| K+ COMPENSATE 1,2 | Off | |||
| 0 = compensation OFF | ||||
| 0.1–2000 mg/L CL = Fixed compensation value | ||||
| SET K+ CONC 1,2 | Only shown when K+ COMPENSATE is OFF | |||
| Select automatic chloride compensation: | ||||
| On | ||||
| CL COMPENSATE 1,3 | Off | |||
| 0 = compensation OFF | ||||
| 0.1–2000 mg/L CL = Fixed compensation value | ||||
| SET CL CONC 1,3 | Only shown when CL COMPNSATE is OFF | |||
| FACTORY CONFIG | Resets the configuration to the factory setting | |||
| DIAG/TEST | ||||
| SENSOR INFO | Information on the connected sensor | |||
| SENSOR NAME | Name of the connected sensor | |||
| EDIT NAME | Serial number or name of the measurement location | |||
| SERIAL NUMBER | Serial number of the connected sensor | |||
| SENSOR TYPE | Instrument designation of the connected sensor | |||
| CODE VERS | Software version | |||
| CAL DATA | Data of the selected MATRIX correction and information about slope and offset of the individual channels, for example | |||
| NH4–N 1,2 | Matrix correction selected for ammonium | |||
| NO3–N 1,3 | Matrix correction selected for nitrate | |||
| K+ 1,2 | Matrix correction selected for potassium | |||
| CL 1,3 | Matrix correction selected for chloride | |||
| SENSOR MENU | ||||||
| SIGNALS | Signals and measurement results of the individual measurement channels | |||||
| AMMONIUM 1,2 | Display the signals and measurement results for ammonium | |||||
| NITRATE 1,3 | Shows the signals and measurement results for nitrate | |||||
| POTASSIUM 1,2 | Display the signals and measurement results for potassium | |||||
| CHLORIDE 1,3 | Display the signals and measurement results for chloride | |||||
| REF. ELECTRODE | Displays the signals and measurement results for the reference system | |||||
| MV RAW | Display the signals and measurement results for MV RAW | |||||
| IMPED STATUS | Display the signals and measurement results for impedance | |||||
| TEMP | Display the signals and measurement results for temperature | |||||
| HUMIDITY | Display the signals and measurement results for humidity | |||||
| RFID | Display the signals and measurement results for RFID | |||||
| CAL DAYS | Shows the age of the last matrix correction | |||||
| AMMONIUM 1,2 | Display the age of the last matrix correction for ammonium | |||||
| NITRATE 1,3 | Display the age of the last matrix correction for nitrate | |||||
| SERVICE | ||||||
| TEST CARTRIDGE | Perform a sensor check with the test cartridge | |||||
| TEST CARTRIDGE READY? PRESS ENTER | ||||||
| TEST CARTRIDGE | Display whether the individual sensor channels are OK or not | |||||
| DIAG/TEST | Displays whether or not DIAG/TEST is OK | |||||
| GNDROD | Displays whether or not GNDROD is OK | |||||
| REF | Displays whether or not REF channel is OK | |||||
| NO3 1,3 | Displays whether or not NO3 channel is OK | |||||
| NH4 1,2 | Displays whether or not NH4 channel is OK | |||||
| ORP | Displays whether or not ORP channel is OK | |||||
| CL1,3 | Shows whether or not Cl channel is OK | |||||
| K+ 1,2 | Displays whether or not K channel is OK | |||||
| TEMP | Displays whether or not temperature channel is OK | |||||
| CHANGE CARTR. | Follow the menu process | |||||
| CLEANING | Follow the menu process | |||||
- Applies to AN-ISE sc
- Applies to AISE sc
- Applies to NISE sc
Calibration/matrix correction
The four electrodes with the reference system of the compact sensor cartridge were calibrated with one another at the factory using special standard solutions (CARTICALTM). However, the membranes on the ion-selective electrodes are not 100% selective due to other substances that may affect the measurement. Perform a matrix correction (refer to 4.6.4, page 28) to compensate for other ions present on the ISE electrodes.
Potassium has the largest interference effect on the ammonium membrane, while chloride has the largest effect on the nitrate membrane. The AN-ISE sc probe compensates for this problem with the aid of a built-in potassium/chloride electrode.
When using the AISE sc probe, only the ammonium membrane and the integrated potassium electrode are active.
When using the NISE sc probe, only the nitrate membrane and the integrated chloride electrode are active.
Cross sensitivities between ammonium and potassium/nitrate are automatically eliminated. Solids do not interfere with the measurement. Due to matrix effects, correction and validation cannot be performed with standard solutions. A matrix correction can be carried out quickly and easily at any time.
NOTICE
A matrix correction may only be performed if the sensor has been immersed in the corresponding waste water matrix for over 12 hours. This is the minimum time required to adapt the ISE membranes to the waste water matrix.
Sensor code calibration
The sensor code is a calibration code and is delivered with the sensor cartridge certificate. It contains the factory calibration described in section 4.6, page 25 for the sensor cartridge.
Instruments with automatic sensor code recognition (LXG440.99.x000x) read this automatically and assume the Cartrical calibration.
Instruments without automatic sensor code recognition (LXG440.99.x001x) require the sensor code to be entered during the initial setup and whenever a new sensor cartridge is activated. If the sensor code certificate has been lost, carry out factory calibration (under the sensor code menu) as a temporary solution.
After activating the code, the sensor is fully calibrated but not yet adapted to the specific matrix of the relevant application on a waste water treatment plant. At least 12 hours must elapse before a matrix correction is performed to allow the cartridge to adapt to the specific matrix.
Proceed as follows to change the sensor code:
- Select SENSOR MENU > AN-ISE SC or AISE SC or NISE SC > CALIBRATE > FURTHER CORR. > SENSOR CODE > ENTER
- Enter the sensor code.
- Press ENTER to confirm and activate the sensor code. The day meter for the cartridge is set to zero.
All old calibration data are now overwritten with the new calibration data from the sensor code. The sensor code data is checked by the system. If an error is indicated, check the sensor code and, if necessary, enter the sensor code again.
Matrix correction via LINK2SC
The LINK2SC procedure offers a secure method of data exchange between process probes and LINK2SC-compatible photometers using an SD memory card or via a local area network (LAN). Two different options are available:
- The pure laboratory control measurement
- A matrix correction that involves the measurement data generated in the laboratory being used to correct the probe
During a pure control measurement, the measurement data is transferred from the probe to the photometer where it is then archived together with the photometric reference data that has been recorded.
During a matrix correction, the reference data generated in the laboratory is transferred to the probe to be used for the correction.
The matrix correction process requires operating steps to be completed on the sc controller and on a LINK2SC-compatible photometer.
Refer to the LINK2SC user manual for a detailed description of the LINK2SC procedure. When using the LINK2SC software, sections 4.6.3 and 4.6.4 are not relevant.
Matrix correction – manual
ISE probes offer different options (refer to Table 1) for correcting the sensor value with laboratory values (as a reference value).
The laboratory value of the water sample is entered as nitrate nitrogen (NO3–N) and/or as ammoniacal nitrogen (NH4–N). This laboratory value replaces the prior value measured by the sensor.
Table 1 Correction options for ISE probes
| Correction option | Application |
| MATRIX 1 | A MATRIX 1 is the most commonly used correction option and performs a 1 point matrix correction for ammonium and/or nitrate (4.6.4.1, page 28). It is advisable to perform a MATRIX1 as the first correction. The Matrix1 correction can be performed both with and without correction of the compensation electrodes (potassium or chloride); in most cases, it is sufficient to perform it without correction. A correction featuring potassium and/or chloride is only necessary if a high level of accuracy is required. With a MATRIX1, a sample must be taken when the correction is triggered and analyzed in the laboratory. The MATRIX1 is activated when the laboratory value is entered. |
| VALUE CORR. 1 | Value correction 1 (correction at one concentration point) corresponds to a MATRIX1 correction with an alternative entry format. Comparison values between the ISE probe and the laboratory can be collected over a period of around a week with this correction. The correction can be performed at a later stage. |
| VALUE CORR. 2 | Value correction 2 (correction at 2 different concentration points) should be performed if dynamic concentration fluctuations are present over at least half a decade1 and a MATRIX1 or VALUE CORR. 1 does not achieve a sufficiently accurate result. Comparison values between the ISE probe and the laboratory can be collected over a period of around a week with this correction. The correction can be performed at a later stage. |
| MATRIX 2 | The MATRIX 2 correction corresponds to a VALUE CORR. 2, but uses an alternative entry format and is recommended if there is a dynamic process with a large nitrate/ammonium fluctuation greater than at least half a decade1. With a MATRIX2, a sample must be taken for both points when the correction is triggered and analyzed in the laboratory. The MATRIX2 is activated when the laboratory value is entered. |
| HIST. CORR. | Return to one of the last matrix and value corrections performed if a correction has not produced a successful result. |
- Examples of half a decade: The concentration of nitrogen nitrate shifts between 1 and 5 mg NO3–N or between 5 and 25 mg/L NO3–N. (conc2 = (conc1 x 10)/2)
Performing the matrix correction
Note: Take laboratory value measurements or reference values promptly or, alternatively, take these from the stabilized sample. This will prevent changes in sample concentration, as time is a factor in comparative tests.
Refer to 7.3 Validation accessories, Page 39 for recommended laboratory measurement tests.
MATRIX 1 correction (1 point matrix correction)
Proceed as follows to perform MATRIX 1:
- Select SENSOR MENU > AN-ISE SC or AISE SC or NISE SC > CALIBRATE > MATRIX CORR..
- Select MATRIX 1 from the selection window and press ENTER.
- Select the parameters you wish to correct and confirm by pressing ENTER. Selection options for AN-ISE sc:
NH4 + NO3; NH4; NO3; NH4 + K; NO3 + Cl; NH4 + K NO3 + Cl
Selection options for AISE sc:
NH4; NH4 + K
Selection options for NISE sc:
NO3; NO3 + Cl
CALIBRATE MATRIX CORR
FURTHER CORR. INFORMATION
The sensor saves the current values of the selected parameters at this point. - Take a water sample immediately from the closest point possible to the sensor. Filter the sample as quickly as possible and carry out a prompt laboratory analysis of the selected parameters, as the measurement value can change quickly.
MATRIX 1
TAKE SAMPLE IMMEDIATELY AND ANALYSE IN LABORATORY
When the laboratory value has been determined, proceed as follows: - Select SENSOR MENU > AN-ISE SC or AISE SC or NISE SC > CALIBRATE > ENTER LABVALUE.
- The laboratory values for the parameters can only be entered if the MATRIX1 correction has been selected beforehand. Once the laboratory values have been entered, select ENTRY COMPLETE to confirm.
When the entered laboratory value is confirmed, the matrix correction is activated.
CALIBRATE
MATRIX CORR FURTHER CORR.
LABORW: EING.
INFORMATION - Once the correction is activated, the result CORR-RESULT is shown.
Note: This process must always be carried out in full to make sure the matrix correction is completed successfully.
If a correction does not produce a successful result, calculations are made with the previous correction.
Value correction 1
The one-point value correction VALUE CORR. 1 offers the option of retrospectively performing a matrix correction at one point (MATRIX1).
CALIBRATE MATRIX CORR
FURTHER CORR. INFORMATION
- Take several samples with different concentrations on various days, preferably within one week. Analyze the samples in the laboratory. During the time the samples are being taken, the sample temperature should vary a maximum of 5 °C, as temperature changes are not taken into account in the value correction.
- Make a note of the two values measured in the samples and displayed for the parameters to be corrected (ammonium and potassium values, or nitrate and chloride values)
- Also note the laboratory values measured for ammonium or nitrate.
These three values form the correction point. - From the values taken, select a correction point that lies in the middle of the expected concentration range.
- Go to the sensor menu and select CALIBRATE > MATRIXCORR > VALUE CORR. 1 and confirm by pressing ENTER.
- Select the parameter1 (NH4–N or NO3–N) that requires correction.
Note: The example opposite shows the NH4-N and K correction of the AN-ISE sc probe. - Enter the three values for the sought correction point and confirm with ENTRY COMPLETE to activate the correction.
VALUE POINT
AN–ISE SC NH4–N AN–ISE SC K LAB NH4–N ENTRY COMPLETE
Correction result CORR-RESULT is shown.
Note: If a correction does not produce a successful result, calculations are made with the previous correction.
After successful completion of value correction, the corrected value is shown as the display value for ammonium or nitrate the next time the menu is opened.
Value correction 2
The two-point value correction VALUE CORR. 2 makes it possible to perform a subsequent 2-point correction (MATRIX2) to achieve higher accuracy for a larger concentration range.
Note: Value correction 2 and MATRIX 2 are comparable from a calculation perspective.
CALIBRATE
MATRIX CORR
FURTHER CORR. INFORMATION
- Take several samples on various days with different concentrations, preferably within a week, and perform an analysis of the samples in the laboratory. During the time the samples are being taken, the sample temperature should be around a maximum of 5 °C, as temperature changes are not taken into account in the value correction.
Note: The MATRIX CORR. 2 concentrations should be within a range greater than half a decade. The following formula can assist in the calculation of the half decade:
- Make a note of the two values measured with the sensor in the samples and displayed for the parameters to be corrected (ammonium and potassium values, or nitrate and chloride values).
- Also note the laboratory value measured for ammonium or nitrate.
All three values form one of the two correction points. - Look for two correction points where the laboratory values are at least half a decade apart and display typical operating conditions for the installation.
- Go to the sensor menu and select CALIBRATE > MATRIX CORR > VALUE CORR. 2 then confirm with ENTER.
- Select the parameter1 (NH4–N or NO3–N) that requires correction.
Note: When using the AN-ISE sc probe, you can only correct one parameter at a time. If both parameters need to be corrected, the procedure must be performed again. - Enter the three values for the first correction point and confirm with ENTRY COMPLETE.
Note: The example opposite shows the NH4-N and K correction of the AN-ISE sc probe.
VALUE POINT 1
AN–ISE SC NH4–N AN–ISE SC K LAB NH4–N ENTRY COMPLETE - To activate the correction, enter the three values for the second correction point and confirm with ENTRY COMPLETE.
Correction result CORR-RESULT is shown.
Note: If a correction does not produce a successful result, calculations are made with the previous correction. After successful completion of value correction, the corrected value is shown as the display value for ammonium or nitrate the next time the menu is opened.
VALUE POINT 2
AN–ISE SC NH4–N AN–ISE SC K LAB NH4–N ENTRY COMPLETE
MATRIX 2 correction (2 point matrix correction)
Proceed as follows to perform MATRIX 2:
- Select SENSOR MENU > AN-ISE SC or AISE SC or NISE SC > CALIBRATE > FURTHER CORR..
- Select MATRIX 2 from the selection window and press ENTER.
- Select the parameters1 requiring a two-point matrix correction.
- Select the point to be corrected.
- SELECT MEAS CONC 1 or MEAS CONC 2
- Take a water sample from the closest point possible to the sensor. Filter this sample promptly and perform an immediate laboratory analysis of the selected parameters. The measurement value can change very quickly:
AMMONIUM CONC MEAS1
DATE
CONC. LABVALUE.1 MEAS CONC 2 DATE
CONC. LABVALUE 2
When the laboratory value has been determined, proceed as follows: - Select SENSOR MENU > AN-ISE SC or AISE SC or NISE SC > CALIBRATE > FURTHER CORR. > MATRIX2
- Select the parameters to be corrected with the laboratory value entry:
- Enter the laboratory reference value and confirm.
The MATRIX2 CORR. is activated when the entry is confirmed for both points.
Section 5 Maintenance
NOTICE
Only qualified personnel should conduct the tasks described in this section of the operating manual.
Maintenance schedule
| Maintenance task | 30 days1 | 6 months |
| Clean the probe2 | x | |
| Replace the sensor cartridge3, 4 | x | |
| Check probe for damage | x | |
| Compare the measured value with a reference laboratory analysis and correct the values as required via a matrix correction3 | x |
- Recommended: Weekly during the first month of operation
- The frequency of cleaning depends on the application. Some applications may require cleaning to take place more or less frequently.
- In typical operating conditions, a different interval may be required depending on the specific application and local conditions.
- Sensor cartridges are wearing parts and are not covered by the instrument warranty.
Note: Do not test the sensor with the usual NH4-N and/or NO3-N standard solutions, as the ion strength of normal solutions is not high enough.
Clean the sensor
NOTICE
Do not touch the membranes with fingers. To avoid scratches, do not clean the sensor cartridge using sharp objects and do not use chemical cleaning agents.
- Clean the sensor cartridge using the soft brush supplied.
- Clean the probe body (not the sensor cartridge) with a sponge or brush.
- Rinse the sensor with clean, lukewarm water.
Polish the chloride electrode (AN-ISE sc and NISE sc only)
Polish the chloride electrode if it looks heavily coated/contaminated.
After polishing, a new nitrate + chloride MATRIX1 correction should be performed after 12 hours.
NOTICE
Only use the LZY671 polishing paper supplied.
Figure 14 Chloride electrode

Replace the sensor cartridge
The sensor cartridge is replaced as described below and in Figure 15, .
- Replace the cartridge using menu item
AN-ISE SC or AISE SC or NISE SC > DIAG/TEST > SERVICE > CHANGE CARTR.. - Clean the probe and thoroughly dry the sensor cartridge and probe adapter.
- Loosen the 4 socket head screws.
NOTICE
The sensor cartridge must point downward such that no water can run into the probe adapter. Pay attention to the contacts between the probe and the sensor cartridge. These contacts must remain dry. - Pull the sensor cartridge out of the probe adapter and discard the old sensor cartridge as per the applicable regulations.
- Make sure that a new black gasket is installed every time the sensor cartridge is replaced. Before the gasket is installed, clean the surface that faces the cartridge and the groove for the gasket.
- Insert the new sensor cartridge into the probe adapter. Observe the marker hole on the sensor cartridge flange and the probe adapter.
- Secure the sensor cartridge with the 4 socket head screws.
- The sensor code (calibration data) is automatically read for instruments with automatic recognition (LXG440.99.x000x). For instruments with non-automatic recognition (LXG440.99.x001x), enter the new sensor code manually (refer to certificate).
Figure 15 Replace the sensor cartridge

- Socket head screw
- Sensor cartridge
- O-ring
- Sensor
- Union nut
- Marker hole
- Socket head wrench
Storage
Take the probe out of the sample flow and clean thoroughly.
Short term storage
Keep the membranes and reference system moist (do not use distilled or demineralized water).
This will help avoid long response times when the probe is placed back in the sample flow. Otherwise, the correct operation of the probe is no longer guaranteed.
Long term storage
NOTICE
Detach the cartridge and use the supplied storage container in the event of long-term storage. Moisten the little sponge in the storage container with drinking water (DO NOT USE DISTILLED WATER!) and make sure that the ISE membranes of the sensor cartridge remain wet. Attach the reference system cap.
Check the membranes and ensure they are still moist every 2–4 weeks, depending on environmental conditions.
Note: A storage container is supplied to keep the sensor cartridge moist. Keep the sensor cartridge sealed in the storage container during short and long term storage. Refer to Section 1 Technical data, Page 5 for information on storage temperatures.
Probe and sensor cartridge
NOTICE
Pay attention to the contacts between the probe and the sensor cartridge. These contacts must be dry.
Section 6 Troubleshooting
Error messages
If the sensor is in an error state, the measurement value for this sensor will flash on the display and the relay contacts and current outputs associated with this sensor will be stopped. The errors are described in Table 2.
Table 2 Error messages
| Displayed errors | Cause | Resolution |
| NH4 mV RANGE! 1,2 | Ammonium mV value exceeds the measurement range | Refer to 6.3.1 Troubleshooting during operation, Page 37. |
| K+ mV RANGE! 1,2 | Potassium mV value exceeds the measurement range | |
| NO3 mV RANGE! 1,3 | Nitrate mV value exceeds the measurement range | |
| Cl– mV RANGE! 1,3 | Chloride mV value exceeds the measurement range | |
| REF1 mV RANGE! | REF1 reference value is out of measuring range | |
| REF2 mV RANGE! | ORP electrode mV value is out of measuring range | |
| TEMP RANGE! | Temperature value exceeds measurement range | |
| NO CARTRIDGE | No sensor cartridge connected | Connect the sensor cartridge; refer to section 3.3, page 15. |
| SENSOR CODE | Sensor code calibration failed | Refer to 6.3.2 Troubleshooting during calibration, Page 38 |
| HUMIDITY | Humidity in the probe | Inform service engineer |
| NH4-N CONC HIGH 1,2 | Ammonium concentration value exceeds measuring range | Refer to 6.3.1 Troubleshooting during operation, Page 37. |
| NH4-N CONC LOW 1,2 | Ammonium concentration value is below measuring range | |
| NO3-N CONC HIGH 1,3 | Nitrate concentration value exceeds measurement range | |
| NO3-N CONC LOW 1,3 | Nitrate concentration value is below measurement range | |
| K+ KONZ HOCH 1,2 | Potassium concentration value exceeds measuring range | |
| K+ CONC LOW 1,2 | Potassium concentration value is below measuring range | |
| CL CONC HIGH 1,3 | Chloride concentration value exceeds measuring range | |
| CL CONC LOW 1,3 | Chloride concentration value below measurement range |
- Applies to AN-ISE sc
- Applies to AISE sc
- Applies to NISE sc
Warnings
In the event of a sensor warning, all menus, relays and outputs continue to function as normal but a warning symbol lights up.
Warnings may be used to activate a relay; users can set warning levels to define the severity. Warnings are defined in Table 3.
Table 3 Warnings
| Displayed warnings | Cause | Resolution |
| RFID DATA | Cartridge faulty, read process failed | Replace cartridge, check probe with test cartridge |
| NH4 mV RANGE! 1,2 | Ammonium mV value is close to measuring range limit | Refer to 6.3.1 Troubleshooting during operation, Page 37. |
| K+ mV RANGE! 1,2 | Potassium mV value is close to measuring range limit | |
| NO3 mV RANGE! 1,3 | Nitrate mV value is close to measurement range limit | |
| Cl– mV RANGE! 1,3 | Chloride mV value is close to measurement range limit | |
| REF1 mV RANGE! | 1st reference value is close to limit | |
| REF2 mV RANGE! | 2nd reference value is close to limit | |
| TEMPERATURE | Temperature is close to limit | |
| CARTRIDGE OLD | Sensor cartridge more than 1 year old | Replace the sensor cartridge |
| NH4-N CONC HIGH 1,2 | Ammonium concentration value exceeds measuring range | See 6.3.1 Troubleshooting during operation, Page 37. |
| NH4-N CONC LOW 1,2 | Ammonium concentration value is below measuring range | |
| NO3-N CONC HIGH 1,3 | Nitrate concentration value exceeds measuring range | |
| NO3-N CONC LOW 1,3 | Nitrate concentration value is below measurement range | |
| K+ KONZ HOCH 1,2 | Potassium concentration value exceeds measuring range | |
| K+ CONC LOW 1,2 | Potassium concentration value is below measuring range | |
| CL CONC HIGH 1,3 | Chloride concentration value exceeds measuring range | |
| CL CONC LOW 1,3 | Chloride concentration value is below measurement range | |
| AMMONIUM 1,2 | Refer to 6.3.2 Troubleshooting during calibration, Page 38. | |
| OFFSET | Ammonium offset exceeds measurement range | |
| SLOPE | Ammonium slope exceeds measurement range | |
| POTASSIUM 1,2 | ||
| OFFSET | Potassium offset exceeds measurement range | |
| SLOPE | Potassium slope is out of measuring range | |
| NITRATE 1,3 | ||
| OFFSET | Nitrate offset is out of measurement range | |
| SLOPE | Nitrate slope is out of measurement range | |
| CHLORIDE 1,3 | ||
| OFFSET | Chloride offset is out of measurement range | |
| SLOPE | Chloride slope is out of measurement range | |
- Applies to AN-ISE sc
- Applies to AISE sc
- Applies to NISE sc
Troubleshooting during operation
| Symptom | Possible cause | Corrective measures |
| Incorrect measurement values | Calibration too old; calibration was not suitable for the particular application; large change in the waste water matrix | Perform a suitable calibration. |
| Severely contaminated membranes and/or reference electrode | Clean the sensor cartridge using a brush and/or rinse the sensor cartridge with clean water (without cleaning agents), and wipe the sensor cartridge carefully with a soft, clean cloth. Clean all components (membranes/reference electrode/temperature sensor). | |
| Install the cleaning unit | ||
| Increase the cleaning interval | ||
| Sensor membrane damaged | Check the sensor installation/ replace the sensor cartridge | |
| Reference element damaged | ||
| NO3 mV RANGE! (Nitrate mV value is out of measurement range) 1,3 | Replace the sensor cartridge | |
| CL mV RANGE! (Chloride value is out of measurement range) 1,3 | ||
| REF1 RANGE! (measuring range exceeded on 1st reference value) | ||
| REF2 RANGE! (measuring range exceeded on 2nd reference value) | ||
| TEMPERATURE (Temperature value is out of measurement range) | Replace the sensor cartridge/check the waste water temperature | |
| CARTRIDGE OLD (sensor cartridge more than 1 year old) | Replace the sensor cartridge | |
| Moisture at the contacts of the sensor cartridge | Dry the contact with a cloth or paper Check the black gasket for damage and make sure it is in the correct position. Screw the 4 socket head screws tight. | |
| Incorrect measurement values | Moisture inside the measurement probe/faulty sensor electronics Check the sensor electronics by using the test cartridge (section 7.2, page 39).
| If the test cartridge data is not within this range and/or if the test cartridge check is not successful, contact the service department. |
| Potassium concentrations too high (e.g.: >700 mg/L in the case of small ammonium concentrations) or chloride concentrations too high (e.g.: >1000 mg/L in the case of small nitrate concentrations) | Switch off potassium/chloride compensation (in the configuration menu – then potentially enter a fixed value for potassium/chloride) |
| Symptom | Possible cause | Corrective measures |
| Unstable measurement values | Air bubbles, depth of immersion | Check the sensor installation Check the cleaning unit configuration |
| Moisture at the contacts of the sensor cartridge | Dry the contacts with a cloth or paper. Check the black gasket for damage and make sure it is in the correct position. Screw the 4 socket head screws tight | |
| Sensor membrane damaged | Check the sensor installation/ replace the sensor cartridge | |
| Reference element damaged |
- applies to AN-ISE sc
- applies to NISE sc
Troubleshooting during calibration
| Symptom | Possible cause | Corrective measures |
| SENSOR CODE | Sensor code entered incorrectly | Using the certificate, check whether the sensor code was entered correctly. |
| AMMONIUM 1, 2 | ||
| OFFSET | Error during the last ammonium correction, sensor cartridge too old, contaminated, faulty | Repeat the correction. Use the previous correction. Clean or replace the sensor cartridge. |
| SLOPE | ||
| POTASSIUM 1,2 | ||
| OFFSET | Error during the last potassium correction, sensor cartridge too old, contaminated, faulty | Repeat the correction. Use the previous correction. Clean or replace the sensor cartridge. |
| SLOPE | ||
| NITRATE 1,3 | ||
| OFFSET | Error during the last nitrate correction, sensor cartridge too old, contaminated, faulty | Repeat the correction. Use the previous correction. Clean or replace the sensor cartridge. |
| SLOPE | ||
| CHLORIDE 1,3 | ||
| OFFSET | Error during the last chloride correction, sensor cartridge too old, contaminated, faulty | Repeat the correction. Use the previous correction. Clean or replace the sensor cartridge. |
| SLOPE | ||
- Applies to AN-ISE sc
- Applies to AISE sc
- Applies to NISE sc
Section 7 Replacement parts and accessories
Replacement parts
| Description | Catalog number |
| AN-ISE sc (probe with built-in 10-m cable and a pre-calibrated sensor cartridge) | LXV440.99.000×1 |
| AISE sc (probe with built-in 10 m cable and a pre-calibrated sensor cartridge) | LXV440.99.100×1 |
| NISE sc (probe with built-in 10 m cable and a pre-calibrated sensor cartridge) | LXV440.99.200×1 |
| Calibrated sensor cartridge1 | LZY694 |
| Cleaning brush | LZY589 |
| Black gasket | LZY713 |
| Cartridge screw set (4 screws and socket head wrench) | LZY715 |
| Protective cap for reference system | LZY588 |
| Cable clip for AN-ISE sc | LZY717 |
| Cable clip for AISE sc | LZY697 |
| Cable clip for NISE sc | LZY698 |
- Sensor cartridges are wearing parts and are not covered by the instrument warranty.
Accessories
| Description | Catalog number |
| Cleaning unit | LZY706 |
| Rail mount | 6184900 |
| Chain mount | LZX914.99.12400 |
| Stainless steel rim mount | LZX414.00.80000 |
| High Output Air Blast compressor 115 V/50 Hz | 6860003.99.0001 |
| High Output Air Blast compressor 230 V/50 Hz | 6860103.99.0001 |
| Test cartridge | LZY720 |
| Polishing paper for chloride electrode (only for AN-ISE sc and NISE sc) | LZY671 |
Validation accessories
| Description | Catalog number |
| Nitrate cuvette test (measurement range: 0.23–13.5 mg/L NO3–N/1–60 mg/L NO3) | LCK 339 |
| Nitrate cuvette test (measurement range: 5–35 mg/L NO3–N/22–155 mg/L NO3) | LCK 340 |
| Chloride cuvette test (measurement range: 1–1000 mg/L Cl) | LCK 311 |
| Chloride test strips (measurement range: 30–600 mg/L Cl) | 27449-40 |
| Ammonium cuvette test (measurement range: 2–47 mg/L NH4–N/2.5–60.0 mg/L NH4) | LCK 303 |
| Ammonium cuvette test (measurement range 1–12 mg/L NH4-N/1.3–15.0 mg/L NH4) | LCK 305 |
| Potassium cuvette test (measurement range: 5–50 mg/L K) | LCK 228 |
Corresponding documentation
| Description | Catalog number |
| Cleaning unit instruction sheet | DOC273.99.90203 |
| Rail mount instruction sheet | DOC273.99.90201 |
| Chain mount instruction sheet | DOC273.99.90322 |
| Compressor operating instructions (“HOAB”), (xx = language code) | DOC023.xx.00811 |
| sc100 operating instructions, (xx = language code) | DOC023.xx.00032 |
| sc1000 operating instructions, (xx = language code) | DOC023.xx.03260 |
Section 8 Limited warranty
Hach Company warrants its products to the original purchaser against any defects that are due to faulty material or workmanship for a period of one year from date of shipment unless otherwise noted in the product manual.
In the event that a defect is discovered during the warranty period, Hach Company agrees that, at its discretion, it will repair or replace the defective product or refund the purchase price excluding original shipping and handling charges. Any product repaired or replaced under this warranty will be warranted only for the remainder of the original product warranty period.
This warranty does not apply to consumable products such as chemical reagents; or consumable components of a product, such as, but not limited to, lamps and tubing.
Contact Hach Company or your distributor to initiate warranty support. Products may not be returned without authorization from the Hach Company.
Limitations
This warranty does not cover:
- Damage caused by acts of God, natural disasters, labor unrest, acts of war (declared or undeclared), terrorism, civil strife or acts of any governmental jurisdiction
- Damage caused by misuse, neglect, accident or improper application or installation
- Damage caused by any repair or attempted repair not authorized by the Hach Company
- Any product not used in accordance with the instructions furnished by the Hach Company
- Freight charges to return merchandise to the Hach Company
- Freight charges on expedited or express shipment of warranted parts or products
- Travel fees associated with on-site warranty repair
This warranty contains the sole express warranty made by the Hach Company in connection with its products. All implied warranties, including without limitation, the warranties of merchantability and fitness for a particular purpose, are expressly disclaimed.
Some states within the United States do not allow the disclaimer of implied warranties and if this is true in your state the above limitation may not apply to you. This warranty gives you specific rights, and you may also have other rights that vary from state to state.
This warranty constitutes the final, complete, and exclusive statement of warranty terms and no person is authorized to make any other warranties or representations on behalf of Hach Company.
Limitation of Remedies
The remedies of repair, replacement or refund of purchase price as stated above are the exclusive remedies for the breach of this warranty. On the basis of strict liability or under any other legal theory, in no event shall the Hach Company be liable for any incidental or consequential damages of any kind for breach of warranty or negligence.
HACH COMPANY World Headquarters
P.O. Box 389, Loveland, CO 80539-0389
U.S.A. Tel. (970) 669-3050
(800) 227-4224 (U.S.A. only)
Fax (970) 669-2932
[email protected]
www.hach.com
HACH LANGE GMBH Willstätterstraße 11
D-40549 Düsseldorf, Germany
Tel. +49 (0) 2 11 52 88-320
Fax +49 (0) 2 11 52 88-210
[email protected]
www.de.hach.com
HACH LANGE
Sàrl 6, route de Compois
1222 Vésenaz
SWITZERLAND
Tel. +41 22 594 6400
Fax +41 22 594 6499
© Hach Company/Hach Lange GmbH, 2010–2012, 2017–2018, 2021.
All rights reserved.
Printed in Germany

Reference system cap


















