FRO120 Rowing Machine Essential
Instruction Manual
![]()
http://www.supportdecathlon.com./

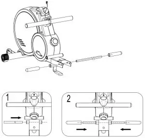
ASSEMBLY

SECURITY








FOLDING


PRESENTATION
The rowing machine is the best all-around cardio machine. Besides the cardiovascular and respiratory benefits of the exercise, the rowing machine makes you use the majority of your muscle mass (about 90% of your muscles). Cardio training exercises: Through practice, you will improve your endurance and fitness. You will also burn a maximum of calories, promoting rapid weight loss (the number of calories burned the more intense your session, the more calories you will burn. On average, at moderate intensity. a person of about 70 kg will burn 260 calories in 30 minutes. At higher intensity the same person could burn up to 315 calories.) Body training exercise: The rowing machine helps tone thigh, back, and arm muscles. is completely different from one person to another, but be aware that
GENERAL RECOMMENDATIONS
- WARNING Fitness must be practiced in a CONTROLLED way.
Before starting any exercise program, consult your doctor. It is par particularly important for people over the age of 35 years, people who have a history of health problems, or if you haven’t practiced sports for several years. Read all instructions before use. - This equipment should not be used by persons (including children) with reduced physical, sensory or mental abilities or persons lacking the necessary experience or knowledge unless they have received prior instruction on how to use the equipment or are under the supervision of a person responsible for their safety.
- Any use of this product other than that intended may lead to serious injury.DOMYOS cannot be held liable for claims of injury or damage sustained by any person or property originating from the use or misuse of this product by the purchaser or by any other person.
- Class HC: This product is intended for domestic use only. Do not use the product in any commercial, rental or institutional setting. People wearing a pacemaker, a defibrillator, or any other electronic implant are advised that they use the pulse sensor at their own risk.
- WARNING! Heart rate monitoring systems may be inaccurate. Over-exercise may result in serious injury or death. If you feel faint or any pain, stop exercising immediately.
- Not suitable for high accuracy purposes
- In order to guarantee your safety, it’s your responsibility to inspect all the pieces before each use of the product by tightening the screw which are move exposed to wear. Any assembly or disassembly of the product should be carried out with care.
- Always wear sports shoes to protect your feet while exercising.
- Wear appropriate clothing when exercising. DO NOT wear loose clothing that could get caught in moving parts. Remove jewelry. Tie long hair so that it does not get in the way when exercising.
- The equipment must be placed on a flat, stable surface.
- You must replace the sticker if it is damaged, illegible or missing
- If your Product power is supplied by adapter: only use your product with the adapter provided. If the power cable is damaged, it must be replaced by the manufacturer, its service agent or similarly qualified persons in order to avoid a hazard.
- If your Product power is supplied by AA battery: non-rechar gable batteries have not to be recharged; rechargeable batteries nave to be removed from the appliance before being charged; diffe rent types of batteries or new and used batteries can not be mixed; batteries have to be inserted with the correct polarity; exhausted batteries have to be removed from the appliance and safely disposed of; if the appliance is unused for a long period, the batteries should be removed; the supply terminals have not to be short-circuited.
- This product is equipped with a magnetic resistance system independent of the adjustable speed using the adjustment wheel
OPERATION OF THE CONSOLE
Your console offers numerous features to enhance your workout. You will find all of the instructions below for easy use.

DISPLAY AND BUTTON:
- Display the pace in strokes per minute (count/min)
- Distance display (km or mph)
- Calories expended display (Kcal)
- Time elapsed display (MM: ss)
- Display the number of strokes (count)
- Estimated time to cover 500 meters (MM: ss)
- MODE button
FUNCTIONS:
- Pace: This function indicates the pace in strokes per minute (count/min)
- Distance This function indicates the estimated distance covered since the beginning of the exercise session. This can be in km (kilo meters) or m (miles) depending on the position of the switch at the rear of the console.
- Time: This function indicates how much time has elapsed since the beginning of the exercise session; this is given in minutes and seconds (MM.SS).
- Calories: This function displays an estimate of calories expended since the beginning of the session.
- Counter This function displays the number of strokes since the beginning of the workout (count)
- Pace Your average time to cover 500 meters (MM_SS)
Your console will automatically light up as soon as you start rowing. When the console lights up, it will automatically be in AUTO SCAN mode.
In this mode, the 5 types of information listed below, are displayed in succession every 5 seconds. Press the MODE button to select the information you want to display and remove the AUTO SCAN mode. Press the MODE button again to restart the AUTOS CAN mode.
ADJUSTMENTS AT THE BACK OF THE CONSOLE: Switch: Selection of unit of measurement for DISTANCE: MI (Miles) / KM (Kilometres)
RESETTING THE PRODUCT TO ZERO: The product goes into standby mode after about 10 minutes of inactivity. The indicators return to zero when in sleep mode (data is not saved). By removing and replacing the two batteries in the console.
BATTERY INSTALLATION: Remove the console from stand and place 2 AAA (1.5V) batteries in the specially designated compartment at back of screen, ‘ Ensure that the batteries are inserted correctly and are in full contact with the springs. If the display is unreadable or incomplete, remove the batteries, wait fifteen seconds, and put them back.
NB: the battery compartment on your console is not designed to have a cover.
TROUBLESHOOTING
- You find that your counter does not indicate the correct units of measurement for distance: Check the switch on the back of the console is in the MI position for display in miles, KM for display in kilometers. Check that the cables are correctly connected behind the console and where the bracket joins the mainframe of the rowing machine. Remove and replace the batteries in the console to reset it.
- If the counter does not turn on: Check that the batteries are correctly positioned (+/-), If the problem persists, start again with new batteries.
- Your counter does not count strokes and does not automatically turn on when you start rowing: Check the connection between your console and the cable. Unplug this connection then reconnect ii.
- Your counter displays ‘ERR You are not able to adjust your resistance level, You hear an abnormal noise coming from inside the casing,
- If the above problem persists, refer to the last page of the instructions.
PRECAUTIONS FOR USE
Always start by warming up at a slow pace for several minutes.

POSITION: Sitting with your back straight, be sure not to arch your back. The position of your back is crucial so that you do not hurt yourself and for the exercises to be effective. Place your feet in the pedals. Your feet should be well supported, with the straps tightened around the middle of the feet.
If you are a beginner, start by training for several days at a low pace and resistance, without overexerting yourself. Take rest periods if necessary. Gradually increase the number or duration of sessions and remember to stay hydrated. During your workout, be sure to ventilate the room in which the rowing machine is located.
USING THE ROWING MACHINE
![]() | ![]() | ![]() |
| Starting position: The Catch The starting position is knees bent, hands gripping the handle. arms outstretched and shoulders relaxed | In the water’ position: Push on your legs and, at halfway, pull on your arms and start to breathe in. | Exit’ position Your elbows come back and your ribcage expands while you breathe in. Your legs are straight but your knees are not completely locked. Your back should remain straight (90° to the rowing machine). Do not lean back. |
The Return The return to the starting position is carried out by simultaneously pulling on the legs and pushing on the arms, while breathing out. The user finds themselves back in the catch position and starts again without stopping.
SOME EXERCISES:
Reminder The rowing machine is a cardio training machine that must take into account
- The pace (strokes per minute)
- The intensity (heart rate)
- The workload (workout time, sets)
- The resistance (the higher it is, the slower the pace)
Start your practice gently with 1 to 2 sessions per week and for 10 minutes, and gradually increase the duration and intensity. Always end your session with some stretching exercises.
Warm-up: Progressive effort for up to 15 minutes: The warm-up not only allows the body to get ready for exercise, it also ensures a more successful workout and results that meet your expectations. It must be done correctly, for a duration of between 10 and 15 minutes. To do so, take a seat on your rowing machine and row linearly (smoothly) and at low resistance to start. Gradually increase the resistance
Aerobic workout exercise: Row at about 18 strokes per min, and at 75% of your maximum heart rate, 3×5 minutes for a 30-min session, Then do an intensive aerobic session: 24 strokes per min, at 85% of your maximum heart rate, 2×4 min for a 10-min session.
Heart workout exercise: Row 22 to 24 strokes per minute. For beginners, this cardio exercise can be divided into two 4-minute sections. For experienced athletes, do two 8-minute periods.
Power workout exercise: This exercise will help you increase the pace and power of your workout. Start with 3 minutes of 20-22 strokes per minute, then 3 minutes at a pace of 22-24 strokes per minute. Then move on to 3 minutes of 24 strokes at a moderate speed, then 3 minutes of the same, but at a faster speed. Take a minute to recover between the sessions.
Stretching and hydration: We recommend that you stretch and hydrate after each session to relax your muscles and promote your recovery.
COMMERCIAL WARRANTY
DOMYOS guarantees this product under normal use conditions, 5 years for the structure, 2 for other parts and labour as from date of purchase, as shown on receipt. DOMYOS’s obligation with regard to this warranty is limited to the replacement or repair of the product, at the discretion of DOMYOS. This guarantee doesn’t apply in cases of:
- Damage caused during transportation
- Poor assembly / Poor maintenance
- Repairs made by technicians not approved by DOMYOS
- Use and/or storage outside in a damp environment
- Misuse or abnormal use
- Usage outside of a domestic setting
This warranty does not cancel the legal warranty applicable in the country of purchase. To take advantage of your product warranty. consult the table at the end of the user’s guide.

AFTER-SALES SERVICE
UK
Do you need assistance?
Find us at www.supportdecathlon.
com, or if you don’t have an internet
connection call our Customer Loyalty
T earn at 0207 064 3000.
http://www.supportdecathlon.com./
DECATHLON
DECATHLON – 4 Boulevard de Mons – BP 299
59650 Villeneuve d’Ascq cedex – France
| Product name: | DOMYOS FRO120 |
| Product function: | Rower |
| Model: | 8501452 |
| Type: | 2491923 |
| This product complies with all the relevant requirements of the following European directives and standards | EN ISO 20957-1 2013 EN ISO 20957-7 2005 GB 17498.1-2008 GB 17498.7-2008 |
| Issued,n (place). | MARCO-EN-BA-ROEHL |
| Date (day/month/ year) | 16-07-2018 00.00.00 |
| DOMYOS brand | Caroline LANIGAN |
Original instructions to be kept
PackRel 2377812
EN 957-7 1998 – EN ISO 20957-1 2013
GB 17498.1-2008 – GB 17498.7-2008 ![]()




















