TAXITRONIC TX80 SkyGlass and SkyGlassPro
Product Information
The product is the TAXITRONIC TX80 SKYGLASS, a taximeter device manufactured by INTERFACOM, S.A.U. The installation manual provides instructions on how to install and parameterize the taximeter. The manual also includes information on the installation of the SAM card and the mounting and location of the TX80, SKYGLASS, and URBA devices.
Product Usage Instructions
SAM Installation
To install the SAM card, follow these steps:
- Open the device.
- Insert the SAM card into the Skyglass groove as shown in the diagram.
- Configure the SAM card by following the instructions in the toolkit manual’s SIM/SAM configuration section. This should be done after completing the installation in the vehicle.
Mounting
Mounting and Location of TX80:
Follow these steps to mount the TX80 device:
- Open the sealed device and connect all TC60 connectors inside, covered by a sealable cover, using a screwdriver with a Z1 head format.
- Install the TX80 device in a position where passengers cannot see or access it.
- Ensure that the identification sticker and seals are easily visible and accessible for verification at a verification office.
- The standard positions for mounting are inside the glovebox or under the vehicle board. Some vehicle brands may have standardized the position for TX80.
- Do not allow cables to cover the identification sticker or seals.
Mounting and Location of SKYGLASS
To mount the SKYGLASS device, follow these steps:
- Use two Velcro strips to tie the SKYGLASS to the interior rear-view mirror of the vehicle.
- Connect the SKYGLASS device to the TX80 internal connector using its cable.
Mounting and Location of URBA
To mount the URBA device, follow these steps:
- Fix the URBA device to the dashboard using an adhesive support. If the surface is rough, adhesion may not be possible. Alternatively, use screws to fix the base of the support on the dashboard.
- Connect the URBA device to the TX80 internal connector using its cable.
Electrical Installation
To access the TX80 connectors for electrical installation, follow these steps:
- Open the connector cover by removing the sealing screw.
- Connect each cable into its corresponding connector.
- Pass each cable through its retention.
- Create holes in the top cover for the cables to pass through.
- Close the device and screw the cover back in place.
INTRODUCTION
This document describes the installation and parameterization of the taximeter TAXITRONIC TX80 SKYGLASS and URBA.
SAM INSTALLATION
To introduce SAM card the device must be opened, then introduce SAM card in the Skyglass groove as there is shown on the plane. 
To configure the SAM card, the toolkit manual (SIM/SAM configuration section) indications must be followed. This process must be done after the installation has been completed in the vehicle.
MOUNTING
MOUNTING AND LOCATION OF TX80
The device will arrive sealed. It is necessary to open it to proceed to the connection All TC60 connectors are inside the unit, covered by a sealable cover.
The tools necessary for the installation are:
- Screwdriver with head format Z1
Al other devices are interconnected with TX80. So, it can’t be sealed until the whole installation process is finished. TX80 must be installed so that passengers can’t see or access it. Seals and serial numbers must be easily visible and accessible upon verification at a verification office. For this reason, it is necessary to take care of the orientation, with the stickers looking to the outside. Standard positions are inside the glovebox or under the vehicle board. Some vehicle brands have standardized the TX80 position. It is necessary that the identification sticker and the seals are easy to inspect. Cables can’t cover neither the identification sticker nor the seals.
MOUNTING AND LOCATION OF SKYGLASS
SKYGLASS must be tied to the interior rear-view mirror of the vehicle by two Velcro strips. The connection of the device is done through their cable into the TX80 internal connector.
MOUNTING AND LOCATION OF URBA
URBA must be fixed to the dashboard by means of an adhesive support. If the surface is rough, adhesion will not be possible. The base of the support can also be fixed on the dashboard with screws. The connection of the device is done through their cable into the TX80 internal connector.
ELECTRICAL INSTALLATION
To access the TX80 connectors it is necessary to open the Connector cover:
- Take out the screw that seals the cover
- Connect each cable into its connector
- Pass each cable through its retention
- Break the holes in the top cover in order the cables can pass
- Clos the device
- Screw the cover
The TX80 has the following connectors:
- (1) CAN Vehicle
- (2) Power Supply
- If the emergency signal is not used, Brown cable must be connected to ground.
- (3) Impulse Generator
- (5) CAN Accessories
- (6) SKYGLASS / URBA Connector
- (6) SKYGLASS / URBA Connector
- The connector on the cable has a white mark, which has to be oriented to the pulses connector.
TX80 CONNECTORS 
IPL80 CONNECTION
IPL80 must be connected to CAN accessories (5) connector. The rooflight cables must be connected to IPL80 as the rooflight installation diagram shows.
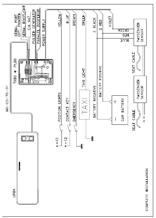
COMPLETE INSTALLATION
PARALLEL ROOFLIGHT INSTALLATION 
INSTALLATION IN A VEHICLE WITH CIA447 PROTOCOL 
COMPLETE INSTALLATION
PARALLEL ROOFLIGHT INSTALLATION 
RECOMMENDATIONS FOR THE ELECTRICAL INSTALLATION
- Disconnect the positive terminal on the battery until the whole electrical installation is completed.
- Any manipulation of the taximeter or of the external lights must be done while the taximeter is disconnected from the power supply
- Always take the positive and negative directly from the battery to avoid false contacts and to obtain a more filtered power supply.
- Always connect the cables to the battery by means of a terminal, never by winding the wires onto the contact.
- If the cables cross a plate to reach the taximeter, they should go through a protective rubber casing.
- If the cables are too long, they should be cut to the required length and not rolled up under any circumstances.
- If the vehicle has a radio transmitter, separate its installation from that of the taximeter as far as this is possible.
- If it is possible no element that is connected to the taximeter should be fixed to the same support as the aerial of the radio.
- If there is enough length on the connection cable between the TX80 and the SKYGLASS, the excess should be collected by making an eight and tie that with a flange, never making a spiral.
- If the URBA installation is made using an adhesive, the dashboard needs to be clean and dry. Clean it with a mix of isopropylic alcohol and water.
SEALING
TX80 SEALING
- Seal Nº1 and 2: Seals the taximeter box, so it seals the electrical installation.
- Seal Nº3: Is the manufacturer sealing, preventing access to the electronic board.

5.2. SKYGLASS SEALING
- Seal Nº1: Seals the taximeter box, preventing access to the electronic board.
- Seal Nº2: seals the cover of the tariff charger connector.

The taximeter kit is normally ready for sealing with a sticker seal. In some regions it is necessary to have a cable seal. If you need this kind of seal, the taximeter kit should include an antiturn angle and screws with a hole for the cables.
5.3. URBA SEALING
- Seal Nº1: Seals the taximeter box, preventing access to the electronic board.
- Seal Nº2: seals the cover of the tariff charger connector.

The taximeter kit is normally ready for sealing with a sticker seal. In some regions it is necessary to have a cable seal. If you need this kind of seal, the taximeter kit should include an antiturn angle and screws with a hole for the cables.
TECHNICAL CHARACTERISTICS
The general technical characteristics of TX80 SKYGLASS are as follows:
- Power supply voltage
- Nominal = 12 V
- Max = 30 V
- Min = 10 V
- Maximum consumption without external lights = 1500 mA
- Maximum consumption taximeter off = 6 mA
- Maximum consumption inside battery = 2.5 A
- Maximum power of 36 W for each external light of 60 W, in case that 3 outputs are connected in parallel
- Impulse generator power supply = 5 V
- Impulse generator input signal
- 5 V = -1 to 2,5 V
- Level 1 = 4 to 25 V
- Maintenance of the information disconnected from the vehicle’s battery of 5 years
- Overvoltage of 40 V = 10 ms
- Resistance to electrostatic shocks = 6 kV (Contact)
- Protection against inverse connection = 8 kV (Air)
- TX80 Internal connector protective fuse = 1.85 A.
- TX80 External fuse = 4 A.
- Operational temperature:
- TX80 = – 25 to +70ºC
- SKYGLASS = – 25 to +70ºC
- URBA = – 25 a +70°C
- Storage temperature for keeping the information = 40 to + 85º C
- “K” constant of the device from 500 until 80000 pulses per Km/ml.
- Mechanical environment M3
- Climatic environment E3
IMPULSE GENERATOR
INTRODUCTION
For the vehicles with mechanical speedometer, you have to use a pulse generator that is managed by the taximeter.
The pulse generator is inserted in the cable of the speedometer and converts the mechanical movement of this cable in an electrical signal, which is amplified and filtered by the taximeter.
INSTALLATION
ASSEMBLY OF THE SPEEDOMETER CABLE AND PULSE GENERATOR
First of all, part of the protecting cover of this cable must be removed and the cable must be cut (item 1).
A fixing ring (item 2) must be put in each of the two edges of the cable. The square terminals (item3) are placed on the cable and are fixed by pressing on the zone indicated with (4). This is done in position “A” or “B” of the pliers depending on the diameter of the square terminal. Afterwards put the cover ends (item 5) and press them on the part indicated in item 6 in the position “C” of the pliers.

Finally, all pieces are assembled by screwing together the two fixing rings considering that the separating space indicated by (8) must be sufficient.
CABLE CONNECTION, COVER CLOSING AND PULSE GENERATOR SUPPORT
To connect the pulse generator cable, it is necessary to open the pulse generator cover (item 1) after taking the closing screw out and moving the cover in the right direction indicated by the arrow. Connect the cable as indicated on item 2, considering the polarity of the connector.
Finally put the pulse generator cover back, fix it or seal it, if it is necessary (item 3) and place the pulse generator in the corresponding holder.
SEALING (Drawing 11)
The pulse generator installation can also be sealed, as shown in the image.
TECHNICAL CHARACTERISTICS
The main technical characteristics of the pulse generator are:
- Sensor type: Hall effect cell
- Number of pulses/revolution: 4 with double impulses train
- Feeding voltage: 4 to 18 V
- Consumption at 5 V: 10 mA
VEHICLES WITH ELECTRONIC IMPULSE SIGNAL
The distance signal supplied by the car can be connected in two possible ways:
- By connecting this signal to the Green/White wire on the Power Supply cable
- By using the dedicated impulse generator connector, with a shielded cable, or even mechanical shield, according to local regulations.
The adaptation of the signals of the different vehicles is done by an internal electronic circuit with the following characteristics:
- Hysteresis of the input is configurable
- It adapts to different levels
- Optional Pull–up
- Optional Pull–down
- Constant K is adjustable between 500 and 80000 km-1.
ERROR MESSAGES
The possible error messages that may appear on the display are listed below.
- E-2 Roof lights failure: The roof lights are not correctly connected or some of its bulb lights doesn’t work. This error is shown if it is enabled in the tariff.
- E-5 The taximeter is out of the configured revision period: This message is shown when the taximeter is out of the configured revision period. It is resolved by setting a new stop date or disabling it.
- E-6 Excess speeding. This error is shown if it is enabled in the tariff.
- E-7 Working time max exceeded: This error is shown when the hours of the shift have finished. The error automatically disappears when you restart the day.
- E-8 Error in the tariff parameters: The taximeter has not the tariff loaded, or the tariff loaded is wrong. The error is solved by charging tariff.
- E-10 Printer failure: The printer is not working, is incorrectly connected or has no paper. This error is shown if it is enabled in the tariff.
- E-11 Serial number error: This error is displayed if the serial numbers are not linked. The error is solved by charging tariff.
- E-12 RAM memory loss: This error is displayed if the device has a depleted battery or there is a malfunction. The error is solved by replacing the internal battery of the equipment.
- E-Z Anti Zapper error: A distance pulse error detected. This error is shown if it is enabled in the tariff. The error is solved by charging tariff.
- E-NS Serial Number Pairing Error: This error is displayed when a TX80 is connected to a device to which it is not paired. This pairing is done when charging tariff.
All these adjustments are done from the tariff changer. It is necessary to unseal the device.
Inst TX80_EN.doc























