
Dachkant-Fernglas
Roof Binoculars
Operating instructions
1821042 Roof Binoculars
SERVICE AND WARRANTY:
BINOCULARS GUIDE:

BINOCULARS FAQ:

WARNING: Never use this device to look directly at the sun or in the direct proximity of the sun. Doing so may result in a risk of blindness.

Parts overview
- Central focusing wheel
- Eyepiece lens
- Objective lens
- Centre axle
- Optical tube
- Dioptre adjustment
- Rubber eyecups
- Eyelet for carrying strap
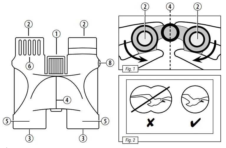
Eye distance
The distance between one’s eyes varies from person to person, so it is essential that you adjust your binoculars before you use them. Take the binoculars in both hands (Fig. 1) and hold them to your eyes. Fold them so that you see a single circle when looking through them with both eyes (Fig. 2).
Adjusting the focus
Find an object over ten metres away. Close your right eye, or hold a finger over it. Turn the focusing wheel (Fig. 3) to focus correctly for your left eye. Then repeat the process with your other eye using the dioptre adjustment (Fig. 4, 6). Once you have both focused correctly, you’ll be able to see any object in focus with both eyes.
If you wear glasses
The eyepieces on the lenses fold (7). Fold them back if you wear glasses to see in focus (Fig. 5).
Notes on cleaning
- Clean the eyepieces and lenses only with a soft, lint-free cloth like a microfibre cloth. To avoid scratching the lenses, use only gentle pressure with the cleaning cloth.
- To remove more stubborn dirt, moisten the cleaning cloth with an eyeglasscleaning solution and wipe the lenses gently. ]
- Protect the device from dust and moisture. After use, particularly in high humidity, let the device acclimatize for a short period of time, so that the residual moisture can dissipate before storing.
DISPOSAL
- Dispose of the packaging materials properly, according to their type, such as paper or cardboard. Contact your local waste-disposal service or environmental authority for
information on the proper disposal.
EC Declaration of Conformity
If applicable for your product: Bresser GmbH has issued a “Declaration of Conformity” in accordance with applicable guidelines and corresponding standards.
The full text of the EU declaration of conformity is available at the following internet address: www.bresser.de/download
UKCA Declaration of Conformity
If applicable for your product:
Bresser GmbH has issued a „Declaration of Conformity“ in accordance with applicable guidelines and corresponding standards. The full text of the
UKCA declaration of conformity is available at the following internet address: www.bresser.de/download
Bresser UK Ltd. • Suite 3G, Eden House, Enterprise Way, Edenbridge, Kent TN8 6HF, Great Britain
Warranty and Service
The regular warranty period is 2 years and begins on the day of purchase. To benefit from an extended voluntary guarantee period as stated on the gift box, registration on our website is required. You can consult the full warranty terms as well as information on extending the warranty period and details of our services at www.bresser.de/warranty_terms.
Service:
E-Mail: [email protected]
Telephone*: +44 1342 837 098
BRESSER UK Ltd.
Suite 3G, Eden House Enterprise Way Edenbridge, Kent TN8 6HF Great Britain
* Number charged at local rates in the UK (the amount you will be charged per phone call will depend on the tariff of your phone provider); calls from abroad will involve higher costs.
Contact
Bresser GmbH
Gutenbergstraße 2
46414 Rhede · Germany
www.bresser.de
@BresserEurope
Bresser UK Ltd.
Suite 3G, Eden House, Enterprise Way • Edenbridge,
Kent TN8 6HF • Great Britain
Errors and technical changes reserved.
Manual_Roof-Binoculars_de-en-fr-nl-it-es-ru_BRESSER-JR_v102022a




















