
Fernglas
Binoculars
1821043 Condor 10×42 Roof Binoculars with UR Coating
INSTRUCTION MANUAL DOWNLOAD: Visit our website via the following QR Code or web link to find further information on this product or the
available translations of these instructions.
MANUAL DOWNLOAD:

www.bresser.de/download/BRESSER_JR/Binoculars
SERVICE AND WARRANTY:

www.bresser.de/guide
www.bresser.de/faq
![]()

WARNING: Never use this device to look directly at the sun or in the direct proximity of the sun. Doing so may result in a risk of blindness.
GALILEAN

Parts overview
- Central focusing wheel
- Eyepiece lens
- Objective lens
- Centre axle
ROOF

Parts overview
- Central focusing wheel
- Eyepiece lens
- Objective lens
- Centre axle
- Dioptre adjustment
PORRO
Parts overview
- Central focusing wheel
- Eyepiece lens
- Objective lens
- Centre axle
- Dioptre adjustment


GENERAL WARNINGS
- Risk of blindness — Never use this device to look directly at the sun or in the direct proximity of the sun. Doing so may result in a risk of blindness.
- Choking hazard — Children should only use the device under adult supervision. Keep packaging material, like plastic bags and rubber bands, out of the reach of
children, as these materials pose a choking hazard. - Risk of fire — Do not place the device, particularly the lenses, in direct sunlight. The concentration of light could cause a fire.
- Do not disassemble the device. In the event of a defect, please contact your dealer. The dealer will contact the Service Centre and can send the device in to be repaired, if necessary.
- Do not expose the device to high temperatures.
- The device is intended only for private use. Please heed the privacy of other people. Do not use this device to look into apartments, for example.
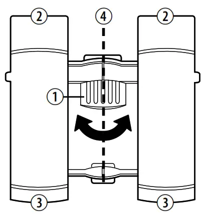
Galilean/Roof/Porro: Eye distance
The distance between one’s eyes varies from person to person, so it is essential that you adjust your binoculars before you use them. Take the binoculars in both hands (Fig. 1) and hold them to your eyes. Fold them so that you see a single circle when looking through them with both eyes (Fig. 2).,
Adjusting the focus
Find an object over ten metres away. Close your right eye, or hold a finger over it. Turn the focusing wheel to focus correctly for your left eye (Fig. 3).
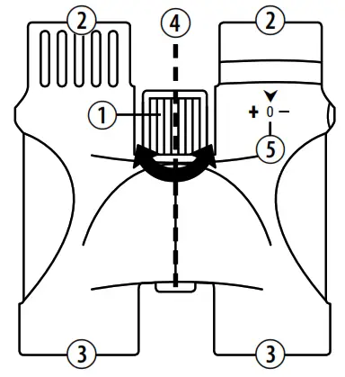
Roof/Porro:
Dioptre adjustment
If your left eye is now in focus, close your left eye and repeat the process using the dioptre adjustment (Fig. 4, 6) to focus your right eye. Once you have both lenses focused correctly, you’ll be able to see any object in focus with both eyes.
If you wear glasses
The eyepieces on the lenses fold. Fold them back if you wear glasses to see in focus (Fig. 5).
Mounting the binoculars on a tripod
If your binoculars have a threaded tripod connection (Fig. 6) built in: The required tripod adapter is available in stores as an optional accessory (Art. No. 1916000 or 1916500). With this accessory, you are able to mount your binoculars on a tripod with a DIN mounting thread (e.g. Art. No. 4922500).
NOTES ON CLEANING
- Clean the eyepieces and lenses only with a soft, lint-free cloth like a microfibre cloth. To avoid scratching the lenses, use only gentle pressure with the cleaning cloth.
- To remove more stubborn dirt, moisten the cleaning cloth with 19 an eyeglass-cleaning solution and wipe the lenses gently.
- Protect the device from dust and moisture. After use, particularly in high humidity, let the device acclimatize for a short period of time, so that the residual moisture can dissipate before storing.
EC Declaration of Conformity
If applicable for your product: Bresser GmbH has issued a “Declaration of Conformity” in accordance with applicable guidelines and corresponding standards. The full text of the EU dec- laration of conformity is available at the following internet address: www.bresser.de/download
UKCA Declaration of Conformity
If applicable for your product: Bresser GmbH has issued a „Declaration of Conformity“ in accordance with applicable guidelines and corresponding standards.
The full text of the UKCA
declaration of conformity is available at the following internet address: www.bresser.de/download
Bresser UK Ltd. • Suite 3G, Eden House, Enterprise Way, Edenbridge, Kent TN8 6HF, Great Britain
DISPOSAL
Dispose of the packaging materials properly, according to their type, such as paper or cardboard. Contact your local waste-disposal service or environmental authority
for information on the proper disposal.
WARRANTY & SERVICE:
The regular warranty period is 2 years and begins on the day of purchase.
To benefit from an extended voluntary guarantee period as stated on the gift box, registration on our website is required. You can consult the full warranty terms as well as information on extending the warranty period and details of our services at www.bresser.de/warranty_terms.
SERVICE CENTER:
E-Mail: s[email protected]
Telephone*: +44 1342 837 098
BRESSER UK Ltd.
Suite 3G, Eden House, Enterprise Way Edenbridge, Kent TN8 6HF
Great Britain
* Number
charged at local rates in the UK (the amount you will be charged per phone call will depend on the tariff of your phone provider); calls from abroad will involve higher costs.
Contact
Bresser GmbH
Gutenbergstraße 2
46414 Rhede · Germany
www.bresser.de![]()
@BresserEurope
Bresser UK Ltd.
Suite 3G, Eden House, Enterprise Way • Edenbridge,
Kent TN8 6HF • Great Britain
Errors and technical changes reserved.
Manual_Standard-Binoculars_de-en-fr-nl-it-es-ru-pl_BRESSER-JR_v102022a
References
konsoleH :: Login
Поддержка - Гарантийное обслуживание Bresser
index · powered by h5ai 0.26.1 (http://larsjung.de/h5ai/)
index · powered by h5ai 0.26.1 (http://larsjung.de/h5ai/)
Bresser | FAQ | Expand Your Horizon
bresser.de/garantiebedingungen
Bresser | Ratgeber | Expand Your Horizon
bresser.de/warranty_terms






















