FROST-FREE DRAWER REFRIGERATOR
ADRD15, ADRD15OS, SPR2D15, FF152D
ADRD24
User Manual
BEFORE USE, PLEASE READ AND FOLLOW ALL SAFETY RULES AND OPERATING INSTRUCTIONS.
Write Model and Serial Numbers here:
Model No.:______________________
Serial No.:______________________
APPLIANCE SAFETY
Your safety and the safety of others are very important.
We have provided many important safety messages in this manual and on your appliance. Always read and obey all safety messages.
This is the Safety Alert Symbol. The symbol alerts you to potential hazards that can kill or injure you and others. All safety messages will follow the Safety Alert Symbol and either the word DANGER or WARNING.
DANGER means that failure to heed this safety statement may result in severe personal injury or death.
WARNING
All safety messages will alert you about the potential hazard, tell you how to reduce the chance of injury, and let you know what can happen if the instructions are not followed.
IMPORTANT SAFEGUARDS
Before the appliance is used, it must be properly positioned and installed as described in this manual, so read the manual carefully. To reduce the risk of fire, electrical shock, or injury when using the appliance, follow basic precautions, including the following:
![]()
- Plug into a grounded 3-prong outlet, do not remove the grounding prong, do not use an adapter, and do not use an extension cord.
- Replace all panels before operating.
- It is recommended that a separate circuit serving only your appliance be provided. Use receptacles that cannot be turned off by a switch or pull chain.
- Never clean appliance parts with flammable fluids. These fumes can create a fire hazard or explosion. And do not store or use gasoline or other flammable vapors and liquids in the vicinity of this or any other appliance. The fumes can create a fire hazard or explosion.
- Do not connect or disconnect the electric plug when your hands are wet.
- Unplug the appliance or disconnect power before cleaning or servicing. Failure to do so can result in electrical shock or death.
- Do not attempt to repair or replace any part of your appliance unless it is specifically recommended in this manual. All other servicing should be referred to a qualified technician.
- This appliance is CFC- and HFC-free and contains small quantities of Isobutane (R600a) which is environmentally friendly, but flammable. It does not damage the ozone layer, nor does it increase the greenhouse effect. Care must be taken during transportation and setting up of the appliance so that no parts of the cooling system are damaged. Leaking coolant can ignite and may damage the eyes.
- In the event of any damage:
o Avoid open flames and anything that creates a spark,
o Disconnect from the power source,
o Air the room in which the appliance is located for several minutes, and
o Contact the Service Department for advice. - The more coolant there is in an appliance, the larger the room in which it should be installed. In the event of a leakage, if the appliance is in a small room, there is the danger of combustible gases building up. For every ounce of coolant, at least 325 cubic feet of room space is required. The amount of coolant in the appliance is stated on the data plate inside the appliance. It is hazardous for anyone other than an Authorized Service Person to carry out servicing or repairs to this appliance.
- Take serious care when handling, moving, and using the appliance to avoid either damaging the refrigerant tubing or increasing the risk of a leak.
- Replacing component parts and servicing shall be done by factory-authorized service personnel so as to minimize the risk of possible ignition due to incorrect parts or improper service.
WARNING
FOLLOW WARNING CALLOUTS BELOW ONLY WHEN APPLICABLE TO YOUR MODEL
- Use two or more people to move and install appliances. Failure to do so can result in back or another injury.
- To ensure proper ventilation for your appliance, the front of the appliance must be completely unobstructed. Choose a well-ventilated area with temperatures above 50°F (10°C) and below 100°F (38°C).
- The appliance should not be located next to ovens, grills, or other sources of high heat.
- The appliance must be installed with all electrical, water, and drain connections in accordance with state and local codes. A standard electrical supply (115 V AC only, 60 Hz), properly grounded in accordance with the National Electrical Code and local codes and ordinances, is required.
- Do not kink or pinch the power supply cord of the appliance.
- The size of the fuse (or circuit breaker) should be 15 amperes.
- It is important that the appliance be leveled in order to work properly. You may need to make several adjustments to level it.
- All installations must be in accordance with local plumbing code requirements.
- Make certain that the pipes are not pinched, kinked, or damaged during installation.
- Check for leaks after connection.
- Never allow children to operate, play with or crawl inside the appliance.
- Do not use solvent-based cleaning agents or abrasives on the interior. These cleaners may damage or discolor the interior.
- Use this appliance only for its intended purpose as described in this User Manual.
- Keep fingers out of the “pinch point” areas. Clearances between the drawers and cabinet are necessarily small. Be careful closing drawers when children are in the area.
Risk of child entrapment!
Child entrapment and suffocation are not problems of the past. Junked or abandoned appliances are still dangerous, even if they will “just sit for a few days”.
Leave the shelves in place so that children may not easily climb inside.
– SAVE THESE INSTRUCTIONS –
LOCATION OF PARTS

NOTES:
- Refrigerator models ADRD24 and ADRD15 are designed for outdoor as well as indoor use.
They are equipped with a reinforced exterior and a power cord made to withstand outdoor weather. - Due to the limited width of ADRD15, there are no drawer dividers for this model.
INSTALLATION INSTRUCTIONS
Before Using your Appliance
- Remove the exterior and interior packing.
- Before connecting the appliance to the power source, let it stand upright for approximately 2 hours. This will reduce the possibility of a malfunction in the cooling system from handling during transportation.
- Clean the interior surface with lukewarm water, using a soft cloth.
- Install the handles on the drawers, if they are not already attached.
Installation of your Appliance
The appliance is designed for built-in, recessed, or free-standing installation
CAUTION: This appliance is not designed for the storage of medicine or other medical products.
- Place your appliance where the floor is strong enough to support it when it is fully loaded. To level the appliance, adjust the front leveling legs.
- For free-standing installation, 5” (127mm) of space between the back and sides of the appliance, and 4” (102mm) at the top, are suggested. This allows the proper air circulation to cool the compressor and condenser. For built-in installation, keep ¼” (6.35mm) of space between the top and sides of the appliance, and 2” (51mm) at the rear. Make sure the air vent at the front of the appliance is never covered or blocked in any way.
- Plug the appliance into an exclusive, properly grounded wall outlet.
NOTE: It is recommended that you do not install the appliance near an oven, radiator, or another heating source. Heat sources may increase electrical consumption, and direct sunlight may affect the outer coating. Don’t install in a location where the temperature will fall below 50°F (10°C). For best performance, do not install the appliance behind a cabinet door or block the base grille.
Electrical Connection
WARNING
Improper use of the grounded plug can result in the risk of electrical shock. If the power cord is damaged, have it replaced by a qualified electrician or an authorized service center.
This appliance should be properly grounded for your safety. The power cord of this appliance is equipped with a three-prong plug, which mates with standard three-prong wall outlets to minimize the possibility of electrical shock.
Do not, under any circumstances, cut or remove the third (ground) prong from the power cord supplied. For personal safety, this appliance must be properly grounded. Any questions concerning power and/or grounding should be directed toward a certified electrician or an authorized service center.
This appliance requires a standard 115/120 Volt AC ~60Hz three-prong grounded electrical outlet.
Have the wall outlet and circuit checked by a qualified electrician to make sure the outlet is properly grounded? When a standard 2-prong wall outlet is encountered, it is your responsibility and obligation to have it replaced with a properly grounded 3-prong wall outlet.
To prevent accidental injury, the cord should be secured behind the appliance and not left exposed or dangling.
The appliance should always be plugged into its own individual electrical outlet, which has a voltage rating that matches the rating label on the appliance. This provides the best performance and prevents overloading house wiring circuits, which could cause a fire hazard from overheating. Never unplug the appliance by pulling on the power cord. Always grip the plug firmly and pull it straight out from the receptacle. Immediately repair or replace all power cords that have become frayed or otherwise damaged. Do not use a cord that shows cracks or abrasion damage along its length or at either end. When moving the appliance, be careful not to damage the power cord.
Extension Cord
Due to potential safety concerns under certain conditions, it is strongly recommended that you do not use an extension cord with this appliance. However, if you must use an extension cord, it is absolutely necessary that it be a UL/CUL-Listed, 3-wire grounding type appliance extension cord having a grounding type plug and outlet and that the electrical rating of the cord is 115 volts and at least 10 amperes.
Anti-Tip Bracket Installation
To reduce the risk of tipping the appliance by abnormal usage or improper loading, the appliance must be secured by properly installing the anti-tip device packed with the appliance.
- Place the anti-tip bracket on the floor as shown in the figure below. The anti-tip bracket must be installed on the left side.
- Mark the locations of the 4 holes of the anti-tip bracket on the floor.
- Use an 11/50” masonry drill bit, and insert plastic anchors.
- Secure the anti-tip bracket to the floor, using screws.
- Slide the appliance into position, and make sure the leg engages the anti-tip bracket.
NOTE: If the appliance is relocated, the bracket must be removed and installed in the new location.

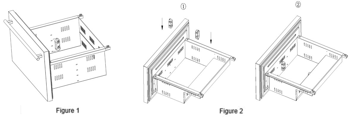
Drawer Divider Installation (for ADRD24)
In order to make better use of the drawer to store different drinks or fruits, the ADRD24 model is equipped with two sets of drawer dividers.
- Please find the divider accessories in the accessory plastic bag, the details of the accessories are as follows:
Divider permanent seat (Left) 2pcs Divider permanent seat (Right) 2pcs Movable divider
(2 rotators, 2 U-shaped tubes)2sets Upper drawer S.S. pipe 2pcs Lower drawer S.S. pipe 2pcs - Please follow the steps in the figure to install.
Step 1: To install 1pce right and 1pce left divider permanent seat on the two sides on the upper drawer (figure 1) and lower drawer (figure 2)
Step 2: To assemble the movable divider, the parts that need to be prepared are 2pcs upper drawer pipe, 2 U-shaped tubes, and 2 rotators, please following below figure 3.
Step 3: Complete assemble (Upper drawer)
Step 4: To assemble the divider on the lower drawer, please see figure 4
Step 5: Install S.S. tube to prevent bottles placed in the lower drawer from falling during the opening and closing of the door
Installing the Stainless Steel Handles
This appliance includes two stainless steel handles that are not required to operate the appliance. To install the handles, follow the instructions below:
- Remove the door gasket.
- Install the handle with the screws provided. DO not over-tighten as this will cause damage to the stainless steel door surface.
- Replace the door gasket.

Full Overlay Panel Installation Instructions (ADRD24)
This model is designed for a field-installed overlay panel, which can cover the stainless steel to give a built-in appearance. The overlay panel and appropriate hardware are not included with the appliance, and you must install the panel yourself.

Please follow the instructions below for installation:
- Remove any items stored inside the drawers, and take the drawers out.
- Peel off the gasket, and remove the handle by removing the two screws that attach the handle to the door.
- Drill the 8 holes shown by using a 9/50” drill bit on the 4 sides of the drawer door front. (Fig.2)

- Cut the overlay panels with 3/4” thickness to the following dimensions: 23.34” x 14.17”(WxH).
- If reusing the handles that came with the appliance, drill two holes with a diameter of 9/50” in the overlay panel.
- If user-supplied handles will be used, attach the handles to the overlay panels by using the flat head screws and drive the screws flush with the panels.
- Attach the handle and overlay panel together to the drawer face using 2 M4x45 screws and through the 2 existing holes on the door face. Then attach the overlay panel to the drawer face using 8 M4x45 screws and through 8 existing holes inside the door groove. (Fig. 3)

- Attach the overlay panel to the drawer face through the existing holes inside the door groove, using the 8 M4x45 screws.
- Peel back the gaskets, then align the left and right side channels with the tracks in the cabinet.
Ensuring an even track engagement on both sides, gently push the drawer into the cabinet until it stops.
Full Overlay Panel Installation Instructions (ADRD15)
This model is designed for a field-installed overlay panel, which can cover the stainless steel to give a built-in appearance. The overlay panel and appropriate hardware are not included with the appliance, and you must install the panel yourself.
Please follow the instructions below for installation:
- Remove any items stored inside the drawers, and take the drawers out.
- Peel off the gasket, and remove the handle by removing the two screws that attach the handle to the door.
- Drill the 8 holes shown by using a 9/50” drill bit on the 4 sides of the drawer door front. (Fig.2)

- Cut the overlay panels with 3/4” thickness to the following dimensions: 14.88” x 14.17”(HxW).
- If reusing the handles that came with the appliance, drill two holes with a diameter of 9/50” in the overlay panel.
- If user-supplied handles will be used, attach the handles to the overlay panels by using the flat head screws and drive the screws flush with the panels.
- Attach the handle and overlay panel together to the drawer face using 2 M4x45 screws and through the 2 existing holes on the door face. Then attach the overlay panel to the drawer face using 8 M4x45 screws and through 8 existing holes inside the door groove. (Fig. 3)

- Attach the overlay panel to the drawer face through the existing holes inside the door groove, using the 8 M4x45 screws.
- Peel back the gaskets, then align the left and right side channels with the tracks in the cabinet. Ensuring an even track engagement on both sides, gently push the drawer into the cabinet until it stops.
Stainless Steel Kick Plate Installation Instructions
This model is designed for a 32” or 34.25” height. There are two stainless steel kick plates included.
The 32” height is standard for this appliance. If the height is changed to 34.25”, another kick plate must be installed. To install a kick plate for 34.25” height, please follow the instructions below:
- Remove any items stored inside the drawers.
- Unplug the appliance.
- Lay a blanket or something soft down on the floor, and carefully lay the appliance down on its back side.
- Remove the kick plate for the 32” height by removing the two supporting feet and screws.

- Reusing the original screws, install the kick plate and supporting feet for 34.25” height,


- Stand the appliance upright, move into an appropriate position, and ensure the appliance is level.
OPERATING YOUR APPLIANCE
Install the appliance in a place where the ambient temperature is between 50ºF and 100ºF (10º to 38ºC), and ideally about 77ºF (25ºC). If the ambient temperature is above or below the recommended temperatures, the interior temperatures may fluctuate, and the expected operating temperature may not be reached.
Control Panel for ADRD24

NOTE: Pressing the ON/OFF key once can switch off the audible alarm when the alarm is on.
Setting the Temperature Control for ADRD24
- The temperature preset at the factory is 38°F or 3°C.
- The range of set temperatures is from 34°F to 43°F or 1°C to 6°C.
- Set the temperature by pressing the SETTING symbol and then pressing the UP and DOWN symbols. When you press the SETTING symbol for the first time, the LED readout will show the last set temperature.
- The temperature will increase by 1°C/1ºF each time you press the UP symbol and will decrease by 1°C/1 ºF each time you press the DOWN symbol.
- Press the SETTING symbol to view the set temperature at any time. The set temperature will flash in the display window for 5 seconds. After 5 seconds, the actual temperature inside the appliance will reappear in the display window.
Interior Light
- The interior light makes it easy to view your items. Pressing the LIGHT symbol toggles between 2 modes of operation for the internal lights: functional (default) mode and showcase mode.
- When using functional (default) mode, the lights will turn on, and the LCD screen will show
only when a drawer is open. - When using showcase mode, the LCD screen will show
and the lights will be on whether or not the drawer is open. To use showcase mode, press and hold the LIGHT symbol for 3 seconds to enter showcase mode. Press and hold for 3 seconds to exit this mode.
Sabbath Mode for ADRD24
- Sabbath mode is available for the observance of certain religious holidays. This mode turns off the displays, interior light, and audible alarms and prevents them from turning on again. Normal cooling operations will still take place.
- To initiate Sabbath mode, press the LIGHT and SETTING symbols at the same time and hold for at least 3 seconds. The LCD screen will flash
for 3 seconds and confirm the Sabbath mode is ON. - Sabbath mode can be canceled by repeating the above process. Sabbath Mode will automatically turn off after 96 hours. If the power goes off, when it is recovered, Sabbath Mode will turn off.
Control Panel for ADRD15

NOTE: Pressing the ON/OFF key once can switch off the audible alarm when the alarm is on.
Setting the Temperature Control for ADRD15
- The temperature preset at the factory is 38°F or 3°C.
- The range of set temperatures is from 34°F to 43°F or 1°C to 6°C.
- Set the temperature by pressing the UP and DOWN symbols.
- The temperature will increase by 1°C/1ºF each time you press the UP symbol and will decrease by 1°C/1 ºF each time you press the DOWN symbol. The set temperature will flash in the display window for 5 seconds. After 5 seconds, the actual temperature inside the appliance will reappear in the display window.
- Press both the UP and DOWN symbols together and hold for 3 seconds to change the temperature display from Celsius to Fahrenheit or from Fahrenheit to Celsius
Interior Light
- The interior light makes it easy to view your items. Pressing the LIGHT symbol toggles between 2 modes of operation for the internal lights: functional (default) mode and showcase mode.
- When using functional (default) mode, the lights will turn on, and the LCD screen will show
only when a drawer is open. - When using showcase mode, the LCD screen will show
and the lights will be on whether or not the drawer is open. To use showcase mode, press and hold the LIGHT symbol for 3 seconds to enter showcase mode. Press and hold for 3 seconds to exit this mode.
Sabbath Mode for ADRD15
- Sabbath mode is available for the observance of certain religious holidays. This mode turns off the displays, interior light, and audible alarms and prevents them from turning on again. Normal cooling operations will still take place.
- To initiate Sabbath mode, press the LIGHT and UP symbols at the same time and hold for at least 3 seconds. The LCD screen will flash
for 3 seconds and confirm the Sabbath mode is ON. - Sabbath mode can be canceled by repeating the above process. Sabbath Mode will automatically turn off after 96 hours. If the power goes off, when it is recovered, Sabbath Mode will turn off.
Temperature Memory Function
In the event of a power interruption (power surge, breaker switch, etc.), the appliance can remember the previous temperature settings, and when power is recovered, the cabinet temperature will return to the same set temperature as before the power went off.
Defrosting
Under normal operating conditions, the appliance does not require manual defrosting. The evaporator behind the rear wall of the appliance defrosts automatically. The condensate collects in the drainage channel behind the rear wall of the appliance and flows through the drainage hole into the drip tray by the compressor where it evaporates.
NOTE: Frost may accumulate on the evaporator if the appliance is repeatedly opened in high heat or high humidity locations.
Warning System
Door Opening Alarm
If a drawer has been left open for more than 5 minutes, the LCD screen will display
and beep 3 times every 5 seconds. Press any key, or close the door to stop the alarm.
Temperature Alarm
- Low-temperature alarm: When the interior temperature is lower than 28ºF/-2ºC for over 3 hours, the low-temperature alarm will beep and the left side of the LCD screen will display
. Press any key to stop the beeping alarm. - High-temperature alarm: When the interior temperature is higher than 77ºF/25ºC for over 6 hours, the high-temperature alarm will beep to alarm and the left side of the LCD screen will display

. Press any key to stop the beeping alarm.
CARE AND MAINTENANCE
Cleaning your Appliance
- Turn off the power, unplug the appliance, and remove all items, including baskets and dividers.
- Wash the inside surfaces with a solution of warm water and baking soda (a quart of water to about 2 tablespoons of baking soda).
- Wash the baskets and dividers with a mild detergent solution.
- Wring excess water out of the sponge or cloth when cleaning the area where the controls are located, or near any electrical parts.
- Wash the outside cabinet with warm water and mild liquid detergent. Rinse well, and wipe dry with a clean soft cloth.
- Use an approved stainless steel cleaner to clean the doors and handles. Do not use steel wool or a steel brush on the stainless steel.
CAUTION: Failure to unplug the appliance before cleaning could result in electrical shock or another personal injury.
Power Failure
Most power failures are corrected within a few hours and should not affect the temperature of your appliance if you minimize the number of times the drawers are opened. If the power is going to be off for a longer period of time, take the proper steps to protect the contents.
Vacations
- Short vacations: Leave the appliance operating during vacations of less than three weeks.
- Long vacations: If the appliance will not be used for several months, remove all items and turn off the appliance. Clean and dry the interior thoroughly. To prevent odor and mold growth, leave the drawers open slightly, blocking them open if necessary.
Moving your Appliance
- Remove all stored items.
- Securely tape down all loose parts (baskets, dividers) inside your appliance.
- Turn the adjustable legs up to the base to avoid damage.
- Tape the drawers shut.
- Be sure the appliance stays secure and in the upright position during transportation. Also, protect the outside of the appliance with a blanket or similar item.
Energy-Saving Tips
- The appliance should be located in the coolest area of the room or outdoor location, away from heat-producing appliances, and out of direct sunlight.
- Ensure that the appliance is adequately ventilated. Never cover air vents.
- Do not keep the drawers open longer than necessary.
- Let hot foods cool to room temperature before placing them in the appliance. Overloading the appliance forces the compressor to run longer.
- Be sure to wrap foods properly, and wipe containers dry before placing them in the appliance.
This reduces frost build-up inside the appliance. - Appliance bins and baskets should not be lined with aluminum foil, wax paper, or paper toweling.
Liners interfere with cold air circulation, making the appliance less efficient.
TROUBLESHOOTING
You can solve many common problems easily, possibly saving you the cost of a service call. Try the suggestions below to see if you can solve the problem before calling the servicer.
| PROBLEM | POSSIBLE CAUSE | REMEDY |
| The appliance does not operate. | The appliance is not connected to a power supply. The appliance is turned off. The tripped circuit breaker or blown fuse | Connect the appliance. Turn on the appliance. Turn the circuit breaker on or replace the fuse. |
| The appliance is not cold enough. | The temperature is not set correctly. The ambient temperature could require a lower temperature setting. The drawers are opened too often. A drawer was not closed completely. A drawer is not hermetically sealed. The condenser is too dirty. The ventilation opening is blocked or is too dusty. | Check the set temperature. Set a lower temperature. Do not open drawers more often than necessary. Close the drawer properly. Check the seal and clean or replace it. Clean the condenser, when necessary. Clear any obstructions, and wipe off the dust. |
| The appliance turns itself on and off frequently. | The ambient room temperature is higher than average. A large amount of food has been added to the appliance. The drawers are opened too often. A drawer is not closed completely. A drawer gasket does not seal properly. | Place the appliance in a location with a cooler ambient temperature. Leave the appliance to work until the set temperature has been reached. Do not open the drawers more often than necessary. Close drawer properly. Check the drawer seal and clean or replace it. |
| The light does not work. | The appliance is not connected to a power supply. The tripped circuit breaker or a blown fuse The light is switched off on the control panel. | Connect the appliance. Turn the circuit breaker on or replace the fuse. Switch on the light. |
| Vibrations | The appliance is not properly leveled. | Level the appliance using the adjustable feet. |
| The appliance seems to make too much noise. | The rattling noise may come from the flow of the refrigerant, which is normal. As each cycle ends, you may hear gurgling sounds caused by the flow of refrigerant in your appliance. If temperature fluctuations occur, the contraction and expansion of the inner walls may cause popping and crackling noises. | |
| The appliance is not properly leveled. | Level the appliance with adjustable feet. | |
| The drawers will not close properly. | The appliance is not properly leveled. The gaskets are dirty. The baskets or bins are out of position. | Level the appliance with adjustable feet. Clean the drawer gaskets. Check the baskets and bins and refit them correctly. |
If you’ve checked the table above and find that you still need help with your appliance, call our Customer Service facility at 800-932-4267 between 9:00 AM and 5:00 PM ET. We will do our best to answer your questions.
CALIFORNIA CARB/SNAP DISCLOSURE
This product uses eco-friendly hydrocarbon refrigerant and fully complies with California CARB regulations.
However, we are required by California law to provide the following disclosure statement in every product sold in California:
“This equipment is prohibited from use in California with any refrigerants on the ‘List of Prohibited Substances’ for that specific end-use, in accordance with the California Code of Regulations, title 17, section 95374. This disclosure statement has been reviewed and approved by Felix Storch, Inc., and Felix Storch, Inc. attests, under penalty of perjury, that these statements are true and accurate.”
This product does not use any refrigerants on the ‘List of Prohibited Substances”
LIMITED WARRANTY
ONE-YEAR LIMITED WARRANTY
Within the 48 contiguous United States, for one year from the date of purchase, when this appliance is operated and maintained according to instructions attached to or furnished with the product, the warrantor will pay for factory-specified parts and repair labor to correct defects in materials or workmanship. Service must be provided by a designated service company. Outside the 48 states, all parts are warranted for one year from manufacturing defects. Plastic parts, shelves, and cabinets are warranted to be manufactured to commercially acceptable standards and are not covered from damage during handling or breakage.
5-YEAR COMPRESSOR WARRANTY
- The compressor is covered for 5 years.
- The replacement does not include labor.
ITEMS WARRANTOR WILL NOT PAY FOR:
- Service calls to correct the installation of your appliance, to instruct you how to use your appliance, to replace or repair fuses, or to correct wiring or plumbing.
- Service calls to repair or replace appliance light bulbs or broken shelves. Consumable parts (such as filters) are excluded from warranty coverage.
- Damage resulting from accident, alteration, misuse, abuse, fire, flood, acts of God, improper installation, installation not in accordance with electrical or plumbing codes, or use of products not approved by the warrantor.
- Replacement parts or repair labor costs for appliances operated outside the United States.
- Repairs to parts or systems resulting from unauthorized modifications made to the appliance.
- The removal and reinstallation of your appliance if it is installed in an inaccessible location or is not installed in accordance with published installation instructions.
DISCLAIMER OF IMPLIED WARRANTIES – LIMITATION OF REMEDIES
THE CUSTOMER’S SOLE AND EXCLUSIVE REMEDY UNDER THIS LIMITED WARRANTY SHALL BE PRODUCT REPAIR AS PROVIDED HEREIN. IMPLIED WARRANTIES, INCLUDING WARRANTIES OF MERCHANTABILITY OR FITNESS FOR A PARTICULAR PURPOSE, ARE LIMITED TO ONE YEAR.
WARRANTOR SHALL NOT BE LIABLE FOR INCIDENTAL OR CONSEQUENTIAL DAMAGES. SOME STATES DO NOT ALLOW THE EXCLUSION OR LIMITATION OF INCIDENTAL OR CONSEQUENTIAL DAMAGES, OR LIMITATIONS ON THE DURATION OF IMPLIED WARRANTIES OF MERCHANTABILITY OR FITNESS, SO THESE EXCLUSIONS OR LIMITATIONS MAY NOT APPLY TO YOU. THIS WARRANTY GIVES YOU SPECIFIC LEGAL RIGHTS AND YOU MAY ALSO HAVE OTHER RIGHTS, WHICH VARY FROM STATE TO STATE.
WARNING: This product can expose you to chemicals including Nickel (Metallic) which is known to the State of California to cause cancer.
For more information go to www.P65Warnings.ca.gov
Note Nickel is a component in all stainless steel and some other metallic compositions.
Felix Storch, Inc.
An ISO 9001:2015 registered company
770 Garrison Ave
Bronx, New York 10474
www.accucold.com
For parts and accessory ordering, troubleshooting and helpful hints, visit:
www.accucold.com/support
Felix Storch, Inc.
An ISO 9001:2015 registered company
770 Garrison
Bronx, New York 10474
www.summitappliance.com
Step 2: To assemble the movable divider, the parts that need to be prepared are 2pcs upper drawer pipe, 2 U-shaped tubes, and 2 rotators, please following below figure 3.
Step 3: Complete assemble (Upper drawer)
Step 4: To assemble the divider on the lower drawer, please see figure 4
Step 5: Install S.S. tube to prevent bottles placed in the lower drawer from falling during the opening and closing of the door

























