DOUBLE DRAWERS
REFRIGERATOR/FREEZER – REFRIGERATOR/REFRIGERATOR
Modelos
JUCFP242HL11, JUCFP242HM11, JUCFP242HX11
JUDFP242HL11, JUDFP242HM11, JUDFP242HX11
DOUBLE DRAWERS
USE AND CARE GUIDE AND
INSTALLATION INSTRUCTION

For questions about features, operation/performance, parts, accessories, or services, call: 1-800-JENN-AIR (1-800-536-6247) or visit our website at www.jennair.com In Canada, call: 1-800-JENN-AIR (1-800-536-6247), or visit our website at www.jennair.ca
JUDFP242HX11 Double Drawer Refrigerator Freezer
THANK YOU for purchasing this high-quality product. Register your new double drawer at www.jennair.com In Canada, register your double drawer at www.jennair.ca
DOUBLE DRAWERS SAFETY
Your safety and the safety of others are very important.
We have provided many important safety messages in this manual and on your appliance. Always read and obey all safety messages.
This is the safety alert symbol.
This symbol alerts you to potential hazards that can kill or hurt you and others.
All safety messages will follow the safety alert symbol and either the word “DANGER” or “WARNING.” These words mean:
You can be killed or seriously injured if you don’t immediately follow instructions.
You can be killed or seriously injured if you don’t follow instructions.
All safety messages will tell you what the potential hazard is, tell you how to reduce the chance of injury, and tell you what can happen if the instructions are not followed.
IMPORTANT SAFETY INSTRUCTIONS
WARNING: To reduce the risk of fire, electric shock, or injury when using your double drawer, follow these basic precautions:
- Plug into a grounded 3-prong outlet.
- Do not remove the ground prong.
- Do not use an adapter.
- Do not use an extension cord.
- Disconnect power before servicing.
- Replace all parts and panels before operating.
- Remove doors or drawer(s) from your old double drawer.
- Use nonflammable cleaner.
- Do not store or use petrol, flammable liquids, or gas in the vicinity of this or other electrical appliances. The fumes can cause fires or explosions.
- Do not store explosive substances such as aerosol cans with a flammable propellant in this double drawer.
- Do not use or place electrical devices inside the double drawer compartments if they are not of the type expressly authorized by the manufacturer.
- Use two or more people to move and install a double drawer.
- This appliance is not intended for use by persons (including children) with reduced physical, sensory or mental capabilities, or lack of experience and knowledge unless they have been given supervision or instruction concerning the use of the appliance by a person responsible for their safety.
- Children should be supervised to ensure that they do not play with the appliance.
- To avoid the risk of children becoming trapped and suffocating, do not allow them to play or hide inside the double drawer.
- If the power supply cord is damaged, it must be replaced by the manufacturer or its service agent or a similarly qualified person.
- Keep ventilation openings, in the appliance enclosure or in the built-in structure, clear of obstruction.
- Do not use mechanical devices or other means to accelerate the defrosting process, other than those recommended by the manufacturer.
- Do not damage the refrigerant circuit.
- For the models with ice/water: Connect to potable water supply only.
SAVE THESE INSTRUCTIONS
PROPER DISPOSAL OF YOUR OLD DOUBLE DRAWER
WARNING: Risk of child entrapment. Before you throw away your old Double Drawer:
- Take off the door or drawer(s).
- Leave the shelves in place so that children may not easily climb inside.
Suffocation Hazard
Remove doors or drawers or lid from your old appliance. Failure to do so can result in death or brain damage.
IMPORTANT: Child entrapment and suffocation are not problems of the past. Junked or abandoned double
drawers are still dangerous – even if they will sit for “just a few days.” If you are getting rid of your old double drawers, please follow these instructions to help prevent accidents.

Important information to know about the disposal of refrigerants:
Dispose of the refrigerator in accordance with Federal and Local Regulations. Refrigerants must be evacuated by a licensed, EPA-certified refrigerant technician in accordance with established procedures.
DESIGN CONFIGURATION
DOUBLE REFRIGERATOR DRAWERS:
Two refrigerator drawers provide additional storage options in the kitchen or other areas of the home.

REFRIGERATOR/FREEZER DRAWERS (WITH ICE MAKER AND WATER FILTER)
The upper refrigerator drawer and lower freezer drawer provide additional storage options in the kitchen or other areas of the home. Factory-installed ice maker in lower drawer ensures a constant supply of ice on hand at all times.

INSTALLATION REQUIREMENTS
TOOLS AND PARTS
Gather the required tools and parts before starting installation.
Read and follow the instructions provided with any tools listed here.
TOOLS AND PARTS NEEDED:
- Phillips screwdriver.
- Cordless drill
- 1/8” Drill bit
- Tape measure
- Level
ADDITIONAL TOOLS NEEDED (CUSTOM OVERLAY PANEL ONLY):
- Scissors
- Pencil
- Scribe
PARTS NEEDED (CUSTOM OVERLAY PANEL ONLY):
- Custom Overlay Drawer Panels — See “Custom Overlay Drawer Panels.”
- Hardware
PARTS NEEDED (CUSTOM OVERLAY PANEL ONLY):
- Hooks (8)
- Screws (16)
- Self-tap wood screws (4)
LOCATION REQUIREMENTS
Explosion Hazard
Keep flammable materials and vapors, such as gasoline, away from refrigerator drawers. Failure to do so can result in death, explosion, or fire.
IMPORTANT:
This appliance is intended to be used in household and similar applications such as:
- Staff kitchen areas in shops, offi ce, and other working environments;
- Farm houses and by clients in hotels, motels, and other residential type environments;
- Bed and breakfast type environments;
- Catering and similar non-retail applications.
NOTES:
- For the double drawer to be fl use with the front of the base cabinets, remove any baseboards or moldings from the rear of the opening. See “Product Dimensions” and later in this section, “Opening Dimensions.”
- It is recommended that you do not install the double drawer near an oven, radiator, or another heat source.
- Do not install in a location where the temperature will fall below 55 °F (13 °C). For best performance, do not install the refrigerator drawers behind a cabinet door or block the base grille.
OPENING DIMENSIONS:
- Height dimensions are shown with the leveling legs extended to the minimum height of 1/4” (6 mm) below the refrigerator drawers.
NOTE:
When leveling legs are fully extended to 1” (25 mm) below the refrigerator drawers, add 3/4” (19 mm) to the height dimensions. See “Product Dimensions.”
- If the fl more of the opening is not level with the kitchen fl for, shim the opening to make it level with the kitchen fl or.

| Opening and utility location dimensions | |
| Opening width – A | 24” (60.96 cm) min. |
| Opening depth – B | 24” (60.96 cm) min. |
| Opening height – C | 341/2” (87.6 cm) min. 35” (88.9 cm) max. |
| Dimension – D | 121/16” (30.64 cm) |
| Dimension – E | 213/4” (55.24 cm) |
| Dimension – F | 13/4” (4.44 cm) |
| Dimension – G | 3” (7.62 cm) |
| Dimension – H | 41/2” (11.43 cm) |
| Dimension – I | 91/4” (23.49 cm) |
For flush installation, the power outlet can be installed in adjacent cabinetry with a cutout on the power cord side for routing of the power cord.
The power outlet can also be recessed on the back wall behind the unit as per recommended receptacle locations in the above illustration.
PRODUCT DIMENSION
DRAWER HEIGHT DIMENSIONS:
- Height dimensions are shown with the leveling legs extended to 1/4” (0.63 cm) below the refrigerator drawers.
- When leveling legs are fully extended to 1” (2.54 cm) below the refrigerator drawers, add 3/4” (1.9 cm) to the height dimensions.
- The power cord is 60” (152.4 cm) long.
STYLE 1- STAINLESS STEEL (FRONT VIEW)

STYLE 2 – OVERLAY (FRONT VIEW)

- Add 3/4” (1.9 cm) to the height dimension when leveling legs are fully extended.
- For custom panel models, this will vary.
DRAWER DEPTH DIMENSIONS:
STYLE 1 – STAINLESS STEEL (SIDE VIEW)

STYLE 2 – OVERLAY (SIDE VIEW)

DRAWER WIDTH DIMENSIONS
STYLE 1- STAINLESS STEEL (TOP VIEW)

STYLE 2- OVERLAY (TOP VIEW)

- Add 3/4” (1.9 cm) to the height dimension when leveling legs are fully extended.
- For custom panel models, this will vary.
CUSTOM OVERLAY DRAWER PANELS
If you plan to install custom wood panels, you will need to create the panels yourself or consult a quality ed cabinetmaker or carpenter. See dimension drawings for panel specifi cations.
IMPORTANT:
- The thickness of the overlay panels must be 3/4” (1.9 cm).
- To avoid damage to the drawers, each overlay panel must not weigh more than 10 lb (4.54 kg).
- Do not exceed the height dimension for the overlay panels. Panels that exceed the height dimension may damage the refrigerator drawers, cabinets or countertop.
- The width of the overlay panels may vary according to the width of the cabinet opening.
For the installation of the customer panel, you will need the following parts:
- 8 Wood screws
- 8 Brackets

A- M4 x 32
B- Left and right brackets
TOP AND BOTTOM OVERLAY DRAWER PANEL
DIMENSIONS:
UPPER DOOR

LOWER DOOR

ELECTRICAL REQUIREMENTS
Electrical Shock Hazard
Plug into a grounded 3-prong outlet.
Do not remove the ground prong.
Do not use an adapter.
Do not use an extension cord.
Failure to follow these instructions can result in death, fire, or electrical shock.
Before you move your double drawer into its fi nal location, it is important to make sure you have the proper electrical connection.
RECOMMENDED GROUNDING METHOD:
A 115 V, 60 Hz, AC only, 15 A or 20 A fused, grounded electrical supply is required. It is recommended that a separate circuit serving only your double drawer be provided.
Use an outlet that cannot be turned off by a switch. Do not use an extension cord.
NOTE: Before performing any type of installation, cleaning, or removing a light bulb, unplug the double drawer or disconnect power.
INSTALLATION INSTRUCTIONS
UNPACK THE REFRIGERATOR DRAWERS
Excessive Weight Hazard
Use two or more people to move and install or uninstall the appliance.
Failure to do so can result in back or another injury.
REMOVE THE PACKAGING:
Before using your double drawer, all packaging materials should be removed and the interior should be cleaned.
- Remove tape and glue residue from surfaces before turning on the double drawer. With your fi fingers, rub a small amount of liquid dish soap over any adhesive and wipe with warm water to remove.
- Do not use sharp instruments, rubbing alcohol, fl amiable fl uids, or abrasive cleaners to remove tape or glue. These can damage the surfaces of your double drawer. For more information, refer to the “Double Drawer Safety” section.
- Dispose of and/or recycle all packaging materials.
- After all packaging materials have been removed, clean the inside of your double drawer from the cleaning instructions in the “Cleaning” section.
When Moving Your Refrigerator Drawers:
Your refrigerator drawers are heavy. When moving the appliance for service, be sure to cover the floor with cardboard or hardboard to avoid floor damage. Always pull the appliance straight out when moving it. Do not wiggle or “walk” the appliance when trying to move it, as floor damage could occur.
CLEAN BEFORE USING:
After you remove all of the package materials, clean the inside of your refrigerator drawers before using them. See “Cleaning.”
WATER SUPPLY REQUIREMENTS (REFRIGERATOR/FREEZER DRAWERS ONLY)
Gather the required tools and parts before starting installation. Read and follow the instructions provided with any tools listed here.
IMPORTANT:
- Connect to the potable water supply.
Do not use water that is microbiologically unsafe or of unknown quality without adequate disinfection before or after the system. Systems certified for cyst reduction may be used on disinfected waters that may contain filterable cysts.
- If you turn ON the refrigerator before the water line is connected, turn OFF the ice maker.
- All installations must meet local plumbing code requirements.
- Use copper tubing and check for leaks. Install copper tubing only in areas where the household temperatures will remain above freezing.
TOOLS NEEDED:
Flat-blade screwdriver, 7/16” and 1/2” open-end wrenches or two adjustable wrenches, 1/4” nut driver and drill bit, cordless drill.
NOTE: Your refrigerator dealer has a kit available with a 1/4” (6.35 mm) saddle-type shutoff valve, a union, and copper tubing. Before purchasing, make sure a saddle-type valve complies with your local plumbing codes. Do not use a piercing-type or 3/16” (4.76 mm) saddle valve which reduces water flow and clogs more easily.
WATER PRESSURE:
A cold water supply with water pressure of between 30
and 120 psi (207 and 827 kPa) is required to operate ice
maker. If you have questions about your water pressure,
call a licensed, qualifi ed plumber.
REVERSE OSMOSIS WATER SUPPLY:
IMPORTANT: The pressure of the water supply coming out of a reverse osmosis system going to the water inlet valve of the refrigerator needs to be between 30 and 120 psi (207 and 827 kPa).
If a reverse osmosis water filtration system is connected to your cold water supply, the water pressure to the reverse osmosis system needs to be a minimum of 40 to 60 psi (276 to 414 kPa).
If the water pressure in the reverse osmosis system is less than 40 to 60 psi (276 to 414 kPa):
- Check to see whether the sediment filter in the reverse osmosis system is blocked. Replace the filter if necessary.
- Allow the storage tank on the reverse osmosis system to refill after heavy usage.
If you have questions about your water pressure, call a licensed, qualified plumber.
CONNECT WATER SUPPLY (REFRIGERATOR/FREEZER DRAWERS ONLY) CONNECT TO WATER LINE:
Do not use water that is microbiologically unsafe or of unknown quality without adequate disinfection before or after the system. Systems certified for cyst reduction may be used on disinfected waters that may contain filterable cysts.
- Unplug the refrigerator or disconnect the power.
- Turn OFF the main water supply. Turn ON the nearest faucet long enough to clear the line of water.
- Locate an 11 /2” to 11 /4” (3.81 cm to 3.18 cm) vertical cold water pipe near the refrigerator.
IMPORTANT:
• Connect to potable water supply only.
• Make sure it is a cold water pipe.
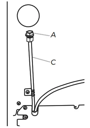
• The horizontal pipe will work but drill on the top side of the pipe, not the bottom. This will help keep water away from the drill and normal sediment from collecting in the valve. - Determine the length of copper tubing you need. Measure from the connection on the lower left rear of the refrigerator to the water pipe. Add 7 ft (2.1 m) to allow for cleaning. Use 1/4” (0.63 cm) O.D. (outside diameter) copper tubing. Be sure both ends of copper tubing are cut square.
- Using a cordless drill, drill a 1/4” hole in the cold water pipe you have selected.
A- Cold water pipe
B- Pipe clamp
C- Copper tubing
D- Compression nut
E- Compression sleeve
F- Shutoff valve
G- Packing nut - Fasten the shutoff valve to the cold water pipe with the pipe clamp. Be sure the outlet end is solidly in the 1/4” drilled hole in the water pipe and that the washer is under the pipe clamp. Tighten the packing nut. Tighten the pipe clamp screws slowly and evenly so the washer makes a watertight seal. Do not overtighten or you may crush the copper tubing.
- Slip the compression sleeve and compression nut on the copper tubing as shown. Insert the end of the tubing into the outlet end squarely as far as it will go. Screw compression nut onto outlet end with an adjustable wrench. Do not over-tighten.
- Place the free end of the tubing in a container or sink, and turn ON the main water supply. Flush the tubing until the water is clear. Turn OFF the shutoff valve on the water pipe. Coil the copper tubing.
CONNECT TO REFRIGERATOR:
- Attach the copper tubing to the valve inlet using a compression nut and sleeve as shown. Tighten the compression nut. Do not over-tighten. Use the tube clamp on the back f the refrigerator to secure the tubing to the refrigerator, as shown. This will help avoid damage to the tubing when the refrigerator is pushed back against the wall.
- Turn ON the shutoff valve.
- Check for leaks. Tighten any connections (including connections at the valve) or nuts that leak.
A- Plug with compression nut
C- Pex tubing - The ice maker is equipped with a built-in water strainer. If your water conditions require a second water strainer, install it in the 1/4” (0.63 cm) water line at either tube connection. Obtain a water strainer from your nearest appliance dealer.
- Plug in refrigerator drawers or reconnect power.
MOVE THE REFRIGERATOR DRAWERS
TO FINAL LOCATION
- Place the top of the cardboard carton or plywood under the appliance. Remove dolly.
- Do not remove the film or cover.
Electrical Shock Hazard
Plug into a grounded 3-prong outlet.
Do not remove the ground prong.
Do not use an adapter.
Do not use an extension cord.
Failure to follow these instructions can result in death, fire, or electrical shock. - Move the refrigerator drawers straight back and evenly in front of the opening.
INSTALL CUSTOM OVERLAY PANEL, IMPORTANT:
- For standard stainless steel models, skip these instructions and go to the “Level The Refrigerator Drawers” section.
- Create a custom overlay panel according to the specifi cations in “Custom Overlay Drawer Panels.”
- JennAir is not responsible for the removal or addition of molding or decorative panels that would not allow access to the refrigerator for service.
ATTACH THE OVERLAY PANEL:
NOTE: If the overlay hooks are not installed, see “Custom Overlay Drawer Panels” for overlay hook locations. The location of the hooks must be as precise as possible. If the custom panel is incorrectly placed, the panel may interfere with the optimal use of the drawers.
- Attach the custom handle of your preference on the overlay before attaching the overlay to the drawer of the refrigerator.
NOTE: Custom handles may vary in dimensions. Holes must be made on the panel according to the specific dimensions of your handle. - Attach the hooks to their corresponding recessions on the panel, using the SS Flat M4x12 screws. Two screws are needed per hook. The hooks must be on the outer edge of the panel.
A- 4 wood screws - Gently pull back the gasket from the top corners of the door until you can see the screw that is behind the gasket. There is one screw on each side. It is not necessary to remove the gasket.
- Remove the screws behind the gasket (one per side).
- Align the panel to the drawer and position the overlay panel 1/2” (12.5 mm) higher than the door. Position the overlay hooks with the pilot holes and push the hooks into the holes. The drawer has insulant foam in its interior so you may feel some interference while pushing. Push until the hooks go through the foam.
- Push straight down on the overlay panel to secure the overlay hooks to the drawer.
- Using the self-tap wood screws (two per drawer; one in each corner of the drawers), attach the panel to the drawer.
NOTE: Do not put the screws removed in step 4 back on the door. - Once the overlay is securely attached to the drawer with the two screws, put the gasket back in its place by pressing it against the door until the gasket is even and firmly secured.
LEVEL THE REFRIGERATOR DRAWERS IMPORTANT:
- Overlay Model-Be sure to install the custom overlay drawer panels before leveling the refrigerator drawers. See “Install Custom Overlay Drawer Panels.”
- Before installing the refrigerator drawers, be sure that the countertop is level.
- If the countertop is not level, adjust the refrigerator drawers’ leveling legs until the appliance is square with the countertop. Be sure to maintain 3/8” (0.95 cm) minimum gap between the top of the drawer and the countertop.
- Open the top drawer and place the level across the top drawer, as shown. Check the level from left to right.
A- Check the level from left to right. - Turn the leveling legs (front and back) until the top drawer measures level from left to right.

- Remove the level and close the top drawer. Check the gap between the top of the drawer and the countertop. If the gap measures less than 3/8” (0.95 cm) minimum, rn ll four leveling bolts equally to the left to raise the leveling legs (this will lower the appliance). Recheck the level.
- Open both drawers less than midway. Place the level on the side flange beside the drawers as shown. Turn the front leveling bolts together in order to either raise or lower the appliance until the sides of the refrigerator drawers are plumb.
A- Check the level from front to back. - Remove the level and close the drawers. Recheck the gap between the top of the drawer and the countertop. If the gap measures less than 3/8” (0.95 cm), turn all four leveling bolts equally to raise the leveling legs (this will lower the appliance). Recheck the level.
NOTE: Be sure to recheck the horizontal level of the top drawer. - Be sure all four levelers are on the floor and supporting the full weight of the refrigerator drawers.
COMPLETE INSTALLATION
- Remove all boxes, parts packages, and packing materials from the interior of the refrigerator drawers.
- Remove the film.
- Clean the refrigerator drawers before use.
- The controls are preset at the factory to the recommended settings. Be sure that the compressor is operating properly and that all the lights are working.
- If construction will continue after the refrigerator drawers have been installed, turn OFF the power for both drawers.
To get the most efficient use of your new refrigerator drawers, read the “Refrigerator Drawers Use” section.
REFRIGERATOR DRAWERS USE
USING THE CONTROLS
The control panels for both double-drawer models are located in the upper drawer. To view and set the Upper and Lower control panels, pull out the upper drawer.

IMPORTANT:
- Wait 24 hours after you turn on the refrigerator drawers before you put food into the drawers. If you add food before the drawers have cooled completely, your food may spoil.
NOTE: Adjusting the controls to a lower (colder) setting in one or both drawers will not cool them any faster. - If the temperature is too warm or too cold in the drawers, fi rst check the air vents to be sure they are not blocked before adjusting the controls.
- The preset settings should be correct for normal household usage. The refrigerator control is set correctly when milk or juice is as cold as you like.
- The freezer control is set correctly when ice cream is fi rm.
- The actual temperature may differ from the display when a drawer is open for an extended period of time.

- Turning drawers On/Off:
The fi first time that the refrigerator is plugged in, the control will be in Cool Off mode. Cool On and Cool Off will be the only options that display.
Press COOL ON to turn on the drawers. All menus and recommended temperature settings will be displayed.
The left temperature and preset touch pads control the temperature of the upper compartment.
The right temperature and preset touch pads control the temperature of the lower compartment. - Max Cool:
The Max Cool feature assists with periods of heavy usage, full grocery loads or temporarily warm room temperatures.
Max Cool will reset the temperature for the refrigerator drawer to 32 °F (0 °C) and -3 °F (-19.4 °C) for the freezer drawer for a 24-hour period.
Press MAX COOL to activate the Max Cool feature.
NOTE: The temperature display will remain at -3 °F (-19.4 °C) and the indicator light will remain On for a 24-hour period unless any of the following happens:
• The user adjusts any of the compartment temperatures.
• Cool Off Mode is entered (activated by the user).
• Sabbath Mode is entered (activated by the user).
• After 24 hours, the temperature will automatically return to the previous temperature set point and the indicator light will turn Off.
NOTE: If the previous temperature set point was set to Soft Serve in the freezer drawer, the temperature will return to the recommended temperature of 0 °F (-17.7 °C) instead when Max Cool is complete. - Ice Maker and Water Filtration System (Refrigerator/Freezer Drawers only)
IMPORTANT:
After connecting the refrigerator to a water source or replacing the water fi later, fi ll and discard three full containers of ice to prepare the water fi later for use before using ice.
TURNING THE ICE MAKER ON/OFF:
IMPORTANT: Use the Icemaker touchpad on the control panel to turn on or off the ice maker. Do not adjust the wire arm located on the ice maker.
• Press the ICEMAKER touchpad to turn on the ice maker. The indicator light will illuminate when On.
• Press the ICEMAKER touchpad to turn off the ice maker.
REMEMBER:
• Allow 24 hours to produce the first batch of ice.
• The quality of your ice will only be as good as the quality of the water supplied to your ice maker.
• Avoid connecting the ice maker to a softened water supply. Water softener chemicals (such as salt) can damage parts of the ice maker and lead to poor quality ice. If a softened water supply cannot be avoided, make sure the water softener is operating properly and is well maintained.
• Do not store anything in the ice storage bin.
• When the refrigerator is turned ON for the first time, ice maker is turned OFF. (The ice maker indicator light will dim).
• After confirming that water can be automatically supplied to the ice maker (connecting the refrigerator to the water source or replacing the water filter, press the ICEMAKER touchpad to turn on the ice maker. (The indicator light will illuminate). When the water cannot be supplied automatically (not connecting to the water source, etc.) and the ice box is not filled with ice, if the ice maker is turned ON, the ice maker will continue to operate and the internal heater of the ice maker will operate frequently. This will heat up the refrigerator, increasing the compressor running rate and power consumption. If you do not need the ice making (including not automatically supplying water), you should turn OFF the ice maker. (The indicator light will dim). - Using Presets:
For your convenience, each drawer also has controls that are preset to recommended storage temperatures for specific products.
Pressing any preset option will set the temperature value to the recommended temperature for each category:
Refrigerator drawers:
• Produce: 39 °F (3.8 °C)
• Assorted: 37 °F (2.7 °C)
• Beverage: 34 °F (1 °C)
• Meat: 32 °F (0 °C)
Freezer drawer:
• Soft Serve: 6 °F (-14.4 °C)
NOTE: Soft Serve is a temporary temperature setting that will only last for 4 hours and returns to the previous temperature set point when complete.
• Assorted: 0 °F (-17.7 °C)
• Spirits: -2 °F (-18.8 °C)
• Deep Freeze: -8 °F (-22 °C) - Adjusting the Temperatures:
When the refrigerator drawers are turned On for the fi rst time, a recommended temperature is set by default. The controls adjust the temperature of both compartments independently.
To adjust set point temperatures, press “+” (plus) or “-” (minus) until the desired temperature setting is reached.
Model JUDFP242*
NOTE: The set point for the double refrigerator drawers model is 37 °F (2 °C). The set point range for this model is 32 °F to 42 °F (0 °C to 5 °C) for both compartments.
Model JUCFP242*
NOTES:
• The set point for the refrigerator/freezer drawers model is 37 °F (2 °C) for the refrigerator drawer and 0 °F (-17 °C) for the freezer drawer. The set point range for the refrigerator/freezer drawers model is 32 °F to 42 °F (0 °C to 5 °C) for the refrigerator drawer and -8 °F to 6 °F (-22 °C to -14 °C) for the freezer drawer.
• Wait at least 24 hours between adjustments for the product to acclimate. - Viewing Celsius temperatures:
• Press the F/C touchpad to toggle between displaying the temperature in degrees Fahrenheit and degrees Celsius. The corresponding indicator will illuminate.
A. F/C touchpad - Sabbath Mode:
Sabbath Mode is designed for the traveler or for those whose religious observances require turning off the lights. By selecting this feature, the temperature set points remain unchanged but the control panel lights, interior lights, and control audio turn off. For most effi client refrigerator drawers operation, it is recommended to exit the Sabbath Mode when it is no longer required.
• Press and hold SABBATH for 3 seconds to turn on the feature. After the 3-second countdown, the feature will activate and all other displays will turn Off.
• Press and hold SABBATH for 3 seconds to turn off the feature and turn on the display. - Over-Temp Alarm:
NOTE: If the Over Temp Alarm activates, your food may spoil. See “Power Interruptions”. Minimize opening of drawers until temperatures return to normal.
The Over Temperature feature is designed to let you know when either the refrigerator drawer temperature rises above 45 °F (7 °C) or the freezer drawer temperature rises above 6 °F (-14.4 °C) for 4 hours or longer. The audio alarm will shut off automatically when the temperature returns to normal. To let you know an Over Temperature condition occurred, the indicator light will continue to flash until the Reset Alarm touchpad is pressed. If the over-temperature condition is still present when an Over Temp reset is performed, the indicator light will continue to reactivate every 4 hours until refrigerator and freezer temperatures are below 45 °F (7 °C) and 15 °F (-9 °C), respectively.
NOTE: These features will not appear on your control unless your refrigerator is over temperature and the alarm requires a reset. - Water Filter Indicator/Reset Filter:
The water filter indicator light will help you know when to change your water filter. The indicator light will change from dark to yellow when it is time to order a new filter.
The indicator light will then change from yellow to red when it is time to replace the water filter.
The disposable water filter should be replaced at least every 6 months. After replacing the water filter, reset the water filter indicator.
Press and hold the RESET FILTER for 3 seconds. The indicator light will turn Off.
NOTE: These features will not appear on your control unless you need to order or replace your filter. Water Filtration System:
Do not use with water that is microbiologically unsafe or of unknown quality without adequate disinfection before or after the system.
Drawer open:
If any drawer is open longer than 5 minutes, an alarm will sound every 2 minutes until all drawers are closed or any control is pressed.
Showroom Mode:
This mode is used only when the refrigerator is on display in a retail store. If you unintentionally turn on Showroom Mode, Cool Off will light up on the display, and the controls will appear to work. Exit Showroom Mode by pressing and holding COOL ON and SABBATH at the same time for 3 seconds.
NORMAL SOUNDS
Your new refrigerator drawers may make sounds that your old refrigerator drawers didn’t. Because the sounds are new to you, you might be concerned about them. Most of the new sounds are normal. Hard surfaces, such as the fl door, walls, and cabinets, can make the sounds seem louder. The following describes the kinds of sounds and what may be making them.
- Your refrigerator drawers are designed to run more effi ciently to keep your food items at the desired temperatures and to minimize energy usage. The high effi Quincy compressor and fans may cause your refrigerator drawers to run longer than your old ones. You may also hear a pulsating or high-pitched sound from the compressor or fans adjusting to optimize performance.
- You may hear the evaporator fan motor circulating air through the refrigerator drawers. The fan speed may increase as you open the drawers or add warm food.
- As each cycle ends, you may hear a gurgling sound due to the refrigerant fl owing through the sealed system tubing.
- Contraction and expansion of the inside walls may cause a popping noise.
- You may hear air being forced over the condenser by the condenser fan.
- You may hear water running into the drain pan during the Off-cycle.
CARE AND CLEANING
CLEANING
Explosion Hazard
Risk of fire or explosion.
The flammable refrigerant was used.
Do not use mechanical devices to defrost the refrigerator. Do not puncture refrigerant tubing.
The drawers defrost automatically. However, clean both drawers about once a month to avoid the buildup of odors. Wipe up spills immediately.
TO CLEAN YOUR DOUBLE DRAWER:
- Unplug the double drawer or disconnect the power.
- Hand wash, rinse, and dry removable parts and interior surfaces thoroughly. Use a clean sponge or soft cloth and mild detergent in warm water.
• To avoid damaging wooden tines and trim pieces, wipe them off with a clean sponge or soft cloth and warm water.
• Do not use abrasive or harsh cleaners such as window sprays, scouring cleansers, fl amiable fl aids, cleaning waxes, concentrated detergents, bleaches or cleansers containing petroleum products on plastic parts, interior and door liners or gaskets. Do not use paper towels, scouring pads, or other harsh cleaning tools. These can scratch or damage materials.
• To help remove odors, you can wash interior walls with a mixture of warm water and baking soda [2 tbs to 1 qt (26 g to 0.95 L) of water]. - Wash stainless steel and painted metal exteriors with a clean sponge or soft cloth and mild detergent in warm water. Do not use abrasive or harsh cleaners, or cleaners containing chlorine. These can scratch or damage materials. Dry immediately with a soft, dry cloth to absorb any remaining water.
NOTE: To keep your stainless steel drawers looking like new and to remove minor scuffs or marks, it is recommended that you use the manufacturer’s approved Stainless Steel Cleaner and Polish. To order the cleaner, refer “Accessories” section.
IMPORTANT:
- This cleaner is for stainless steel parts only!
- Do not allow the Stainless Steel Cleaner and Polish to come into contact with any plastic parts such as the trim pieces, dispenser covers or door gaskets. If unintentional contact does occur, clean the plastic part with a sponge and mild detergent in warm water. Dry immediately with a soft, dry cloth to absorb any remaining water.
CONDENSER CLEANING:
Explosion Hazard
Risk of fire or explosion due to puncture of refrigerant tubing.
Follow handling instructions carefully.
The flammable refrigerant was used.
- Remove the base grille to access the condenser for cleaning. Refer “Removing Base Grille” section.
- Clean the condenser coils regularly. They are located behind the base grille. Coils may need to be cleaned as often as every other month. This may help save energy.
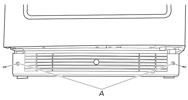
REMOVING BASE GRILLE
You must remove the base grille to access the condenser coils for cleaning.
TO REMOVE THE BASE GRILLE:
- Open the double-drawer door.
A. Screws - Using a Phillips screwdriver, remove the two screws.
- Remove the base grille.
TO REPLACE THE BASE GRILLE:
- Open the double-drawer door.
- Position the base grille so that both tabs align and the base grille snaps into place. Replace two screws. Tighten the screws.
CHANGING THE WATER FILTER:
The water filter is located through the base grille. You do not have to remove the base grille in order to change the water filter.
- Locate the water filter cap in the front base grille. Rotate the cap counterclockwise to a vertical position and pull the cap and water filter out through the base grille.
NOTE: There will be water in the filter. Some spilling may occur. - Remove the filter cap by sliding it off the end of the old filter. The cap will slide to the left or right.
IMPORTANT: Do not discard the cap. It is part of your refrigerator. Keep the cap to use with the replacement fi later.
- Take the new water filter out of its packaging and remove the cover from the O-rings.

- Slide the filter cap onto the new water filter. See the illustration in Step 2.
With the filter cap in the vertical position, insert the new filter into the base grille until it stops. Rotate the cartridge cap clockwise to a horizontal position.
USING THE ICE MAKER WITHOUT THE WATER FILTER:
You can run the ice maker without a water filter. Your water will not be filtered.
Slide the filter cap off the end of the water filter. With the filter cap in the horizontal position, insert the cap into the base grille until it stops.
IMPORTANT:
Do not discard the cap. It is part of your refrigerator. Keep the cap to use with a replacement fi later.
POWER INTERRUPTIONS
If the power will be out for 24 hours or less, keep both refrigerator drawers closed to help food stay cold. If the power will be out for more than 24 hours, do one of the following:
- Place all perishable food in a food locker or cooler with dry ice.
- If neither a food locker nor cooler is available, consume food if still cold or throw away perishable food at once.
VACATION CARE
If you choose to turn the refrigerator drawers off before you leave, follow these steps:
- Remove all from the double drawer.
- Unplug the double drawer.
- Clean the double drawer. Refer “Cleaning” section.
- Tape a rubber or wood block to the top of the door to prop it open far enough for air to get in. This stops odor and mold from the building.
MOVING CARE
When you are moving your double drawer to a new home, follow these steps to prepare it for the move.
- Remove all from the double drawer.
- Unplug the double drawer.
- Clean, wipe and dry it thoroughly.
- Take out all removable parts, wrap them well, and tape them together so they don’t shift and rattle during the move.
- Tape the doors shut and tape the power cord to the double drawer. When you get to your new home, put everything back and refer to the “Installation Instructions” received with the double drawer.
TROUBLESHOOTING
Try the solutions suggested here first in order to avoid the cost of an unnecessary service call.
Electrical Shock Hazard
Plug into a grounded 3-prong outlet.
Do not remove the ground prong.
Do not use an adapter.
Do not use an extension cord.
Failure to follow these instructions can result in death, fire, or electrical shock.
Explosion Hazard
Risk of fire or explosion.
The flammable refrigerant was used.
Do not use mechanical devices to defrost the Refrigerator.
Do not puncture refrigerant tubing.
Explosion Hazard
Risk of fire or explosion due to puncture of refrigerant tubing.
Follow handling instructions carefully.
The flammable refrigerant was used.
Explosion Hazard
Use nonflammable cleaner.
Failure to do so can result in death, explosion, or fire.
GENERAL OPERATION
THE DOUBLE DRAWER WILL NOT OPERATE
- Power supply cord unplugged? Plug into a grounded 3-prong outlet.
- Is the outlet working? Plug in a lamp to see if the outlet is working.
- Household fuse is blown, or the circuit breaker tripped? Replace the fuse or reset the circuit. If the problem continues, call an electrician.
- Are controls on? Be sure that the refrigerator drawer controls are on. Refer “Controls” section.
- Is the refrigerator control set to the Cool Offset? See “Using the Controls.”
- Are the refrigerator drawers not cooling? Turn them off and then on again to reset. See “Using the Controls.” If this does not correct the problem, call for service.
THE MOTOR SEEMS TO RUN TOO MUCH
- Is the temperature outside hotter than normal? Expect the motor will run longer under warm conditions. At normal temperatures, expect your motor to run about 40 % to 80 % of the time. Under warmer conditions, expect it to run even more of the time.
- Has a large amount of food just been added to the refrigerator drawers? Adding a large amount of food warms the refrigerator drawers. The motor normally will run longer to cool the refrigerator drawers back down.
- Are the drawers opened often? The motor will run longer when this occurs. Conserve energy by getting all items out at one time, keeping food organized, and closing the drawer as soon as possible.
- Are the controls not set correctly for the surrounding conditions? Refer “Controls” section.
- Are the drawers not closed completely? Close the drawers fi rmly. If they do not close completely, see “The drawers will not close completely” later in this section.
- Are the drawer gaskets not sealed all the way around? Contact a technician or other quality ed person.
THE REFRIGERATOR DRAWERS SEEM TO MAKE TOO MUCH NOISE
- The sounds may be normal for your refrigerator drawers.? See “Normal Sounds.”
THE DIVIDER BETWEEN THE TWO COMPARTMENTS IS WARM
- The warmth is probably due to the normal operation of the automatic exterior moisture control. If still concerned, call for service.
THE TEMPERATURE IS TOO WARM
- Are the air vents blocked in either compartment? This obstructs cold air movement between the compartments. Remove any objects from in front of the air vents. See “Ensuring Proper Air Circulation” for the location of air vents.
- Are the drawers opened often? The refrigerator drawers will warm when this occurs. Keep the refrigerator drawers cool by getting all items out at one time, keeping food organized, and closing the door as soon as possible.
- Has a large amount of food just been added to the refrigerator drawers? Adding a large amount of food warms the refrigerator drawers. It can take several hours for the refrigerator drawers to return to the normal temperature.
- Are the controls set correctly for the surrounding conditions? See “Using the Controls.”
- Are the refrigerator drawers not cooling? Turn them off and then on again to reset. See “Using the Controls. ”If this does not correct the problem, call for service.
- Are ice makers operated? When the ice maker is operated, the heat of the ice maker is added to the refrigerator. The motor normally will run longer in order to make the ice. If the ice maker is turned ON when the water can not be supplied automatically (not connecting to the water source, etc.), the heat of the ice maker will be added to the refrigerator, the motor will run longer and the energy consumption will increase. See “Turning the Ice Maker ON/OFF”.
THERE IS INTERIOR MOISTURE BUILDUP
- Are the air vents blocked in the refrigerator drawers? Remove any objects from in front of the air vents. See “Ensuring Proper Air Circulation” for the location of air vents.
- Are the drawers opened often? Avoid humidity buildup by getting all items out at one time, keeping food organized, and closing the drawer as soon as possible.
- Is the room humid? It is normal for moisture to build up inside the refrigerator drawers when the room air is humid.
- Is the food packaged correctly? Check that all food is securely wrapped. Dry damp food containers before placing them in the refrigerator drawers.
- Are the controls set correctly for the surrounding conditions? See “Using the Controls.”
DRAWERS
THE DRAWERS WILL NOT CLOSE COMPLETELY
- Are food packages blocking the drawer open? Rearrange containers so that they fi t more tightly and take up less space.
THE DRAWERS ARE DIFFICULT TO OPEN
- Are the gaskets dirty or sticky? Clean gaskets and the surface that they touch. Rub a thin coat of paraffi n wax on the gaskets following cleaning.
ASSISTANCE
IF YOU NEED SERVICE:
Before calling for assistance or service, please check “Troubleshooting.” It may save you the cost of a service call. If you still need help, follow the instructions below. When calling, please know the purchase date and the complete model and a serial number of your appliance. This information will help us to better respond to your request. Please refer to the warranty page in this manual for more information on service.
IF YOU NEED REPLACEMENT PARTS:
Component parts should be replaced with like components and servicing should be done by factory-authorized service personnel, so as to minimize the risk of possible ignition due to incorrect parts or improper service.
IN THE U.S.A.
Call the JennAir Customer eXperience Center toll-free at: 1-800-JENN-AIR (1-800-536-6247), or visit our website at www.jennair.com
OUR CONSULTANTS PROVIDE ASSISTANCE WITH:
- Features and specifi cations on our full line of appliances.
- Installation information.
- Use and maintenance procedures.
- Accessory and repair parts sales.
- Specialized customer assistance (Spanish speaking, hearing impaired, limited vision, etc.).
- Referrals to local dealers, repair parts distributors, and service companies. JennAir designated service technicians have trained to fulfi ll the product warranty and provide after-warranty service, anywhere in the United States.
To locate the JennAir designated service company in your area, you can also look in your telephone directory Yellow Pages.
FOR FURTHER ASSISTANCE
If you need further assistance, you can write to JennAir with any questions or concerns at:
JennAir Brand Home Appliances
Customer Experience Center
553 Benson Road
Benton Harbor, MI 49022-2692
Please include a daytime phone number in your correspondence.
IN CANADA
Call the JennAir Canada Customer eXperience Centre toll-free: 1-800-JENN-AIR (1-800-536-6247).
OUR CONSULTANTS PROVIDE ASSISTANCE WITH:
- Features and specifi cations on our full line of appliances.
- Use and maintenance procedures.
- Accessory and repair parts sales.
- Referrals to local dealers, repair parts distributors, and services companies. JennAir Canada designated service technicians have trained to fulfi ll the product warranty and provide after-warranty service, anywhere in Canada.
FOR FURTHER ASSISTANCE
If you need further assistance, you can write to JennAir Canada with any questions or concerns at:
JennAir Canada
Customer Experience Centre
200 – 6750 Century Ave.
Mississauga, Ontario L5N 0B7
Please include a daytime phone number in your correspondence.
ACCESSORIES
To order accessories, call 1-800-JENN-AIR (1-800-536-6247),and ask for the appropriate part the number listed below or contact your authorized JennAir dealer.
REPLACEMENT WATER FILTER:
Order Part #4396701
AFFRESH® KITCHEN & APPLIANCE CLEANER:
In the U.S.A., order part #W10355010
In Canada, order part #W10355010B
AFFRESH® STAINLESS STEEL CLEANER:
In the U.S.A., order part #W10355016
In Canada, order part #W10355016B
PRODUCT DATA SHEETS
Base Grille Water Filtration System
Model WF-L200V capacity 200 gallons (757 liters)
Model WF-NL120V capacity 120 gallons (454 liters)
Tested and certified by NSF International against ANSI/NSF Standard 42 for the reduction of Chlorine, Taste and Odor, Particulate Class lll*; and against ANSI/NSF Standard 53 for the reduction of Lead, Mercury, Benzene, and p-dichlorobenzene.
This system has been tested according to ANSI/NSF 42/53 for the reduction of the substances listed below. The concentration of the indicated substances in water entering the system was reduced to a concentration less than or equal to the permissible limit for water leaving the system, as specified in ANSI/NSF 42/53.
| Substance Reduction Aesthetic Effects | NSF Reduction Requirements | Average Influent | Influent Challenge Concentration | Maximum Effluent | Average Effluent | Minimum % Reduction | Average % Reduction |
| Chlorine Taste/ Odor Particulate Class III* | ≥ 50 % ≥ 85 % | 1.9 mg/L 49,333/mL | 2.0 mg/L ± 10 % At least 10,000 particles/mL | 0.07 mg/L 640 mg/L** | 0.06 mg/L 312 mg/L |
|
|
| Contaminant Reduction | NSF Reduction Requirements | Average Influent | Influent Challenge Concentration | Maximum Effluent | Average Effluent | Minimum % Reduction | Average % Reduction |
| Lead: @ pH 6.5 | 0.01 mg/L | 0.14 mg/L*** | 0.15 mg/L ± 10 % | 0.0014 mg/L | 0.0011 mg/L | 99.0 % | 99.21 % |
| Lead: @ pH 8.5 | 0.01 mg/L | 0.15 mg/L*** | 0.15 mg/L ± 10 % | 0.0069 mg/L | 0.0042 mg/L | 95.4 % | 97.08 % |
| Mercury: @ pH 6.5 | 0.002 mg/L | 0.0059 mg/L | 0.006 mg/L ± 10 % | 0.0009 mg/L | 0.0004 mg/L | 84.74 % | 92.47 % |
| Mercury: @ pH 8.5 | 0.002 mg/L | 0.0054 mg/L | 0.006 mg/L ± 10 % | 0.0007 mg/L | 0.00043 mg/L | 87.03 % | 91.93 % |
| Benzene | 0.0050 mg/L | 0.0157 mg/L | 0.015 ± 10 % | 0.002 mg/L | 0.00083 mg/L | 87.26 % | 87.26 % |
| p-dichlorobenzene | 0.075 mg/L | 0.210 mg/L | 0.225 ± 10 % | 0.0005 mg/L | 0.0005 mg/L | 99.76 % | 99.76 % |
Test Parameters: pH = 7.5 ± 0.5 unless otherwise noted. Flow = 0.5 GPM (1.9 Lpm). Pressure = 60 psig (413.7 kPa). Temp. = 63 °F (17.2 °C).
APPLICATION GUIDELINES/WATER SUPPLY PARAMETERS
- It is essential that operational, maintenance, and fi filter replacement requirements be carried out for the product to perform as advertised.
- Model WF-L200V: The fi filter monitor system measures the amount of water that passes through the fi later and alerts you to replace the fi later. When 90 % of the fi other’s rated life is used, the fi filter indicator light changes from green to yellow. When 100 % of the fi other’s rated life is used, the fi filter indicator light changes from yellow to red, and it is recommended that you replace the fi later. Use replacement cartridge L200V / NL120V, part #4396702. 2014 suggested retail price of $32.99 U.S.A./ $49.99 Canada. Prices are subject to change without notice.
Model WF-NL120V: Change the water fi filter cartridge every 6-9 months. Use replacement cartridge L200V / NL120V, part #4396702. 2014 suggested retail price of $32.99 U.S.A./ $49.99 Canada. Prices are subject to change without notice.
Class III particle size: >5 to <15 um
**Test requirement is at least 10,000 particles/mL of AC Fine Test Dust.
***These contaminants are not necessarily in your water supply. Performance may vary based on local water conditions.
®NSF is a registered trademark of NSF International.
- The product is for cold water use only.
- Do not use water that is microbiologically unsafe or of unknown quality without adequate disinfection before or after the system.
- Refer to the front cover or “Accessories” section for the Manufacturer’s name, address, and telephone number.
- Refer to the “Warranty” section for the Manufacturer’s limited warranty.
| Water Supply | City or Well |
| Water Pressure | 30 – 120 psi (207 – 827 kPa) |
| Water Temperature | 33 °F – 100 °F (0.6 °C – 37.8 °C) |
| Service Flow Rate | 0.5 GPM (1.89 L/min.) @ 60 psi. (413.7 kPa) |

®/ ™ ©2020 All rights reserved. Used under license in Canada.
Tous droits réservés. Utilisé sous licence au Canada.
Todos los derechos reservados. Usado en Canadá bajo licencia.
W11533206
05/2021
A- Cold water pipe
A- Plug with compression nut
A- 4 wood screws
A- Check the level from left to right.
A- Check the level from front to back.
Press COOL ON to turn on the drawers. All menus and recommended temperature settings will be displayed.
Max Cool will reset the temperature for the refrigerator drawer to 32 °F (0 °C) and -3 °F (-19.4 °C) for the freezer drawer for a 24-hour period.
TURNING THE ICE MAKER ON/OFF:
Pressing any preset option will set the temperature value to the recommended temperature for each category:
To adjust set point temperatures, press “+” (plus) or “-” (minus) until the desired temperature setting is reached.
A. F/C touchpad
• Press and hold SABBATH for 3 seconds to turn on the feature. After the 3-second countdown, the feature will activate and all other displays will turn Off.
The Over Temperature feature is designed to let you know when either the refrigerator drawer temperature rises above 45 °F (7 °C) or the freezer drawer temperature rises above 6 °F (-14.4 °C) for 4 hours or longer. The audio alarm will shut off automatically when the temperature returns to normal. To let you know an Over Temperature condition occurred, the indicator light will continue to flash until the Reset Alarm touchpad is pressed. If the over-temperature condition is still present when an Over Temp reset is performed, the indicator light will continue to reactivate every 4 hours until refrigerator and freezer temperatures are below 45 °F (7 °C) and 15 °F (-9 °C), respectively.
The indicator light will then change from yellow to red when it is time to replace the water filter.
A. Screws


















