IKEA 704.901.23 PÅKALLA Fridge Freezer

Safety information
Before the installation and use of the appliance, carefully read the supplied instructions. The manufacturer is not responsible if an incorrect installation and use causes injuries and damages. Always keep the instructions with the appliance for future reference.
Children and vulnerable people safety
- This appliance can be used by children aged from 8 years and above and persons with reduced physical, sensory or mental capabilities or lack of experience and knowledge if they have been given supervision or instruction concerning the use of the appliance in a safe way and understand the hazards involved.
- This appliance may be used by children between 3 and 8 years of age and persons with very extensive and complex disabilities, if they have been properly instructed.
- Children of less than 3 years of age should be kept away unless continuously supervised.
- Do not let children play with the appliance.
- Children shall not carry out cleaning and user maintenance of the appliance without supervision.
- Children aged from 3 to 8 years are allowed to load and unload refrigerating appliances.
- Keep all packaging away from children and dispose of it appropriately.
General Safety
- This appliance is intended to be used in household and similar applications such as:
- Farmhouses; staff kitchen areas in shops, offices and other working environments;
- By clients in hotels, motels, bed and breakfast and other residential type environments;
- Keep ventilation openings, in the appliance enclosure or in the built-in structure, clear of obstruction.
- Do not use mechanical devices or other means to accelerate the defrosting process, other than those recommended by the manufacturer.
- Do not damage the refrigerant circuit.
- Do not use electrical appliances inside the food storage compartments of the appliance, unless they are of the type recommended by the manufacturer.
- Do not use water spray and steam to clean the appliance.
- Clean the appliance with a moist soft cloth. Only use neutral detergents. Do not use abrasive products, abrasive cleaning pads, solvents or metal objects.
- Do not store explosive substances such as aerosol cans with a flammable propellant in this appliance.
- If the supply cord is damaged, it must be replaced by the manufacturer, its Authorised Service Centre or similarly qualified persons in order to avoid a hazard.
- When positioning the appliance, ensure the supply cord is not trapped or damaged.
- Do not locate multiple portable socket-outlets or portable power supplies at the rear of the appliance.
- Opening the door for long periods can cause a significant increase of the temperature in the compartments of the appliance.
- Clean regularly surfaces that can come in contact with food and accessible drainage systems.
- Clean water tanks if they have not been used for 48 hours; flush the water system connected to a water supply if water has not been drawn for 5 days.
- Store raw meat and fish in suitable containers in the refrigerator, so that it is not in contact with or drip onto other food.
- If the refrigerating appliance is left empty for long periods, switch off, defrost, clean, dry, and leave the door open to prevent mould developing within the appliance.
- Two-star frozen-food compartments are suitable for storing pre-frozen food, storing or making ice-cream and making ice cubes.
- One-, two- and three-star compartments are not suitable for the freezing of fresh food.
- This refrigerating appliance is not intended to be used as a built-in appliance.
- The appliance is equipped with a lamp for interior lighting. Only service is allowed to replace the lighting device. Contact your Authorised Service Centre.
- WARNING: To avoid a hazard due to instability of the appliance, it must be fixed in accordance with theinstructions.
Safety instructions
- Warning! Only a qualified person can install this appliance.
- Remove all the packaging and the transit bolts.
- Do not install or use a damaged appliance.
- Follow the installation instruction supplied with the appliance.
- Always take care when moving the appliance as it is heavy. Always use safety gloves and enclosed footwear.
- Make sure the air can circulate around the appliance.
- Do not tilt the refrigerator for more than 45° form upright during moving it.
- At first installation or after reversing the door wait at least 4 hours before connecting the appliance to the power supply. This is to allow the oil to flow back in the compressor.
- Before carrying out any operations on the appliance (e.g. reversing the door), remove the plug from the power socket.
- Do not install the appliance close to radiators or cookers, oven or hobs.
- The rear of the appliance must stand against the wall.
- Do not install the appliance where there is direct sunlight.
- Do not install this appliance in areas that are too humid or too colds, such as the construction appendices, garages or wine cellars.
- When you move the appliance, lift it by the front edge to avoid scratching the floor.
Electrical connection
- Warning! Risk of fire and electrical shock.
- Warning! When positioning the appliance, ensure the supply cord is not trapped or damaged.
- Warning! Do not use multi-plug adapters and extension cables.
- The appliance must be earthed.
- Make sure that the parameters on the rating plate are compatible with the electrical ratings of the mains power supply.
- Always use a correctly installed shockproof socket.
- Make sure not to cause damage to the electrical components (e.g. mains plug, mains cable, compressor). Contact the Authorised Service Centre or an electrician to change the electrical components.
- The mains cable must stay below the level of the mains plug.
- Connect the mains plug to the mains socket only at the end of the installation. Make sure that there is access to the mains plug after the installation.
- Do not pull the mains cable to disconnect the appliance. Always pull the mains plug.
- UK and Ireland only. This appliance is fitted with a 13 A mains plug. If it is necessary to change the mains plug fuse,use only a 13 A ASTA (BS 1362) fuse.
Use
Warning! Risk of injury, burns, electrical shock or fire.
The appliance contains flammable gas, isobutane (R600a), a natural gas with a high level of environmental compatibility. Be careful not to cause damage to the refrigerant circuit containing isobutane.
- The surface of the compressor becomes hot: The surface of the compressor may become hot under normal operation. Do not touch it with hands.
- Do not change the specification of this appliance.
- Do not put electrical appliances (e.g. ice cream makers) in the appliance unless they are stated applicable by the manufacturer.
- If damage occurs to the refrigerant circuit, make sure that there are no flames and sources of ignition in the room. Ventilate the room.
- Do not let hot items to touch the plastic parts of the appliance.
- Do not put soft drinks in the freezer compartment. This will create pressure on the drink container.
- Do not store flammable gas and liquid in the appliance.
- Do not put flammable products or items that are wet with flammable products in, near or on the appliance.
- Do not touch the compressor or the condenser. They are hot.
- Do not remove or touch items from the freezer compartment if your hands are wet or damp.
- Do not freeze again food that has been thawed.
- Follow the storage instructions on the packaging of frozen food.
Internal lighting
Warning! Risk of electric shock.
- The lamp is only for interior lighting of the appliance. Do not use it for house lighting.
Care and cleaning
Warning! Risk of injury or damage to the appliance.
- Before maintenance, deactivate the appliance and disconnect the mains plug from the mains socket.
- This appliance contains hydrocarbons in the cooling unit. Only a qualified person can do the maintenance and the recharging of the unit.
- Regularly examine the drain of the appliance and if necessary, clean it. If the drain is blocked, defrosted water collects in the bottom of the appliance.
Service
- To repair the appliance contact an Authorised Service Centre listed at the end of this manual.
- Use original spare parts only.
Disposal
- Warning! Risk of injury or suffocation.
- Disconnect the appliance from the mains supply.
- Cut off the mains cable and discard it.
- Remove the door to prevent children and pets to be closed inside of the appliance.
- The refrigerant circuit and the insulation materials of this appliance are ozone friendly.
- The insulation foam contains flammable gas. Contact your municipal authority for information on how to discard the appliance correctly.
- Do not cause damage to the part of the cooling unit that is near the heat exchanger.
Installation
Warning! Refer to Safety chapters.
Positioning
- Follow the separate Assembly Instructions to install this appliance.
- This appliance should be installed in a dry, well-ventilated indoor where the ambient temperature corresponds to the climate class indicated on the rating plate of the appliance:
Climate class Ambient temperature SN +10°C to +32°C N +16°C to +32°C ST +16°C to +38°C T +16°C to +43°C - “SN” indicates that this refrigerating appliance is intended to be used at ambient temperatures ranging from 10 °C to 32 °C.
- “N” indicates that this refrigerating appliance is intended to be used at ambient temperatures ranging from 16 °C to 32 °C.
- “ST” indicates that this refrigerating appliance is intended to be used at ambient temperatures ranging from 16 °C to 38 °C.
- “T” indicates that this refrigerating appliance is intended to be used at ambient temperatures ranging from 16 °C to 43 °C.
- Some functional problems might occur for some types of models when operating outside of that range. The correct operation can only be guaranteed within the specified temperature range. If you have any doubts regarding installation, please turn to the vendor, to our customer service or to the nearest Authorised Service Centre.
Location
- To ensure best performance, install the appliance well away from sources of heat such as radiators, boilers, direct sunlight etc. Make sure that air can circulate freely around the back of the cabinet.
- Install the supplied distance holder to allow enough space between the refrigerator and the wall (refer to the separate Assembly Instructions). If the installation of the supplied distance holder is not possible, leave a space of at least 10 cm between the appliance and the wall, and at least 30 cm between the top of the appliance and the ceiling.
- Leave enough space to access and open the door easily (W x D ≥ 1000×1179 mm).

Levelling feet
If the appliance tilts in some way, adjust the height of the left/right foot of the appliance to be in a horizontal level. Refer to the separate Assembly Instructions for detailed installation.
- Disconnect the mains plug of the appliance from the power socket.
- Turn the foot clockwise to raise the appliance; turn the foot counter clockwise to lower the appliance.

Reversing doors (optional)
Based on the location of the appliance, you may need to reverse the doors to allow for easy access to the appliance contents.
A suitable screwdriver and/or wrench is needed for door re-installation. Refer to the separate Assembly Instructions for detailed installation.
Installing distance holder
Warning! Serious or fatal crushing injuries can occur from appliance tip-over. ALWAYS secure this appliance to the wall using tipover restraints. Using the supplied distance holder to fix the appliance to the wall for the following advantages. Refer to the separate Assembly Instructions for detailed installation.
- Allow enough space for air circulation between the appliance and the walls.
- Secure the appliance to the wall for tip-over prevention.

Electrical connection
- Caution! Any electrical work required to install this appliance should be carried out by a qualified electrician or competent person.
- Warning! This appliance must be earthed. Failure to follow these instructions can result in death, fire or electrical shock.
The manufacturer declines any liability should these safety measures not be observed. This appliance complies with the E.E.C. Directives.
First use
Cleaning the interior
Before using the appliance for the first time,wash the interior and all internal accessories with lukewarm water and same neutral soap so as to remove the typical smell of a brand new product, then dry thoroughly.
Important! Do not use detergents or abrasive powders, as these will damage the finish.
Product Description
Product Overview

- Door balconies
- Bottle balcony
- Door gaskets
- Freezer drawers
- Vegetable drawer
- Glass shelves
- LED lamp
- Control panel

- Least cold zone
- Intermediate temperature zone
- Coldest zone
Operation
Control panel

Switching on
- Connect the mains plug to the power socket. The display on the control panel turns on. The temperature indicator shows the currently set temperature.
- To change temperature, refer to the section for temperature regulation.
When operating the appliance for the first time, set the appliance at a colder temperature and run it without loading any food until it auto stops at the set temperature.Usually it takes 2 or 3 hours, then set the temperature regulator at the desired setting and put food in the appliance.
Switching off
Disconnect the mains plug from the power socket. The display turns off.
Temperature regulation
- Press the 1 temperature button to select a desired temperature. The corresponding 2 temperature indicator turns on.
Fast freezing function
- Press and hold the 1 temperature button on the control panel for three seconds to activate the function. Both 3° and 4° indicators turn on.
- To deactivate the function, press and hold the 1 temperature button for three seconds again.
Adjust the temperature setting by keeping in mind that the temperature inside the appliance depends on:
- room temperature
- how often the door is opened
- the quantity of food stored
- the location of the appliance
Important! If the ambient temperature is high or the appliance is fully loaded, and the appliance is set to the lowest temperatures, it may run continuously causing frost to form on the rear wall. In this case a higher temperature must be set to allow automatic defrosting and therefore reduced energy consumption.
Daily use
Freezing calendar

- The symbols show different types of frozen goods.
- The numbers indicate storage times in months for the appropriate types of frozen goods. Whether the upper or lower value of the indicated storage time is valid depends on the quality of the foods and treating before freezing.
Freezing fresh food
- The freezer compartment is suitable for freezing fresh food and storing frozen and deep-frozen food for a long time.
- The maximum amount of food that can be frozen in 24 hours is specified on the rating plate, a label located on the inside of the appliance.
- The freezing process lasts 24 hours: during this period do not add other food to be frozen.
Storage of frozen food
- When first starting-up or after a period out of use, before putting the products in the compartment let the appliance run at least 2 hours on the colder setting.
- Successful freezing depends on the correct packaging. When you close and seal the package you must not allow air or moisture in or out. If you do, you could have food odour and taste transfer throughout the refrigerator, and also dry out frozen food.
- Note: Never put bottled food or drinks in the freezer compartment.
- For best performance, leave enough space in the freezer compartment for air to circulate around the packages. Also let enough room at the front so the door can close tightly.
Warning! In the event of accidental defrosting, for example due to a power failure, if the power has been off for longer than the value shown in the technical characteristics chart under “rising time”, the defrosted food must be consumed quickly or cooked immediately, cooled and then re-frozen.
Thawing
Deep-frozen or frozen food, prior to being used, can be thawed in the refrigerator compartment or at room temperature, depending on the time available for this operation. Small pieces may even be cooked still frozen, directly from the freezer: in this case, cooking will take longer.
Storage of food in the refrigerator compartment
- Cover or wrap the food, particularly if it has a strong flavour.
- Position the food so that air can circulate freely around it.
- For best performance, leave enough space in the refrigerator compartment for air to circulate around the packages. Also let enough room at the front so the door can close tightly.
Positioning the door balconies
- To permit storage of food packages of various sizes, the door balconies can be placed at different heights.
- Carefully remove a door balcony from the support, then reposition it as desired.
Caution! Do not move the glass shelf above the vegetable drawer to ensure correct air circulation.
Vegetable drawer

- The drawer is suitable for storing fruit and vegetables.
- The drawer can be pulled out for cleaning.
Temperature indicator
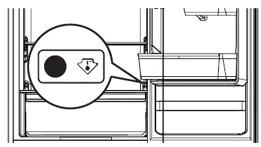
In accordance with regulations in some countries, it must be provided with a special device (see the figure below) placed in the lower refrigerator compartment of the appliance to indicate the coldest zone of it.
Hints and tips
Normal operating sounds
The following sounds are normal during operation:
- A faint gurgling and bubbling sound from coils sound when refrigerant is pumped.
- A whirring and pulsating sound from the compressor when refrigerant is pumped.
- A sudden cracking noise from inside appliance caused by thermic dilatation (a natural and not dangerous physical phenomenon).
Hints for energy saving
- Do not open the door frequently or leave it open longer than absolutely necessary.
- If the ambient temperature is high and very low internal temperature is set and the appliance is fully loaded, the compressor may run continuously, causing frost or ice on the evaporator. If this happens, set the internal temperature toward warmer one to allow automatic defrosting and so a saving in electricity consumption.
Hints for fresh food refrigeration
- Do not store warm food or evaporating liquids in the refrigerator.
- Cover or wrap the food, particularly if it has a strong flavour.
- Position food so that air can circulate freely around it.
Hints for refrigeration
Useful hints:
- Meat (all types): wrap in a suitable packaging and place it on the glass shelf above the vegetable drawer. Store meat for at most 1-2 days.
- Cooked foods, cold dishes: cover and place on any shelf.
- Fruit and vegetables: clean thoroughly and place in a special drawer. Bananas, potatoes, onions and garlic must not be kept in the refrigerator if not packed.
- Butter and cheese: place in a special airtight container or wrap in an aluminium foil or a polythene bag to exclude as much air as possible.
- Bottles: close with a cap and place on the door bottle shelf, or (if available) on the bottle rack.
Cautions for Use
- The more food stuff put in or the more and the longer for once the door is opened, the more it needs electric consumption, which even leads malfunction.
- Re-plug in the power plug at the interval of over ten minutes.
- Do not store bottled drink in the freezer, so as to prevent from being broken and damaging the refrigerator.
- Open the door as less as possible during power-cut.
- When defrosting, never use any sharp or metallic objects to remove the frost on the surface of the evaporator as it will damage the evaporator.
- Do not touch foods and containers in the freezing compartment with your wet hands so as to prevent from being frostbitten.
Hints for freezing
To help you make the most of the freezing process, here are some important hints:
- The maximum quantity of food which can be frozen in 24 hour is shown on the rating plate.
- The freezing process takes 24 hours. No further food to be frozen should be added during this period.
- Freeze only top quality, fresh and thoroughly cleaned, foodstuffs.
- Prepare food in small portions to enable it to be rapidly and completely frozen and to make it possible subsequently to thaw only the quantity required.
- Wrap up the food in aluminium foil or polythene and make sure that the packages are airtight.
- Do not allow fresh, unfrozen food to touch food which is already frozen, thus avoiding a rise in temperature of the latter.
- Lean foods store better and longer than fatty ones; salt reduces the storage life of food.
- Water ices, if consumed immediately after removal from the freezer compartment, can possibly cause the skin to be freeze burnt.
- It is advisable to show the freezing in date on each individual pack to enable you to keep tab of the storage time.
Hints for storage of frozen food
To obtain the best performance from this appliance, you should:
- Make sure that the commercially frozen foodstuffs were adequately stored by the retailer.
- Make sure that frozen foodstuffs are transferred from the food store to the freezer in the shortest possible time.
- Do not open the door frequently or leave it open longer than absolutely necessary.
- Once defrosted, food deteriorates rapidly and cannot be refrozen.
- Do not exceed the storage period indicated by the food manufacturer.
Care and cleaning
Warning! Refer to Safety chapters.
General warnings
- Caution! Unplug the appliance before carrying out any maintenance operation.
- This appliance contains hydrocarbons in its cooling unit; maintenance and recharging must therefore only be carried out by authorized technicians.
- The accessories and parts of the appliance are not suitable for washing in a dishwasher.
Cleaning the interior
Before using the appliance for the first time, the interior and all internal accessories should be washed with lukewarm water and some neutral soap to remove the typical smell of a brand-new product, then dried thoroughly.
Caution! Do not use detergents or abrasive powders, as these will damage the finish.
Cleaning the fridge/freezer exterior
Clean the fridge/freezer door exterior using a non-abrasive cloth damped in warm water and mild soap or a cleaning detergent specifically designed for the appliance.
Initial power on
Caution! Before inserting the power plug in to the outlet and switching on the cabinet for the first time, leave the appliance standing upright for at least 4 hours. This will assure a sufficient amount of time for the oil to return to the compressor. Otherwise the compressor or electronic components may sustain damage.
Periodic cleaning
Caution! Do not pull, move or damage any pipes and/or cables inside the cabinet.
Caution! Do not damage the cooling system.
Caution! When moving the cabinet, lift it by the front edge to avoid scratching the floor.
The equipment has to be cleaned regularly:
- Clean the inside and accessories with lukewarm water and some neutral soap.
- Regularly check the door seals and wipe clean to ensure they are clean and free from debris.
- Rinse and dry thoroughly.
- If accessible, clean the condenser and the compressor at the back of the appliance with a brush. This operation will improve the performance of the appliance and save electricity consumption.
Periods of non-operation
When the appliance is not in use for long periods, take the following precautions:
- Disconnect the appliance from electricity supply.
- Remove all food.
- Defrost (if necessary) and clean the appliance and all accessories.
- Clean the appliance and all accessories.
- Leave the door/doors open to prevent unpleasant smells.
Caution! If you want to keep the appliance switched on, ask somebody to check it once in a while to prevent the food inside from spoiling in case of a power failure.
Defrosting fridge compartment
The defrosted water automatically drains out through the drain hole at the back of the refrigerator compartment and evaporates. To defrost manually, unplug the appliance from the power supply, then remove excess frost with a dry cloth.
It is important to periodically clean the defrost water drain hole at the back of the refrigerator compartment to prevent the water overflowing and dripping onto the food inside.
Defrosting freezer compartment
Due to seasonal changes, a thick layer of frost may form. To defrost manually, observe the followings.
- Disconnect the appliance from the power supply, and leave open the freezer door.
- Remove all foods, ice cube tray and shelf or transfer to refrigerator compartment.
- Clean and wipe out the melted frost with a cloth.
- After defrosting, connect the appliance to the power supply.
Caution! To avoid damaging the freezer compartment wall, do not use any sharp objects to remove the frost or separate the frozen food.
Troubleshooting
Warning! Refer to Safety chapters.
What to do if…
| Problem | Possible Cause | Solution |
| The appliance does not operate. | The mains plug is not connected to the mains socket correctly. | Connect the mains plug to the mains socket correctly. |
| There is no voltage in the mains socket. | Connect a different electrical appliance to the mains socket. Contact a qualified electrician. | |
| The appliance is noisy. | The appliance is not placed stably. | Level the feet of the appliance to stabilize it. Refer to “Levelling feet”, or the separate Assembly Instructions. |
| The lamp does not work. | The lamp is defective. | Refer to “Replacing the lamp”. |
| The compressor operates continually. | Temperature is set incorrectly. | Refer to “Operation” chapter. |
| Many food products were inserted at the same time. | Wait some hours and then check the temperature again. | |
| The room temperature is too high. | Refer to climate class chart on the rating plate. | |
| Food products placed in the appliance were too warm. | Allow food products to cool to room temperature before storing. | |
| The door is not closed correctly. | Refer to “Closing the door”. | |
| The temperature in the appliance is too low/too high. | The temperature is not set correctly. | Set a higher/lower temperature. |
| The door is not closed correctly. | Refer to “Closing the door”. | |
| The food products temperature is too high. | Let the food products temperature decrease to room temperature before storage. | |
| Many food products are inserted at the same time. | Insert less food products at the same time. | |
| The thickness of the frost is greater than 4-5 mm. | Defrost the appliance. | |
| The door has been opened often. | Open the door only if necessary. | |
| There is no cold air circulation in the appliance. | Make sure that there is cold air circulation in the appliance. |
| Problem | Possible Cause | Solution |
| There is too much condensed water on the rear wall of the refrigerator. | Door was opened too frequently. | Open the door only when necessary. |
| Door was not closed completely. | Make sure the door is closed completely. | |
| Stored food was not wrapped. | Wrap food in suitable packaging before storing it in the appliance. | |
| Water flows inside the refrigerator. | The drain hole at the back of the appliance is clogged. | Clean the drain hole with a piece of wire. |
| Food products prevent water from flowing into the water collector. | Make sure that food products do not touch the rear plate. | |
| Water flows on the floor. | The door is not closed well. | Refer to “Closing the door”, or refer to the troubleshooting item below (“The door does not close completely”). |
| The appliance tilts forward. | Tilt the appliance slightly backward (a quarter-inch lower in the back). Refer to the separate Assembly Instructions for appliance level adjustment. | |
| The drip pan cracks. | Contact Authorised Service Centre listed at the end of this manual. | |
| The defrost water drain is clogged. | Clean the drain hole with a piece of wire. | |
| The doors does not close completely. | The shelves are out of position. | Make sure the shelves are in correct position. Refer to “Movable shelves”. |
| The door gaskets are dirty. | Clean the door gaskets. | |
| he appliance is not level. | Make sure the appliances is installed in level. Refer to “Levelling feet” or the separate Assembly Instructions. |
Error code explanation
- 6° indicator flashing: Failure of ambient temperature sensor
- 3° indicator flashing: Defrosting sensor failure of the refrigerator compartment
- 2° indicator flashing: Temperature sensor failure of the refrigerator
If your appliance still is not working properly after making the above checks, contact the Authorised Service Centre. You can find the list at the end of this manual.
Closing the door
- Clean the door gaskets.
- If necessary, adjust the door. Refer to the separate Assembly Instructions.
- If necessary, replace the defective door gaskets. Contact the After Sales Service.
Replacing the lamp
The appliance is equipped with a lamp for interior lighting.
Only service is allowed to replace the lighting device. Contact your Authorised Service Centre. For quick solution, always refer to the full list of Authorised Service Centre located at the end of this manual and call your relative phone number.
Technical information
| Product category | |
| Product type | Refrigerator – Freezer |
| Installation type | Freestanding |
| Product dimensions | |
| Height | 1874 mm |
| Width | 595 mm |
| Depth | 630 mm |
| Net volume | |
| Fridge | 216.0 L |
| Freezer | 95.0 L |
| Defrost system | |
| Fridge | manual |
| Freezer | manual |
| Star rating | |
| rising time | 10 hours |
| Freezing capacity | 4.55 kg/24 h |
| Energy consumption | 233 kWh/y |
| Noise level | 40 dB, C |
| Energy class | E |
| Voltage | 220 – 240 V |
| Frequency | 50 Hz |
The article number and the serial number are situated in the rating plate on the internal left side of the appliance.
Environmental concerns
Recycle materials with the symbol . Put the packaging in relevant containers to recycle it. Help protect the environment and human health by recycling waste of electrical and electronic appliances. Do not dispose of appliances marked with the symbol with the household waste. Return the product to your local recycling facility or contact your municipal office.
IKEA guarantee
- How long is the IKEA guarantee valid?
This guarantee is valid for 5 years from the original date of purchase of Your appliance at IKEA. The original sales receipt is required as proof of purchase. If service work is carried out under guarantee, this will not extend the guarantee period for the appliance. - Who will execute the service?
IKEA service provider will provide the service through its own service operations orauthorized service partner network. - What does this guarantee cover?
The guarantee covers faults of the appliance, which have been caused by faulty construction or material faults from the date of purchase from IKEA. This guarantee applies to domestic use only. The exceptions are specified under the headline “What is not covered under this guarantee?” Within the guarantee period, the costs to remedy the fault e.g. repairs, parts, labour and travel will be covered, provided that the appliance is accessible for repair without special expenditure. On these conditions the EU guidelines (Nr.99/44/EG) and the respective local regulations are applicable. Replaced parts become the property of IKEA. - What will IKEA do to correct the problem?
IKEA appointed service provider will examine the product and decide, at its sole discretion, if it is covered under this guarantee. If considered covered, IKEA service provider or its authorized service partner through its own service operations, will then, at its sole discretion, either repair the defective product or replace it with the same or a comparable product. - What is not covered under this guarantee?
- Normal wear and tear.
- Deliberate or negligent damage, damage caused by failure to observe operating instructions, incorrect installation or by connection to the wrong voltage, damage caused by chemical or electro-chemical reaction, rust, corrosion or water damage including but not limited to damage caused by excessive lime in the water supply, damage caused by abnormal environmental conditions.
- Consumable parts including batteries and lamps.
- Non-functional and decorative parts which do not affect normal use of the appliance, including any scratches and possible colour differences.
- Accidental damage caused by foreign objects or substances and cleaning or unblocking of filters, drainage systems or soap drawers.
- Damage to the following parts: ceramic glass, accessories, crockery and cutlery baskets, feed and drainage pipes, seals, lamps and lamp covers, screens, knobs, casings and parts of casings. Unless such damages can be proved to have been caused by production faults.
- Cases where no fault could be found during a technician’s visit.
- Repairs not carried out by our appointed service providers and/or an authorized service contractual partner or where nonoriginal parts have been used.
- Repairs caused by installation which is faulty or not according to specification.
- The use of the appliance in a non-domestic environment i.e. professional use.
- Transportation damages. If a customer transports the product to their home or other address, IKEA is not liable for any damage that may occur during transport. However, if IKEA delivers the product to the customer’s delivery address, then damage to the product that occurs during this delivery will be covered by this guarantee.
- Cost for carrying out the initial installation of the IKEA appliance. However, if an IKEA service provider or its authorized service partner repairs or replaces the appliance under the terms of this guarantee, the service provider or its authorized service partner will reinstall the repaired appliance or install the replacement, if necessary.
This restriction do not apply to fault-free work carried out by a qualified specialist using our original parts in order to adapt the appliance to the technical safety specifications of another EU country.
- How country law applies
The IKEA guarantee gives You specific legal rights, which covers or exceed local demands. However these conditions do not limit in any way consumer rights described in the local legislation. - Area of validity
For appliances which are purchased in one EU country and taken to another EU country, the services will be provided in the framework of the guarantee conditions normal in the new country. An obligation to carry out services in the framework of the guarantee exists only if the appliance complies and is installed in accordance with:- the technical specifications of the country in which the guarantee claim is made;
- the Assembly Instructions and User Manual Safety Information.
- The dedicated After Sales Service for IKEA appliances:
Please do not hesitate to contact IKEA After Sales Service to:- make a service request under this guarantee;
- ask for clarification on installation of the IKEA appliance in the dedicated IKEA kitchen furniture. The service won’t provide clarifications related to:
- the overall IKEA kitchen installation;
- connections to electricity (if machine comes without plug and cable), to water and to gas since they have to be executed by an authorized service engineer.
- ask for clarification on user manual contents and specifications of the IKEA appliance.
To ensure that we provide you with the best assistance, please read carefully the Assembly Instructions and/or the User Manual section of this booklet before contacting us.
- How to reach us if You need our service
Please refer to the last page of this manual for the full list of IKEA appointed contacts and relative national phone numbers.- In order to provide You with a quicker service, we recommend that You use the specific phone numbers listed at the end of this manual. Always refer to the numbers listed in the booklet of the specific appliance You need an assistance for. Before calling us, assure that You have to hand the IKEA article number (8 digit code) and the Serial Number (22 digit code that can be found on the rating plate) for the appliance of which you need our assistance.
- SAVE THE SALES RECEIPT! It is Your proof of purchase and required for the guarantee to apply. Note that the receipt reports also the IKEA article name and number (8 digit code) for each of the appliances you have purchased.
- Do You need extra help?
For any additional questions not related to After Sales of your appliances, please contact our nearest IKEA store call centre. We recommend you read the appliance documentation carefully before contacting us.
Please note that self-repair or nonprofessional repair can have safety consequences and might void the guarantee.
The following spare parts will be available for 7 years after the model has been discontinued: thermostats, temperature sensors, printed circuit boards, light sources, door handles, door hinges, trays and baskets. Please note that some of these spare parts are only available to professional repairers, and that not all spare parts are relevant for all models. Door gaskets will be available for 10 years after the model has been discontinued.
| Country | Phone Number | Call Fee | Opening Time (Mon-Fri) |
| Deutschland | 08007242420 | Kostenlos | 8am – 5pm |
| France | 0805543333 | Gratuit | 8.30 am – 7.00 pm (lun-ven) 8.30 am – 1.00 pm (sam) |
| United Kingdom | 08009175827 | free | 9am till 5pm |
| Ireland | free | 9am till 5pm | |
| Italia | 800130373 | Gratuito | 9am-6pm |
| España | 900822398 | Gratis | 9am-6pm |
| Ελλάδα | 0080044146128 (+30)21 6860020 | Χωρίς χρέωση | 9am-6pm |
| България | 0 700 10 218 | Безплатно | 9.00 – 18.00 ч. (пон. – пет.) |
| Nederland | Local(within NL): 050-7111267 International: +31 507111267 | Gratis | Ma-Vr 8-20, Za 9-20 |
| Sverige | 0775700500 | Kostnadsfritt | mån-fre 8.30 – 20.00 lör-sön 9.30 – 18.00 |
| Schweiz | 0800110344 | Kostenlos | 8am – 5pm |
| Suisse | Gratuit | 8am – 5pm | |
| Svizzera | Gratuito | 8am – 5pm | |
| Österreich | 0800909626 | Kostenlos | 9am-5pm |
| België | 080080159 | Gratis | 9am-5pm |
| Belgique | Gratuit | 9am-5pm | |
| Luxembourg | Gratuit | 9am-5pm | |
| Danmark | 70 15 09 09 | Gratis | man. – fre. 09.00 – 20.00 lør. – søn. 09.00 – 18.00 |
| Norge | 80031407 | Gratis | 9.00 am – 4.00 pm |
| Polska | 800012088 | Bezpłatne | 9am-5pm |
| Portugal | 800210151 | Gratuita | 9am-6pm |
| Česká republika | 800050717 | Zdarma | 9am-5pm |
| Suomi | 0800302588 | Maksuton | 9.00 am – 4.00 pm |
| Magyarország | 0680984517 | Ingyenes | 9am-5pm |
| Türkiye | 4449774 | Ücretsiz | 8.00 am – 17.30 pm |
| Россия | 88005510448 | Бесплатно | 9am-6pm |
| USA | (001)866 646 4332 | free | Mon-Fri 8:00 AM to 8:00 PM (EST) Saturday 8:00 AM to 6:00 PM (EST) |
| Slovensko | (+42)1415623915 | Bezplatne | 9.00 – 18.00 (pondelok – piatok) |
| Latvia | (+371)67717065 | Bezmaksas | 9.00 – 18.00 (P – Pk) |
| Estonia | (+372)6366525 | Tasuta | 9.00 – 18.00 (E–R) |
| Lithuania | (+370)67641956 | Nemokamai | 9.00 – 18.00 (Pr–Pn) |
| България | IKEA.com | Безплатно |
| Country | Phone Number | Call Fee | Opening Time (Mon-Fri) |
| Gran Canaria | IKEA.com | Gratis | |
| Serbia | IKEA.com | Besplatno | |
| Ísland | IKEA.com | Ókeypis | |
| România | IKEA.com | Gratuit | |
| Hrvatska | IKEA.com | Ne naplaćuje se | |
| Slovenija | IKEA.com | Brezplačno | |
| Tenerife | IKEA.com | Gratis |
Please refer to the last page of this manual for the full list of IKEA appointed After Sales Service Provider and relative national phone numbers. The electronic user manual is available at www.ikea.com.
For more information on energy consumption and other technical data of this product, access the following web link: https://eprel.ec.europa.eu






















