475 Barell Avenue, Carlstadt, NJ 07072
Voice: 800-230-9497, 201-549-1160
Fax: 201-549-1161
Projector Dowser User’s Manual
Part # 4160
Rev 1.6
© 2021 City Theatrical, Inc.

Welcome
Thank you for using the City Theatrical Part # 4160 Projector Dowser. Every effort has been made to answer your questions in this manual, but if you have any questions not addressed here, or you want to discuss a special application, please feel free to contact us directly at City Theatrical.
Overview
The City Theatrical 4160 Projector Dowser is a DMX 512 controlled mechanical dowser for use with digital projectors. The 4160 Projector Dowser changes “video black” to a real blackout by positioning a large flag in front of the projector’s lens.
Cautions
- The City Theatrical 4160 Projector Dowser is intended for use only by qualified professionals. Connection, installation and hanging of this equipment must be performed in accordance with all pertinent local, regional, and national safety codes and regulations.
- The City Theatrical 4160 Projector Dowser is intended for indoor use only.
- Keep the unit dry. Do not operate the unit if it gets wet.
- Do not operate in excessive heat. Maximum ambient operating temperature 40°C.
- Be sure installation provides adequate ventilation and allows free airflow.
- There are no user-serviceable parts inside. Refer to qualified service personnel.
ConnectionConnect the 4160 Projector Dowser via industry-standard DMX/accessory-power four-pin XLR cables, like those used with color scrollers.
When used with the optional CTI # 2199 Power Supply, the CTI 4160 Projector Dowser can be connected to a DMX controller using a standard five-pin XLR DMX cable from the controller to the Power Supply control input.
The 4160 Projector Dowser requires external DMX termination, either via a downstream device or with a termination plug. Contact CTI if you have questions.
| XLR Pin | Signal |
| 1 | Common |
| 2 | DMX – |
| 3 | DMX + |
| 4 | +24VDC |
Power Supplies
The 4160 Projector Dowser can be used with the City Theatrical # 2199 Power Supply. The Projector Dowser is also compatible with Wybron Forerunner™, Chroma Q™, Rainbow™, Spectra Q™, and Rosco PS™ power supplies. The 4160 Projector Dowser is not compatible with Wybron Coloram™ power supplies.
DMX Operation
The 4160 Projector Dowser responds to DMX commands as follows:
- DMX level 00 (OFF) = Home position
- DMX level 50 (50%) = 45° counter-clockwise from home position
- DMX Level FF (100%) = 90° Counter-clockwise from home position

DMX Addressing
The 4160 Projector Dowser uses a single DMX channel and may be addressed as any DMX value from 1 to 512. Addressing is controlled by a standard array of three 10-digit BCD switches configured as 100s, 10s, and 1s.
| LED Activity | Status |
| Mostly OFF w/ short blinks ON ~ 1 per 4 sec | Unit on and running, no DMX |
| Mostly ON w/ short blinks OFF~ 1 per 4 sec | Unit on and running, DMX present |
| Mostly ON w/ short blinks OFF~ 1 per sec | Unit on and running, DMX present w/errors* |
| Rapid blinking, even ON and OFF | Calibration failure |
Status Indication
The 4160 Projector Dowser is provided with a CPU-controlled LED for status indication. The LED indicates the conditions shown in the table.
* DMX errors indicate that DMX was present but was lost. This may be caused by defective cables, console shut down, or failures in the upstream DMX source such as a failed opto-repeater.
Installation and Setup
- Using the provided 1/16” hex wrench, loosen the 2 hex head set screws in the Dowser Hub until the Dowser Flag moves easily. Remove the Flag and set it aside.
- Determine the correct location and mount the Dowser using one of the mounting methods provided.
- With DMX set to 00 (or disconnected), power up the Dowser and let it “Home”. The shaft will rotate back and forth and come to a stop.
- Put the Dowser Flag back on the shaft and adjust its position along the shaft until it is located as close to the projector lens as required.
- Rotate the Flag until it is in the desired “00” position and tighten the 2 hex head set screws in the Dowser Hub until the Dowser Flag is locked in position. Be cautious and do not rotate the motor shaft.
- The Dowser Flag is made of thin aluminum so it can be readily trimmed with snips or heavy shears. You can modify your flag to meet your special requirements, and replacements are available through City Theatrical.

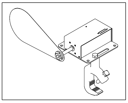
Mounting the Projector Dowser
The 4160 Projector Dowser may be hung or mounted in a variety of ways using the accessory mounting kit which includes a Mounting Base, Velcro Kit, and Rubber Feet. The Accessory Base is provided with

four #10 screw holes for mounting the Dowser to a platform and is also provided with side slots that can be used with a strap to secure the Dowser. The slots are wide enough to attach to a C-clamp or Sidearm, as shown in the adjacent views. Alternatively, the Dowser can be mounted with the Velcro Kit provided. The drawings below show two different mounting solutions.

Underhung Projector Mount

Dry Closure Operation
The 4160 Projector Dowser is also provided with a Dry Closure control input which will allow basic operation or manual checkout without using DMX. When the Dry Closure terminals are open and no DMX Control is present, the unit will remain at the home position. When the Dry Closure terminals are connected to each other (you can use a paper clip or short length of wire) the unit will move to the FULL position, 90° counter-clockwise from home position.
This feature also works in conjunction with DMX control. If DMX is present, the Dry Closure interface will function and override the DMX command. If the Dry Closure terminals are connected, the unit will move to the FULL position, 90° counter-clockwise from home position. When the Dry Closure is released the unit will return to DMX control and the DMX selected position.
When access to a DMX controller is not convenient, the Dry Closure input can be used to check the flag calibration or to troubleshoot the system, much the way a bump button is used on a dimmer.

Power: 24VDC, 250mA
Weight: 3.0 lbs
Dimensions:

Accessories
All accessories are sold separately.
| CTI # 4160-006 Dowser Flag | CTI # 4160-010 1/16” Hex Wrench |
| CTI # 4160-007 Flag Hub | CTI # 4160-011 Rubber Feet Kit |
| CTI # 4160-008 Accessory Plate | CTI # 4160-012 Velcro Kit |
| CTI # 2199 Power Supply |


















