
LONGPORT
F6480
INSTALLATION INSTRUCTIONS

| ITEM | DESCRIPTION | PART NUMBER |
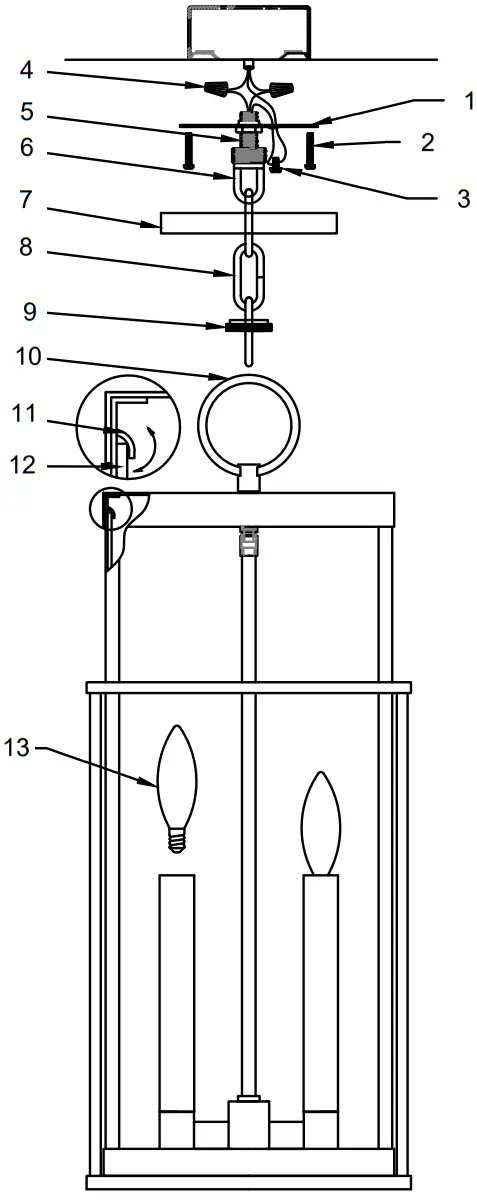
| 1 | MOUNTING PLATE | HDW-F6480 |
| 2 | MOUNTING SCREW | HDW-F6480 |
| 3 | GROUND SCREW | HDW-F6480 |
| 4 | WIRE NUT | HDW-F6480 |
| 5 | 1/4 NIPPLE | HDW-F6480 |
| 6 | SCREW COLLAR LOOP | HDW-F6480 |
| 7 | CANOPY | CPY-F6480 |
| 8 | CHAIN | CHN-F6480 |
| 9 | SCREW COLLAR | HDW-F6480 |
| 10 | FIXTURE ASSEMBLY | FAS-F6480 |
| 11 | CLIP | FAS-F6480 |
| 12 | GLASS | GLS-F6480 |
| 13 | BULB | NOT INCLUDED |
WARNING/CAUTION
- DISCONNECT POWER BEFORE RE-LAMPING OR WIRING THE FIXTURE. READ ALL INSTRUCTIONSCOMPLETELY BEFORE STARTING INSTALLATION.
- TO AVOID THE RISK OF FIRE OR SHOCK, FIXTURE MUST BE INSTALLED IN COMPLIANCE WITH ALLAPPLICABLE NATIONAL AND LOCAL ELECTRICAL/BUILDING CODES. THE INSTALLATION ANDMAINTENANCE OF THIS UNIT SHOULD BE COMPLETED BY A LICENSED ELECTRICIAN OR CERTIFIEDFACTORY TRAINED TECHNICIAN.
- CALIFORNIA PROP 65: THIS LIGHTING FIXTURE CONTAINS CHEMICALS KNOWN TO THE STATE OFCALIFORNIA TO CAUSE CANCER, BIRTH DEFECTS, AND/OR OTHER REPRODUCTIVE HARM. WASH HANDSAFTER USE.
- REMOVE THE FIXTURE, PARTS AND PARTS BAG(S) FROM THE CARTON. BEFORE DISCARDING THECARTON, DOUBLE CHECK TO MAKE CERTAIN THAT ALL PARTS ARE FOUND. INSPECT THE FIXTURE PRIORTO INSTALLATION FOR ANY DAMAGE TO THE FIXTURE.
- DIMMING: THE FIXTURE CAN BE CONTROLLED BY A WALL DIMMING DEVICE. ONLY USE TRIAC/ELECTRONIC DIMMER. MAKE SURE THE CARTON IS MARKED FOR USE WITH LED COMPACTFLUORESCENT-INCANDESCENT LIGHT SOURCE ONLY. THESE CAN BE PROVIDED BY YOUR LOCALELECTRICAL DISTRIBUTOR, HOME CENTER, OR HARDWARE STORE.
- PLEASE CLEAN WITH A SOFT, DRY CLOTH ONLY! DO NOT USE CLEANSERS
FIXTURE INSTALLATION
- Attach the MOUNTING PLATE (1) onto the junction box using the MOUNTING SCREWS (2). This fixture is designed to be mounted on standard round or octagon junction box. The junction box must be securely mounted to the structure of the building.
- Open the end link on the CHAIN (8) and attach to the loop on the FIXTURE ASSEMBLY (10). Hang the FIXTURE ASSEMBLY (10) on the CHAIN (8) at your desired height, and remove excess CHAIN (8).
- Feed the wire through the CHAIN (8) , SCREW COLLAR (9), CANOPY (7), SCREW COLLAR LOOP (6), NIPPLE (5), and MOUNTING PLATE (1), and screw the NIPPLE (5) onto the MOUNTING PLATE (1).
- Open the top link on the CHAIN (8), and Hang the FIXTURE ASSEMBLY (10) to the SCREW COLLAR LOOP(6).
- Cut off excess wire, and strip the insulation off the end of the leads.
- Attach the Ground wire (Green) to the ground inside the junction box (Generally green or bar copper wire) or the GROUND SCREW (3) on the MOUNTING PLATE (1). NEVER CONNECT GROUND WIRE TO “HOT”WIRE! FAILURE TO FOLLOW THIS COULD RESULT IN SERIOUS INJURY OR DEATH!
- Connect the fixture lead the ridge(s) to the neutral (Generally white) wire in the outlet box. Fasten the wires together with an approved fastener (WIRE NUT) (4). Starting 1″ below the fastener, tightly wrap the connection with electrical tape so that the connections seals the end of the fastener. MAKE SURE THERE ARE NO EXPOSED WIRE OF STRANDS THAT COULD CAUSE A DANGEROUS SHORT CIRCUIT!
- Connect the smooth fixture leads with to the hot (Generally black) wire in the junction box. Fasten the joined wires same as previous step. NEVER REVERSE HOT AND NEUTRAL WIRES. FAILURE TO FOLLOW THIS COULD RESULT IN SERIOUS INJURY OR DEATH!
- Put GLASS (12) into the ASSEMBLY(10) and using the CLIP (11) to the fixture.
- Screw the BULB (9) up into the SOCKET of the fixture.THIS FIXTURE IS RATED FOR 60 WATT LAMP. DO NOT EXCEED THE RECOMMENDED WATTAGE!
- Restore power to the outlet at the breaker or fuse box.
Questions? We’re here to help!
Contact us at [email protected]



















