82255/3 Three Light Pendant
Instruction Manual
ANY QUESTIONS CALL: 800-613-3261
M-F 8:00AM-6:00PM ET
ITEM#: 82255/3
ITEM#: 82265/3
ITEM#: 82275/3
82255/3 Three Light Pendant
WARNING: DISCONNECT POWER AT THE MAIN FUSE BOX BEFORE INSTALLATION.
WARNING:
This fixture is intended for installation in accordance with the National Electrical Code (NEC) and all local code specifications. If you are not familiar with code requirements, installation by a certified electrician is recommended. Before assembly, remove all parts and part packages from box. If anything is missing, please contact the retailer from which the product was purchased.

- Carefully pull house wires down out of junction box so house wires are easily accessed to connect fixture wires.
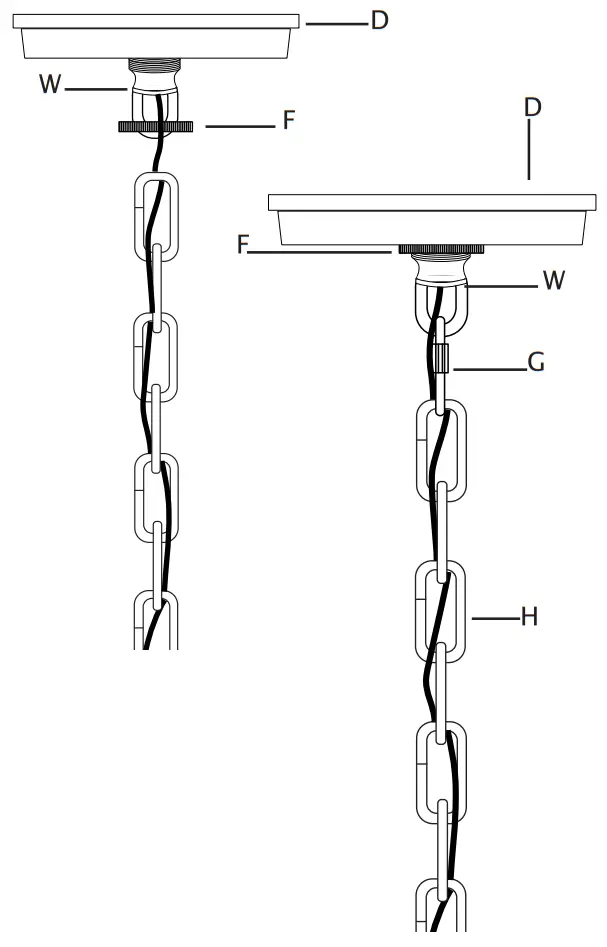
- If screw collar loop (W) is already attached to mounting bracket (A), proceed to Step
- To assemble screw collar loop (W) to mounting bracket (A): Hold mounting bracket (A) so head of ground screw is pointing down towards floor. Hold threaded pipe so two hognuts already attached to threaded pipe (E) are pointing down towards floor. From side of mounting bracket with ground screw head, screw short end of threaded pipe (E) into hole in center of mounting bracket (A) until hognut on threaded pipe (E) touches mounting bracket. Thread hognut (V) onto end of threaded pipe (E). Tighten hognut (V) to secure threaded pipe (E) to mounting bracket (A). Thread screw collar loop (W) onto end of threaded pipe pointing down towards floor. Tighten screw collar loop up against hognut on threaded pipe (E). 3. Place mounting bracket (A) up against junction box. Screw collar loop (E) should be pointing down towards floor. Align each slot in mounting bracket (A) with each hole in junction box.
- Thread one junction box screw (B) into each slot in mounting bracket (A) and into holes in junction box. Tighten junction box screws (B) to secure mounting bracket (A) to junction box.
CAUTION: Make sure house wires are still easily accessible. DO NOT pinch wires between mounting bracket and ceiling.
- Attach one locking link (G) to loop on top of
fixture body (O). - Determine desired hanging height of fixture. Cut chain (H) to length to achieve desired height.
- Slip chain link at end of chain (H) onto locking link (G) on loop.
- Weave fixture wires through chain links, skipping every other chain link.
- Slip threaded ring (F) down over end of chain (H) with fixture wires.
- Position canopy (D) so outside of canopy is pointing down towards fixture. Slip hole in canopy (D) over end of chain (H).

- Strip 3/4” of insulation from ends of fixture wires.
- Carefully push fixture wires up through hole in screw collar loop (W) attached to mounting bracket (A) and out end of threaded pipe inside junction box. Carefully pull fixture wires so they are easily accessible to connect to house wires.
- To aid in connecting fixture wires to house wires, temporarily connect second locking link (G) to link at end of chain (H) and to screw collar loop (W).
- Slightly loosen ground screw on mounting bracket (A). Do not completely remove ground screw. Wrap house ground wire (copper) around ground screw, leaving enough ground wire to attach to fixture ground wire. Twist end of fixture ground wire and end of house ground wire together. Twist wire nut (C) onto ends of wires. Completely tighten wire nut (C). Reference chart below for correct wire connections.
Connect Supply (House) Ground Copper Wire to:
Bare Copper Wire or,
Bare Silver Wire or,
Green Insulated Wire.Connect Black Lead Supply (House) Wire to: Connect White Neutral Supply (House) Wire to: Black Wire or, White Wire or, *Parallel Cord (Round and Smooth) or, *Parallel Cord (Square and Ridged) or, No printed words on wire insulation or, Printed words on wire insulation or, Insulated Wire (other than green) with Copper Conductor. Insulated Wire (other than green) with Silver Conductor. *When parallel wire (SPT 1 & SPT 2) is used: The lead wire is round in shape or smooth. The neutral wire is square in shape or ridged. 
- Twist end of house lead wire (black) and end of fixture lead wire together. Twist wire nut (C) onto ends of wires. Completely tighten wire nut (C). Twist end of house neutral wire (white) and end of fixture neutral wire together. Twist wire nut (C) onto ends of wires. Completely tighten wire nut (C). Reference chart to the right for correct wire connections.
- Wrap electrical tape (not included) around wire nuts (C) and wires. Ensure wires are securely fastened into wire nuts.
- Carefully push all wires and wire nuts into junction box.

- Remove second locking link (G) from last link on chain (H) and screw collar loop (W).
- Raise canopy (D) up to ceiling. Pass hole in canopy (D) over screw collar loop (W). Position canopy (D) up against ceiling.
- Raise threaded ring (F) up to canopy (D). Screw threaded ring (F) onto screw collar loop (W). Tighten threaded ring (F) to secure fixture to ceiling.
- Attach second locking link (G) to link at end of chain (H). Attach locking link (G) at end of chain (H) to loop on screw collar loop (W).

- Screw recommended bulbs (E12 candelabra bulb type, not included) into sockets. Verify correct bulb wattage marked on socket of fixture.
WARNING: DO NOT exceed maximum bulb wattage. - Raise shade (K) up to fixture. Fit shade (K) inside cage. Align holes along top of shade (K) with holes in bars of cage.
- Thread one thumbscrew (L) into hole in shade and into hole in bar on cage. From inside shade (K), slip one washer (N) over end of thumbscrew (L). Screw threaded cap (M) onto end of thumbscrew (L). DO NOT tighten threaded cap (M) at this time.
- Repeat step 24 to install remaining thumbscrews (L). After all thumbscrews (L) have been installed, fully tighten threaded caps (M).























