FESTOOL OF 1010 REBQ Electric Handheld Router











Symbols
- Warning of general danger
- Warning of electric shock
- Read the operating instructions and safety instructions.
- Wear ear protection.
- Wear protective gloves when changing tools and working with raw materials.
- Wear a dust mask.
- Wear protective goggles.
- Pull out the mains plug
- Do not dispose of it with domestic waste.
- Safety class II
- CE marking: Confirms the conformity of the power tool with the European
- Community directives.
- Tip or advice
- Handling instruction
- Disconnecting the mains power cable
- Connecting the mains power cable
Safety warnings
General power tool safety warnings
WARNING! Read all safety warnings, instructions, illustrations and specifications provided with this power tool. Failure to follow all instructions listed below may result in electric shock, fire and/or serious injury. Save all warnings and instructions for future reference. The term “power tool” in the warnings refers to your mains-operated (corded) power tool or battery-operated (cordless) power tool.
Machine-specific safety notices
- Hold the power tool by insulated gripping surfaces only, because the cutter may contact its own cord. Cutting a “live” wire may make exposed metal parts of the power tool “live” and could give the operator an electric shock.
- Use clamps or another practical way to se cure and support the workpiece to a stable Holding the work by your hand or against the body leaves it unstable and may lead to loss of control.
- Only cutters provided by Festool for this purpose may be mounted on the power The use of other cutters is prohibited due to the increased risk of injury.
- The maximum rotational speed specified on the tool must not be exceeded or the rotational speed range must be observed. Accessories that rotate faster than the per miscible level can rupture.
- Wait until the power tool has come to a complete halt before placing it The insertion tool can get caught and lead to a loss of control of the power tool.
- In the case of materials to be processed which can become statically charged or lead to static charging, a dissipative overall system consisting of an antistatic suction hose (AS) and extraction mobile must be used.
- Do not clamp tools with an unsuitable shank diameter in the clamping collet.
- Only use tools that meet standard
- EN 847-1. All Festool routing tools fulfil these requirements.
- The clamping collet and locking nut must not show any signs of damage
- Do not use cracked or deformed router bits.
- Ensure that the router bit is seated firmly and that it runs perfectly.
- Wear suitable personal protective equipment:
- Ear protection, protective goggles,
dust mask for work that generates dust, protective gloves for working with rough materials and for changing tools. - Only for AS/NZS: The tool shall always be supplied via residual current device with a rated residual current of 30 mA or less.
Sawing aluminum
When sawing aluminum, the following measures must be taken for safety reasons:
- Install an upstream residual-current circuit breaker (RCD, PRCD).
- Connect the power tool to a suitable dust extractor with an antistatic suction hose.
- Regularly clean dust deposits from the motor housing on the power tool.
- Wear protective goggles.
Emission levels
The levels determined in accordance with EN 62841 are typically:
- Sound pressure level LPA = 92 dB(A)
- Sound power level LWA = 103 dB(A)
- Uncertainty K = 3 dB
CAUTION
Noise generated when working Risk of damage to hearing
- Use ear protection.
Vibration emission level ah (vector sum for three directions) and uncertainty K measured in
accordance with EN 62841:
ah = 5.5 m/s2
K = 2 m/s2
The specified emission levels (vibration, noise)
- Are used to compare machines.
- They are also used for making preliminary estimates regarding vibration and noise load during operation.
- They represent the primary applications of the power tool.
CAUTION
The emission values may deviate from the specified values. This is dependent on how the tool is used and the type of workpiece being machined.
- The actual load during the entire operating cycle must be evaluated.
- Depending on the actual load, suitable protect measures must be defined in order to protect the operator.
Intended use
The router is designed for routing wood, plastics and wood-based materials. If the cutters are used for the intended purpose outlined in the Festool Sales, they may also be used to machine aluminum and plasterboard. This power tool may only be used by experts or instructed persons.
The user is liable for improper or non-intended use.
Technical data | |
| Router OF 1010 REBQ, OF 1010 REQ | |
| Power 1010 W | |
| Speed 9500–23,000 rpm | |
| Max. speed (no-load) 26,000 rpm | |
| Quick depth adjustment | |
| Fine depth adjustment 8 | |
| Drive shaft connecting M16 x 1.5 thread | |
| Cutter diameter Max. 35 mm | |
| Weight as per EPTA 3.1 kg procedure 01:2014: | |
Parts of the device
- Router table
- Stepped stop
- Depth stop
- Locking for trammel unit
- Nut
- Spindle stop
- Handle/Height adjustment
- Clamp lever
- Fine adjuster
- Depth stop indicator
- Speed adjusting wheel
- Locking button
- Handle
- On/off switch
- Extractor connector
- Grooves for guide bars/parallel side fence
The specified illustrations appear at the beginning of the Operating Instructions. Accessories shown or described are not always included in the scope of delivery.
Commissioning
WARNING
Heating of the Plug it connection if bayonet fitting is not completely locked
Risk of burns
- Before switching on the power tool, make sure that the bayonet fitting at the mains cable is closed fully and locked.
- Connect and disconnect the mains power cable – [2].
Switching on/off
The switch [1-14] is an on/off switch (press = ON, release = OFF).
The on/off switch with the locking button [1-12] can be engaged to operate in continuous mode. Press the on/off switch again to release the lock.
Settings
WARNING Risk of injury, electric shock
- Always disconnect the mains plug from the socket before performing any work on the machine.
Electronics
Speed adjustment
You can continuously adjust the speed within the speed range using the adjusting wheel [1-11] (see “Technical data”).
This enables you to optimize the cutting speed to suit each surface.
| Material | Cutter diameter | [mm] | Recommended cutter material | |
| 3 – 14 | 15 – 25 | 26 – 35 | ||
| Rotary control setting | ||||
| Hardwood | 6 – 4 | 5 – 3 | 3 – 1 | HW (HSS) |
| Softwood | 6 – 5 | 6 – 3 | 4 – 1 | HSS (HW) |
| Laminated chipboard | 6 – 5 | 6 – 3 | 4 – 2 | HW |
| Plastic | 6 – 4 | 5 – 3 | 2 – 1 | HW |
| Aluminum | 3 – 1 | 2 – 1 | 1 | HSS (HW) |
| Plaster board | 2 – 1 | 1 | 1 | HW |
Temperature cut-out
Electronic temperature monitoring is integrated in order to protect against overheating (motor burnout). The safety electronics system switches off the motor before a critical motor temperature is reached. Let the machine cool down for approximately 3–5 minutes before using it and/or fully loading it again. The cool-down time is significantly reduced when the machine is running (no-load).
Restart protection
The built-in restart protection prevents the power tool from starting up again automatically if the power is disconnected when the on/off switch is pressed. In this case, the power tool must be switched off and then switched back on again. Due to the built-in restart protection, the power tool cannot be switched on and off via an external switch module.
Brake
The OF 1010 REBQ has an electronic brake which brings the spindle with tool to a standstill within approx. 2 seconds of the tool being switched off.
Changing tools
CAUTION Risk of injury from hot and sharp insertion tool.
- Do not use any blunt or faulty insertion tools.
- Wear protective gloves when handling an insertion tool.
To change tools, place the power tool on its side.
Inserting the tool
- Insert the routing tool into the open collet as far as possible or at least up to the mark on the router shank.
- Turn the spindle until the spindle stop [1-6] engages when pressing and the spindle locks.
- Tighten the nut [1-5] using an open ended spanner (WAF 19).
Removing the tool
- Turn the spindle until the spindle stop [1-6] engages when pressing and the spindle locks.
- Undo the nut [1-5] using an open ended spanner (WAF 19) until you can feel resistance. Overcome the resistance by continuing to turn the open ended spanner.
- Remove the router.
Changing the collets
Collets are available for the following shaft diameters: 6.0 mm; 6.35 mm; 8.0 mm (See Festool catalogue or online at www.festool.com for the order numbers)
- Completely unscrew the nut [1-5] and remove it together with the collet.
- Only insert a new collet into the spindle if a nut is fitted and engaged.
- Gently screw in the nut. Do not tighten the nut if no cutter is inserted.
Setting the routing depth
The routing depth is set in three steps:
- Set the zero point, see 7.5.
- Specify the routing depth, see 7.6.
- Clamp the routing depth, see 7.7.
Setting the zero point
- Release the clamp lever [1-8] so that the depth stop [1-3] can move freely.
- Position the router with the router table [1-1] on a level surface. Open the rotary knob [1-7] and push the power tool downwards until the cutter sits on the surface.
- Clamp the power tool in this position by closing the rotary knob [1-7].
- Press the depth stop [1-3] against one of the three fixed stops of the rotatable stepped stop [1-2].
A hex key can be used to individually adjust the height of each fixed stop. - Push the indicator [1-10] downwards so that it points to 0 mm on the scale. If the zero position is incorrect, this can be corrected using the screw on the indicator [1-10].
Specifying the routing depth
The required routing depth can be specified using either quick depth adjustment or fine depth adjustment.
Quick depth adjustment
- Pull the depth stop [1-3] upwards until the indicator [1-10] points to the required routing depth.
- Clamp the depth stop in this position using the clamp lever [1-8].
Fine depth adjustment
- Clamp the depth stop using the clamp lever [1-8].
- Set the required routing depth by turning the adjusting wheel [1-9].
Turning the adjusting wheel by a mark changes the routing depth by 0.1 mm. A full rotation changes the routing depth by 1 mm. The maximum adjustment range for the adjusting wheel is 8 mm.
Clamping the routing depth
- Open the rotary knob [1-7] and push the power tool down until the depth stop touches the fixed stop.
- Clamp the power tool in this position by closing the rotary knob [1-7].
WARNING
Heath hazard posed by dust
- Always work with an extractor.
- Comply with national regulations.
CAUTION! If an anti-static suction hose is not used, static charge may occur. The user may receive an electric shock and the electronics of the power tool may be damaged.
A Festool dust extractor with an extractor hose diameter of 36 mm or 27 mm (36 mm recommended due to the reduced risk of clogging) can be connected to the extractor connector [1-15].
Chip catcher KSF-OF
KSF-OF chip catcher [3-1] (partly accessory) consists of a hood and cover and can increase the efficiency ot the extraction when routing edges. Installation is similar to that of the copying ring., the cover is attached at the top.
The hood can be cut off along the grooves [3-2] using a hacksaw and can thus be reduced in size. The chip catcher can then be used for interior radiuses up to a minimum radius of 40 mm.
Working with the electric power tool
When working on the machine, observe all of the safety warnings that are listed at the start as well as the following rules:
- Only guide the power tool towards the workpiece when it is switched on.
- Always secure the workpiece in such a way that it cannot move during machining.
- When working, always hold the power tool with both hands on the handles [1-7] + [1-13]. This is a prerequisite for precise work and is essential for plunge-cutting. Plunge into the workpiece slowly and evenly.
- When routing, ensure that the power tool’s feed direction is the same as the tool’s cutting direction, see figure [5].
Freehand routing
Freehand routing is the method normally used for lettering or shapes, and for routing edges using cutters with a guide pin or ring.
Routing with a parallel side fence
For work running parallel to the workpiece edge, the supplied parallel side fence [6-4] can be used.
WARNING Risk of injury
Upon installation on the wrong side, the router may touch the parallel side fence.
- Only install the parallel side fence on the side of the power tool depicted in the image [6].
- Clamp the two guide rods [6-7] to the parallel side fence using the two rotary knobs [6-2].
- Insert the guide rods into the grooves of the router table to the required extent and clamp them using the rotary knob [6-3]. This distance can be adjusted faster and more precisely with the fine precision adjustment [6-6] available as an accessory:
- Turn the adjusting screw [6-5] in the plastic part of the guide.
- Clamp the guide rods with the rotating knobs [6-1] in the precision adjustment.
- Loosen the rotating knobs [6-2] of the parallel guide.
- Set the desired distance with the adjusting screw and retighten the rotating knobs. For better extraction, a special suction hood is available as an accessory for the side stop
Routing with the FS guide system
The guide system (available as an accessory) makes it easier to route straight grooves.
- Secure the guide rail adapter [7-4] to the router table using the guide rods [7-3] of the parallel side fence.
- Secure the guide rail [7-6] to the workpiece using fastening clamps [7-7].
Ensure that there is a safety distance X of (see figure [7]) 5 mm between the front edge of the guide rail and the cutter, or the groove. - Place the guide rail adapter on the guide rail, as shown in figure [7]. To ensure that the router stop can be guided without play, use a screwdriver through the top openings [7-5] on the side to adjust the two guidance jaws.
- Tighten the height-adjustable support [7-2] on the threaded hole of the router table so English
that the underside of the router table is parallel to the workpiece surface.
When working with marking-up lines, the marks on the platen [7-1] and the scale on the support [7-2] show the center axis of the cutter.
For a more precise setting, a fine adjustment is available as an accessory for the guide system.
Routing with the beam compasses
With the SZ-OF 1000 beam compasses (accessory) you can make circular cuts or segments of circles with diameters from 153 to 760 mm.
- The beam compasses are pushed into the front groove of the platen until the desired radius is set.
- Lock the beam compasses with the rotating knob [1-4].
To prevent the tip of the compasses from making a hole in the workpiece, fix a thin board at the centre point by means of double-sided adhesive tape.
Copy cutting
A copying ring or the copying device is used to exactly reproduce existing workpieces (accessories).
Copying ring
When choosing the size of the copying ring [5-1], ensure that the cutter [5-2] being used fits through its opening.
- Secure the copying ring to the router table from below in place of the covering ring [4-1].
Excess Y (figure [5]) of the workpiece to the template is calculated as follows:
Y = (copying ring diameter – cutter diameter)/2 The copying ring can be exactly centered with the ZD-OF centering mandrel (accessory).
Copying device
The copying device requires the angle arm WA-OF [8-2] and the copier scanning set KT-OF, consisting of a roller support [8-6] and three copying rollers [8-7].
- Use the rotary knob [8-1] to tighten the angle arm to the required height on the threaded hole [8-3].
- Fit a copying roller to the roller support and use the rotary knob [8-5] to tighten it on the angle arm. Make sure that the copying roller and the router have the same diameter.
- The distance between the feeler roller and the cutter axis can be adjusted by turning the adjusting wheel [8-4].
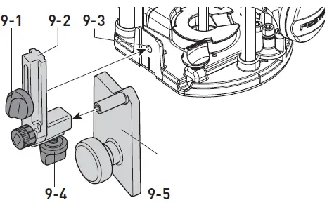
Edge band trimming
Protruding edge bands can be flush trimmed with the angle arm WA-OF [9-2] in connection with the guide plate UP-OF [9-5] (accessory).
- Screw the angle arm into the platen’s threaded bore [9-1] with the rotating knob [9-3].
- Bolt the guide plate to the angle arm with the rotating knob [9-4].
- Adjust the milling depth so that this is equal to the thickness of the edge band + 2 mm.
- Move the guide plate [10-1] as close as possible to the cutter by loosening the rotating knob [10-3].
- Adjust the depth of the guide plate with the adjusting wheel [10-2] so that during trimming a few decimillimetres of the edge band are left protruding which can then be sanded down by hand.
Service and maintenance
WARNING Risk of injury, electric shock.
- Always pull the mains plug from the socket before performing any servicing and maintenance work.
- All maintenance and repair work which requires the housing to be opened should always be carried out by an authorized service workshop.
Customer service and repairs must only be carried out by the manufacturer or service workshops. Find the nearest address at:
www.festool.co.uk/service
Always use original Festool spare parts. Order no. at:
www.festool.co.uk/service
The tool is equipped with special self-disconnecting carbon brushes. If they wear out, the power supply is disconnected automatically and the tool stops.
Observe the following instructions:
- Damaged safety devices and components must be repaired or replaced in a recognized specialist workshop, unless otherwise indicated in the operating instructions..
- To ensure constant air circulation, always keep the cooling air openings in the housing clean and free of blockages.
Accessories
Always use original Festool tools and accessories. Using low-quality tools or accessories from other manufacturers may increase the risk of injury and seriously unbalance the machine, decreasing the quality of the working results and accelerating power tool wear. Refer to the Festool catalogue for the order numbers of accessories and tools or find them online at www.festool.co.uk.
Environment
Do not dispose of the device in the household waste! Recycle devices, accessories and packaging. Observe applicable national regulations.
EU only: In accordance with the European Directive on waste electrical and electronic equipment and implementation in national law, used power tools must be collected separately and handed in for environmentally friendly recycling.
Information on REACH: www.festool.com/reach
General information
Imported into the UK by
Festool UK Ltd
1 Anglo Saxon Way
Bury St Edmunds
IP30 9XH
Great Britain
References
stool.com
Buy tools on Tool.com, wholesale tools online | Tool.com
Festool United Kingdom
Festool customer service | Service for you and for your tool
Festool Worldwide - Tools for the toughest demands
Festool Worldwide - Tools for the toughest demands
Responsibility for the environment at Festool
Service
Festool ÄŒeská republika
Festool ÄŒeská republika
Elektrowerkzeuge für professionelle Handwerker | Festool Deutschland
Elektrowerkzeuge für professionelle Handwerker | Festool Deutschland
Festool Kundenservice | Service für Sie und Ihr Werkzeug
Festool Denmark
Festool kundeservice | Service til dig og dit værktøj
Festool España | Fabricando Herramientas Profesionales desde 1925
Festool España | Fabricando Herramientas Profesionales desde 1925
Nuestros Servicios Personalizados | Rendimiento sin concesiones ? Festool
Festool Suomi
Festool Suomi
Festool-asiakaspalvelu | Sinun ja työkalusi palveluksessa
Festool France
Festool Services | Le service après-vente pour vous et votre machine
Festool Italia
Servizio clienti Festool | Assistenza per te e per i tuoi utensili
Festool Netherlands
Festool-klantenservice | Service voor u en uw gereedschap
Festool Polska
Odpowiedzialność za środowisko w Festool
Obsługa klienta Festool | Serwis dla Ciebie i Twojego narzędzia
Os nossos grupos de produtos | Ferramentas da Festool ?
Os nossos grupos de produtos | Ferramentas da Festool ?
Festool РоÑÑиÑ
Festool Sweden
Festool Kundservice | Service för dig och dina verktyg


















