FESTOOL OF 1400 EB Router
Product Overview
EC-Declaration of Conformity. We declare under our sole responsibility that this product is in conformity with all relevant provisions of the following directives including their amendments and complies with the following standards:
Festool GmbH
Wertstr. 20, D-73240 Wendlingen GERMANY Wendlingen, 2017-08-08
Wolfgang Zondler
Head of Research, Development and Technical Documentation
Ralf Brandt
Head of Standardization & Approbation
- im defi nierten Seriennummer-Bereich (S-Nr.) von 40000000 -49999999
- in the specifi ed serial number range (S-Nr.) from 40000000 -49999999 dans la plage de numéro de série (S-Nr.) de 40000000 – 49999999
Router
| Technical data | OF 1400 EBQ/OF 1400 EQ |
| Power | 1400 W |
| Speed (no load) | 10000 – 22500 rpm |
| Quick height adjustment | 70 mm |
| Fine height adjustment | 8 mm |
| Drive shaft connection of the spindle | M22x1.0 |
| Router diameter | max. 63 mm |
| Weight (excluding cable) | 4.5 kg |
| Degree of protection | / II |
The specified illustrations can be found at the beginning of the operating instructions.






Intended use
The routers are designed for routing wood, plas-tics and similar materials.
Aluminium and plasterboard can also be proc-essed with corresponding cutters such as are listed in the Festool catalogues.
The user is liable for damage and injury resulting from incorrect usage!
Safety instructions
Safety rules
WARNING! Read all safety warnings and all instructions. Failure to follow the warn-ings and instructions may result in electric shock, fi re and/or serious injury.
Save all warnings and instructions for future reference.
The term „power tool“ in the warnings refers to your mains-operated (corded) power tool or battery-operated (cordless) power tool.
Tool-specific safety rules
- Hold power tool by insulated gripping surfaces, because the cutter may contact its own cord. Cutting a „“live““ wire may make exposed metal parts of the power tool „“live““ and could give the operator an electric shock.
- Use clamps or another practical way to secure and support the workpiece to a stable platform. Holding the work by your hand or against the body leaves it unstable and may lead to loss of control.
- Festool electric power tools should only be installed in work benches specially designed by Festool. The electric power tool may become unsafe and cause serious accident if installed in benches from other manufacturers or self-manufactured work benches.
- Do not exceed the maximum speed specifi ed on the tool and/or keep to the speed range.
- The clamping collet should only be used to clamp tools with a shank diameter appropriate for the collet.
- Check that the cutter is fi rmly fi tted and runs freely.
- The clamping collet and union nut must show no signs of damage.
- Cracked or distorted cutters must not be used.
- Wear suitable protection such as ear protection, safety goggles, a dust mask for work which gener-ates dust, and protective gloves when working with raw materials and when changing tools.
Noise and vibration information
The typical values determined in accordance with EN 60745 are:
- Sound-pressure level: 82 dB(A)
- Sound-power level: 93 dB(A)
- Measuring uncertainty allowance: K = 3 dB
Wear ear protection!
Overall vibration levels (vector sum for three directions) measured in accordance with EN 60745:
- Vibration emission level (3-axis) ah = 3.5 m/s²
- Uncertainty K = 2.0 m/s²
The specifi ed emissions values (vibration, noise)
- are used to compare machines.
- They are also used for making preliminary estimates regarding vibration and noise loads during operation.
- They represent the primary applications of the power tool.
Increase possible for other applications, with other insertion tools or if not maintained adequately. Take note of idling and downtimes of a machine!
Power supply and start-up
The line voltage and frequency must correspond with the data on the ratings plate! Switch (1.13) serves as an On/Off switch (I = On/0 = Off). It may be latched with the locking knob on the side (1.12) for continuous operation. Press-ing the switch again releases the lock. See Fig. 2 for connection and disconnection of the power cable.
Machine settings
Always remove the power supply plug from the socket before carrying out any work on the machine.
Electronics
Do not operate the tool if the electronics are faulty as this can lead to the tool operating at excessive speeds. If the start-up is not smooth or speed adjustment is not possible, this indicates that the electronics are faulty.
The OF 1400 EBQ, OF 1400 EQ features full-wave electronics with the following properties:
Smooth start-up
The smooth start-up ensures the router starts up jolt-free.
Speed adjustment
You can regulate the speed steplessly between 10000 and 22500 min-1 using the adjusting wheel (1.10). This enables you to optimise the cutting speed to suit the material:
|
Material | Routing tool diameter [mm] 10 -25 25 – 40 40 – 60
Adjusting wheel setting | Recommended cutting material | ||
| Hardwood | 6 – 4 | 5 – 3 | 3 – 1 | HW (HSS) |
| Softwood | 6 – 5 | 6 – 3 | 4 – 1 | HSS (HW) |
| Chipboard, coated | 6 – 5 | 6 – 3 | 4 – 2 | HW |
| Plastic | 6 – 4 | 5 – 3 | 2 – 1 | HW |
| Aluminium | 3 – 1 | 2 – 1 | 1 | HSS (HW) |
| Plasterboard | 2 – 1 | 1 | 1 | HW |
Constant speed
The pre-selected speed remains constant whether the machine is in operation or in neutral position.
Temperature control
If the motor temperature becomes too high, the power supply and speed are reduced. The tool then only runs with reduced power to enable rapid cooling by means of the motor ventilation. After cooling down, the tool accelerates again automatically.
Brake (OF 1400 EBQ)
The OF 1400 EBQ has an electronic brake which brings the spindle with tool to a standstill within approx. 2 seconds of the tool being switched off.
Changing tools
You can turn the machine upside down when changing the tool.
- a) Inserting the tool
- Insert the router into the open clamping collet as far as possible, but at least up to the mark (
) on the router shank. If the collet (3a.2) is not vis-ible because it is blocked by the union nut (3a.3), the milling tool (3a.1) must be inserted into the collet at least far enough that the marker
no longer overlaps with the union nut. - Press the switch (1.14) for locking the spindle on the right-hand side.
- Tighten the locking nut (1.15) with a 24 mm open-end spanner.
Note: the spindle lock only blocks the motor spin-dle in one direction of rotation at any one time. Therefore when the nut is undone or tightened, the wrench does not need to be offset but can be moved back and forth like a ratchet.
- Insert the router into the open clamping collet as far as possible, but at least up to the mark (
- b) Removing the tool
- Press the switch (1.14) for locking the spindle on the left-hand side.
- Loosen the locking nut (1.15) using a 24 mm open-ended spanner until a resistance is felt. Overcome this resistance by turning the open-ended spanner even further.
- Remove the cutter.
How to change the clamping collet
Clamping collets are available for following shank diameters: 6.0 mm, 6.35 mm, 8 mm, 9.53 mm, 10 mm, 12 mm, 12.7 mm (order numbers see Festool catalogue or Internet „www.festool.com“.
- Fully unscrew the nut (1.15) and remove from spindle together with the clamping collet.
- Insert a new clamping collet with nut into the spindle and slightly tighten the nut. Do not tighten the nut until a milling cutter has been fitted.
Adjusting the milling depth
The milling depth is adjusted in three stages:
- a) Setting the zero point
- Open the clamping lever (1.6) so that the stop cylinder (1.7) can move freely.
- Place the router with router table (1.9) onto a smooth surface. Open the rotary knob (1.5) and press the machine down until the milling cutter rests on the base.
- Clamp the machine in this position by tightening the rotary knob (1.5).
- Press the stop cylinder against one of the three sensing stops of the pivoted turret stop (1.8). The individual height of each sensing stop can be adjusted with a screwdriver:
- Push the pointer (1.3) down so that it shows 0 mm on the scale (1.1).
If the base position is incorrect, this can be ad-justed with the screw (1.2) on the indicator.
- b) Setting the milling depth
The desired milling depth can be set either with the quick depth adjustment or with the fi ne depth adjustment.- Quick depth adjustment: Pull the stop cylinder (1.7) up until the pointer shows the desired milling depth. Clamp the stop cylinder in this position with the clamping lever (1.6).
- Fine depth adjustment: Clamp the stop cylinder with the clamping lever (1.6). Set the desired milling depth by turning the adjusting wheel (1.4) in. Turn the adjusting wheel to the next mark on the scale to adjust the milling depth by 0.1 mm. One full turn adjusts the milling depth by 1 mm. The maximum adjustment range with the adjusting wheel is 8 mm.
- c) Increasing the milling depth
- Open the rotary knob (1.5) and press the tool down until the stop cylinder touches the sensing stops.
- Clamp the machine in this position by tightening the rotary knob (1.5).
Dust extraction
Always connect the machine to a dust extractor.
- Fit the extractor hood to the router base by fi rst inserting the two tenons (3.1) on the extractor hood into the recesses (3.2) on the router base, then place the extractor hood on the router base and close the lever (3.5).
- To enable fi tting and removing the extractor hood with the router attached, the recess (3.3) in the extractor hood can be opened by turning the segment (3.4). For optimised dust extraction, the recess with the rotating segment must be closed during work.
A Festool dust extractor with an extractor hose diameter of 36 mm or 27 mm (36 mm recom-mended due to the reduced risk of clogging) can be connected to the extractor connector (3.6).
KSF-OF chip catcher
Using the KSF-OF chip catcher (sometimes in-cluded in the scope of delivery), the effi ciency of the extraction can be increased when routing edges.
Installation is similar to that of the copying ring (fi g. 8).
The hood can be cut off along the grooves using a hacksaw and can thus be reduced in size. The chip catcher can then be used for interior radiuses up to a minimum radius of 40 mm.
Working with the machine
Always secure the workpiece in such a manner that it cannot move while being sawed.
- The machine must always be held with both hands by the designated handles (1.5, 1.11).
- For work that generates dust, wear a dust mask.
Always advance the router in the direction op-posite to the direction of rotation of the cutter (counter-routing)! When routing (ensure feed direction of power tool is the same as cutting direction of tool, Fig. 9).
Aluminium processing
When processing aluminium, the follow-ing measures must be taken for safety reasons:
- Pre-connect a residual current circuit-breaker (FI, PRCD).
- Connect the machine to a suitable dust extractor.
- Clean tool regularly of dust accumulations in the motor housing.
Wear protective goggles.
Freehand routing
Freehand routing is the method normally used for lettering or shapes, and for routing edges using cutters with a guide pin or ring.
Routing with the parallel guide
The parallel guide (4.2) supplied can be used for routing parallel to the edge of the workpiece.
- Secure both guide rods (4.2) with the two rotary knobs (4.4) on the side stop.
- Insert the guide rods into the grooves on the router base to the required distance and secure them by turning the rotary knob (4.5).
- Fine adjustment: Unscrew the rotary knob (4.6) to make fi ne adjustments with the adjusting wheel (4.8). The scale ring (4.7) has a 0.1 mm scale for this purpose. If the adjusting wheel is held secure, the scale ring can be turned sepa-rately and set to „Zero“. The millimetre scale (4.1) on the main casing is useful when making larger adjustments. Tighten the rotary knob (4.6) again on completion of any fi ne adjustments.
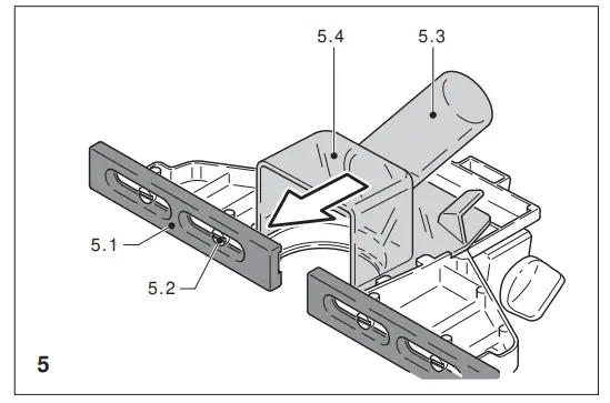
- Adjust both guidance jaws (4.3, 5.1) so that they are approx. 5 mm from the router. To do this, undo screws (5.2) and tighten again after com-pleting the adjustments.
- As shown in Fig. 5, slide the extractor hood (5.4) from behind until it latches into place on the side stop. You can connect an extractor hose with a diameter of 27 mm or 36 mm to the extractor connector (5.3).

Routing with the FS guide system
The guide system, available as an accessory, fa-cilitates routing straight grooves.
- Fasten the guide stop (6.1) to the platen with the guide rails of the parallel guide.
- Fasten the guide rail (6.3) with FSZ screw clamps (6.4) to the workpiece. Make sure that the safety distance X (Fig. 6) of 5 mm between the front edge of the guide rail and cutter or groove is observed.
- Place the guide stop onto the guide rail as shown in Fig. 6. To ensure a backlash-free guidance of the router stop you can adjust two guide cheeks with a screwdriver through the side openings (6.2).
- Screw the height-adjustable support (6.6) of the router table’s threaded bore in such a way that the underside of the router table is parallel to the surface of the workpiece.
When working with marking-up lines, the marks on the platen (6.5) and the scale on the support (6.6) show the centre axis of the cutter.
Fine adjustment
Distance X can be adjusted precisely with the fi ne adjuster (7.5, Accessory).
- Fit the fi ne adjuster (7.5) between the tool and the guide stop on the guide rails.
- Insert the adjusting wheel (7.2) into the guide stop as shown in Fig. 7.
- Screw the adjusting wheel (7.2) into the nut on the fi ne adjuster.
- To adjust distance X, unscrew the rotary knob (7.1) on the guide stop and tighten the rotary knob (7.3) on the fi ne adjuster.
- Adjust to the required distance X by turning the adjusting wheel (7.2), and then tighten the rotary knob (7.1) on the guide stop.
Copy cutting
A copying ring or the copying device is used to exactly reproduce existing workpieces (both avail-able as accessories).
- a) Copying ring
When choosing the size of the copying ring make sure that the cutter used fi ts through the ring’s opening. The distance Y (Fig. 9) between the workpiece and template is calculated by
- Secure the copying ring (8.1) to the router base by inserting both tenons (8.2) into the recesses (8.3).
- To loosen the copying ring, press both buttons (1.16) inwards simultaneously.
- b) Copying device
The angle arm WA-OF (10.2) and copier scanning set KT-OF, consisting of roller holder (10.6) and three copying rollers (10.7), are required for the copying device.- Screw the angle arm at the desired height in the platen’s threaded bore (10.1) with the rotating knob (10.3).
- Fit a copying roller in the roller holder and bolt this to the angle arm with the rotating knob (10.5). Make sure that the copying roller and cutter have the same diameter!
- Turn the adjusting wheel (10.4) to adjust the dis-tance between the copying roller and cutter axis.
Accessories
For your own safety, use only original Festool accessories and spare parts. The accessory and tool order number can be found in the Festool catalogue or on the Internet under „www.festool.com“.
Maintenance and care
Always remove the power supply plug from the socket before carrying out any work on the machine.
All maintenance and repair work which requires the motor casing to be opened may only be carried out by an authorised service centre.
Customer service and repair. Only through manufacturer or service work-shops: Please fi nd the nearest address at: www.festool.com/Service
Use only original Festool spare parts! Order No. at: www.festool.com/Service
The cool air openings in the motor casing must always be kept clean and unobstructed to ensure air circulation.
The tool is fi tted with special motor brushes with an automatic cut-out. When the brushes become worn the power supply is shut off automatically and the tool comes to a standstill.
To alter the position of the clamping lever
- Release the screw.
- Remove the clamping lever and tighten the hexagon screw.
- Insert the clamping lever again in the desired position and lock it with the screw.
Environment
Do not throw the power tool in your household waste! Dispose of machines, accessories and packaging at an environmentally-responsible recycling center. Observe the valid national regulations.
EU only: In accordance with European Directive on waste electrical and electronic equipment and implementation in national law, used electric power tools must be collected separately and handed in for environmentally friendly recycling.
Information on REACh: www.festool.com/reach



) on the router shank. If the collet (3a.2) is not vis-ible because it is blocked by the union nut (3a.3), the milling tool (3a.1) must be inserted into the collet at least far enough that the marker 


















