Homedepot STEP BY STEP FOR BIFOLD DOORS

ROUGH OPENING FOR NEW CONSTRUCTION
The construction of the rough opening for single or double bifold doors should be designed so that the opening conforms to our recommended finished opening dimensions. The finishing of the rough opening can be either a wood frame or drywall because the bifold installation hardware that comes with the bifold can be surface-mounted to either material.
RECOMMENDED FINISHED OPENING DIMENSIONS
This chart allows for a 1/8” (3.2 mm) gap at the top of the bifold and a 1/4” (6.4 mm) space on the sides of the bifold after it has been installed. The installation hardware is adjustable so that you achieve these tolerances. It also allows for clearance over any finished floor covering. Your bifold is purchased on the basis of a nominal size that is slightly larger than the actual size of the bifold.
Standard Finished Opening
Dimensions for 79” Panel Height
- 18” x 80-3/4”
- 24” x 80-3/4”
- 28” x 80-3/4”
- 30” x 80-3/4”
- 32” x 80-3/4”
- 34” x 80-3/4”
- 36” x 80-3/4”
Standard Finished Opening
Dimensions for 77” Panel Height
(width x height)
- 18” x 78-3/4”
- 24” x 78-3/4”
- 28” x 78-3/4”
- 30” x 78-3/4”
- 32” x 78-3/4”
- 34” x 78-3/4”
- 36” x 78-3/4”

NOTE:
The above chart reflects standard finished openings only. It does not indicate stock availability. Not all sizes are available in all markets as stock items. Some sizes are only available through special order.
EXISTING FINISHED OPENING
If your finished opening is non-standard and you cannot fit your bifold into this opening, you will have to contact your dealer so that a custom-sized bifold can be ordered from Masonite®.
HARDWARE:
Masonite bifold are hinged with 1” top track, with top pivot bracket supplied. Hardware packs containing all hardware necessary for installation are polybagged complete with instructions.
WE SUPPLY:
This package contains all the necessary hardware components for a complete installation. For multiple door installations, components are included as shown on package label. TRACK, SNUGGER GUIDE, TOP PIVOTS, BOTTOM PIVOT, JAMB BRACKET, ALIGNERS, SCREWS and DOOR PULL. (HINGES are already installed on doors.)
NOTE:
If your hardware package is different from the above, follow the instructions on the hardware package. Door panels are specified on package chart.
YOU SUPPLY:
Screwdriver, tape measure, hacksaw, wood saw drill, and 3/16” (5 mm.) drill bit.
How to Install your Bifold Doors
Please read the complete instructions carefully before you start the installation. All instructions apply to any size of folding door installation. The same instructions also apply to all types of door panels.
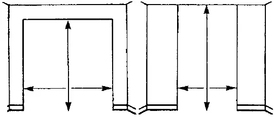
- Measure the exact height and width of the finished opening.
- Finished Opening
________________ high ________________ wide
- Finished Opening
- Cut track
If necessary, cut the track to 3 mm (1/8”) less than the width of the finished opening. Use a fine tooth hacksaw.
- Install track
Ensure that the pivot bracket in the track is at the side that you prefer your doors to open toward. Now, fasten the track along the center line of the header, using the screws provided.
- Tap in pivots
Tap top pivots and bottom pivot into place. Several light taps directly on top of the pivot should seat it properly.
Note: Universal pivots are also sold separately.
- Install jamb bracket
Place the jamb bracket, tight to the floor, so that the center hole of the bracket is plumb with a hole in the top pivot bracket (in track). Fasten to side jamb of opening, using screws provided. It may be necessary to remove the existing baseboard to ensure a flush fit.
- Install the pivot door panel
Install the door by inserting the top pivot into the pivot bracket in the track. Lift the door and seat bottom pivot into the jamb bracket.
- Install snugger guide
Insert snugger guide into the track. Depress guide pivot and position under track and release so guide pivot is securely positioned in track.
- Adjust door
for height Lift the door and remove the bottom pivot from the jamb bracket. Rotate the bottom pivot, as required, to adjust to the proper height. Rotate clockwise to raise the door; counter-clockwise to lower it. Do not attempt to turn pivot while engaged in the jamb bracket.
- Adjust door to be plumb
Lift door and slide bottom pivot into the desired position. Using a screwdriver, loosen the screw in the top pivot bracket and slide it until the door is plumb. Tighten the screw in the top pivot bracket.
- Door pull
Drill hole for door pull in the center of guide door panel at a suitable height. NOTE: For raised panel bi-folds, placement may vary by profile.
- Attach aligners
For 4-panel installation only. Attach aligners to the back of guide door panels, approximately 12” (30cm) from the floor. Adjust in or out in slotted holes until doors “snap” closed. Tighten screws.
- Adjustment for 4-panel installation
On 4-panel installation, doors may be “snugged” independently, if desired. Drive a screw partially into the track at the center of the opening to act as a stop for the two snugger guides.
- Cross-section and trim options
Note: For the best performance of your bifold doors, the track should not be painted. If you wish, a silicone lubricant may be applied for an even smoother operation.





























