
ALF-CMW 101 User Manual
Please refer this document before using
Product overview
The CMW101 is a Full HD 1080P camera with a 120° wide angle lens. It comes with a 2.4 GHz wireless speaker microphone and is suitable for small and medium size conference scenes, personal business or home.
• Component
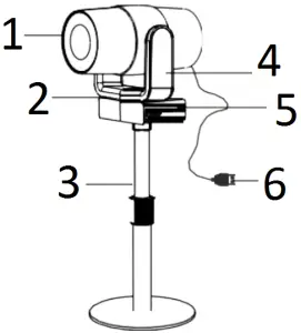
Part 1: HD network camera

- Lens
- Horizontal shaft
- Adjustable base (option)
- Lens clamp
- Clamp
- USB cable
Part 2: 2.4G wireless speaker phone

- Loudspeaker
- Bottom right Indicator
- Loudspeaker mute
- vol –
- Power
- vol+
- Microphone mute
- Bottom left indicator
- Microphone
- 3.5mm audio interface
- Mini USB interface
- Triangular Indicator
LED Indicator
- Blue triangular Indicator: normal working status
- Blue bottom right indicator: loudspeaker mute
- Blue bottom left indicator: microphone mute
- Blinking blue bottom left indicator: volume adjustment
- Blinking orange bottom left indicator: low power
• Application
CMW101 can be used once you have connected the camera to your PC via USB and switched on the speaker microphone. To switch off you can long press the off button on the speaker.
2.4G

2.4G
2.4G
• Operation
• When connecting the USB to your computer, the following will appear in the lower right corner of the computer when you plug it in for the first time.

• After the device driver has installed successfully, computer terminal will have the following prompt

• If you need to reconfirm whether the device has installed successfully, you can open the computer terminal Attribute
– click” device manager “- click” image device “to see the following device item and then you can use instant messaging software and video

• If the color and resolution of video are found to be abnormal, you can adjustment the setting using software called “Amcap” to check. Check the output size of the white balance and video for the corresponding values.
Check the white balance option with a default value of 4600

Video output size, select 1920*1080

Or change the camera effect to “restore the default effect” in instant messaging software. If it still doesn’t resolve the problem, please contact our after-sales service for technical support.



















