

Quick Installation Guide
Nuclias Connect AC1200 Wave 2 Outdoor Access Point
DAP-3666
D-Link
Additional documentation is also available on the D-Link website
Before You Begin
This installation guide provides instructions for installing the DAP-3666 on your network. Additional documentation is also available on the D-Link support website.
- Nuclias Connect Manual: For additional information and instructions on how to configure the device using Nuclias Connect.
- DAP-3666 User Manual: For additional information and instructions on how to configure the device using the web user interface.
Package Contents
This DAP-3666 package includes the following items:
- DAP-3666 Access Point
- Mounting Plate and Hardware
- Grounding Wire
- Quick Start Guide
If any of the above items are damaged or missing, please contact your local D-Link reseller.
Note: To power the unit, use an 802.3af or 802.3at PoE Switch or PoE Injector.
System Requirements
- Computers with Windows®, Macintosh®, or Linux-based operating systems with an installed Ethernet Adapter
- Internet Explorer 11, Safari 7, Firefox 28, or Google Chrome 33 and above (for configuration)
Hardware Overview
LED Indicators

| # | LED | Description |
| 1 | Power/Status | Green (Solid) – Device operational Red (Flashing) – Device booting up/Device malfunctioned Red (Solid) – Device boot up has failed |
Table 1: LED Description
Interface Connectors

| # | Connector | Description |
| 1 | Mounting Lock | Connector for the mount screw. |
| 2 | Reset | Press and hold for 10 seconds to factory reset the device. |
| 3 | LAN2 Port | Gigabit RJ-45 port for data. |
| 4 | LAN1(PoE) Port | Gigabit RJ-45 port for data and Power over Ethernet (PoE) power. |
Table 2: Interface Description

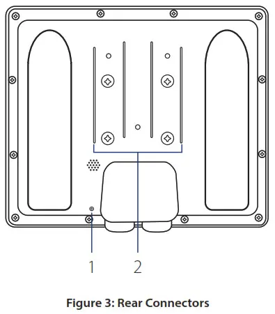
| # | Connector | Description |
| 1 | Grounding Wire | Connector for the grounding wire. |
| 2 | Wall/Pole Mount | Mount to connect to the mounting plate on a wall or a pole. |
Table 3: Interface Description
Installation
The DAP-3666 can be powered using one of the following two methods:
Using Power over Ethernet (PoE)
- Use a standard Ethernet cable to connect the LAN1(PoE) port on the DAP-3666 to a PoE power source device such as an 802.3af or 802.3at PoE switch or PoE injector.
Configuration
Using Nuclias Connect
The DAP-3666 is designed to be managed through Nuclias Connect. Refer to the Nuclias Connect Manual for detailed configuration instructions.
Manual Configuration
Note: D-Link recommends manually configuring the device before mounting it. The management computer, DHCP server and DAP-3666 must be in the same subnet.
Use one of the following methods to access the web user interface:
Connecting through Ethernet
- Use an Ethernet cable to connect the DAP-3666 to the management computer, or to the switch or router the management computer is connected to.
- Manage the access point from a computer. Enter dap3666.local in the address field of your browser.
- Log in to the administration user interface. The default login information is
Username: admin
Password: admin
Connecting Wirelessly
- Connect the management computer to the default SSID of the DAP-3666, “dlink”.
- Manage the access point from a computer. Enter dap3666.local in the address field of your browser.
- Log in to the administration user interface. The default login information is
Username: admin
Password: admin
Mounting

- Connect an Ethernet Cable to the LAN1(PoE) port on the DAP-3666. Use the LAN Port Waterproof Enclosures to seal the ports.
Mounting on a Pole
- Secure mount base to the pole with the two stainless tie back strap sets. Ensure that the tie back is locked securely.

- Align and slide the DAP-3666 down so that the mounting plate securely locks to the DAP-3666.
Mounting on a Solid Wall

- Use the mounting plate to mark the location where to drill the holes in the wall.
- Drill holes on the markings and place the included anchors into the drilled holes.
- Align and place the mounting plate on top of the anchors and use the included screws to secure the mounting plate to the surface.

- Align and slide the DAP-3666 down so that the mounting plate securely locks to the DAP-3666.
Securing the Mount Screw and Connecting the Grounding Wire
- Use the included mount screw (hexagonal hole) to lock the DAP-3666 to the pole/wall mount.

- With the included hexagon socket spanner, tighten the mount screw until the DAP-3666 is secured.

- A grounding wire is recommended to protect your device from lightning strikes and the buildup of static electricity. Attach the grounding wire to the DAP-3666 using the included screw.

- Tighten the grounding wire (green-and-yellow, 18AWG) to the DAP-3666 until it is securely attached.

- Attach the other end of the grounding wire to either the wall or pole mount. Ensure that the wall or pole mount is connected to an electrical ground.
TECHNICAL SUPPORT dlink.com/support
Appendix – Statements
ErP Power Usage
This device is an Energy Related Product (ErP) that automatically switches to a power-saving Network Standby mode within 1 minute of no packets being transmitted. It can also be turned off through a power switch to save energy when it is not needed. Network Standby: 5.84 watts
Federal Communication Commission Interference Statement
This device complies with Part 15 of the FCC Rules. Operation is subject to the following two conditions: (1) This device may not cause harmful interference, and (2) this device must accept any interference received, including interference that may cause undesired operation.
This equipment has been tested and found to comply with the limits for a Class B digital device, pursuant to Part 15 of the FCC Rules. These limits are designed to provide reasonable protection against harmful interference in a residential installation. This equipment generates, uses and can radiate radio frequency energy and, if not installed and used in accordance with the instructions, may cause harmful interference to radio communications. However, there is no guarantee that interference will not occur in a particular installation. If this equipment does cause harmful interference to radio or television reception, which can be determined by turning the equipment off and on, the user is encouraged to try to correct the interference by one of the following measures:
- Reorient or relocate the receiving antenna.
- Increase the separation between the equipment and receiver.
- Connect the equipment into an outlet on a circuit different from that to which the receiver is connected.
- Consult the dealer or an experienced radio/TV technician for help.
FCC Caution:
- Any changes or modifications not expressly approved by the party responsible for compliance could void the user’s authority to operate this equipment.
- This transmitter must not be co-located or operating in conjunction with any other antenna or transmitter.
Radiation Exposure Statement:
This equipment complies with FCC radiation exposure limits set forth for an uncontrolled environment. This equipment should be installed and operated with minimum distance 20cm between the radiator & your body.
Note: The country code selection is for non-US model only and is not available to all US model. Per FCC regulation, all WiFi product marketed in US must fixed to US operation channels only.
Product and Warranty Information
To find out more about D-Link Nuclias product or marketing information, please visit the website http://www.dlink.com or https://www.nuclias.com.
The D-Link Limited Lifetime Warranty information is available at http://www.dlink.com/warranty
VCCI-B

Ver. 1.01(WW)_130x183
2020/01/17
5300-00007657-01W

























