Schwank MonsterFans Style

Overview
Components
Illustrations may be changed without notice. All dimensions and specifications are approximate and drawings are not to scale. Specifications are subject to change without notice.

Technical Data
| Conformity | CE | Low Voltage [2006/95/EC] & EMC [2004/108/EC] Directives EN61000-6-2:2005, EN61000-6-4:2007 IEC 60335-2-80:2015 IEC 60335-1:2015 |
| Approvals | UL61800-5-1 CSA C22.2 No113 | |
| Input Voltage Phase Imbalance | ≤2% | |
| Input Voltage | 110-240 VAC | |
| Input Current | 4.6 @ 120VAC, 2.5A @ 240VAC | |
| Input Frequency | 50-60Hz | |
| Supported Power Systems | TT TN | For central ground systems, operation is permitted without restrictions. |
| Humidity | ≤ 95% Non-condensing | |
| Temperature Range | Transport | -40°F…+160°F [40°C…+70°C] |
| Storage | -40°F…+160°F [40°C…+70°C] | |
| Operation | -40°F…+120°F [40°C…+50°C] [with speed derating above +104°F] | |
| Installation Altitude | 0-13,000 ft [0-4000 m] above sea level | [with 5%/3000ft current derating above 3000ft] |
| Earth Leakage Current | <=9 mA to PE | |
| Power Conductor Size [Cord] | Minimum 16AWG 3 Conductors rated 300VAC, use Copper Conductors only. For permanent connection only. | |
| Max. Permissible Control Ca- ble Length | 100 ft un-shielded | |
| Enclosure | IP54/ NEMA 3 | |
| Protection Measures Against | Short circuit, earth fault, phase loss, over voltage, under voltage, motor stalling, over temperature, motor overload, communication loss | |
| Environment | For indoor/outdoor use | |
| Thermal Overload Protection | Drive provides internal overload protection for the motor | |
| Pollution Degree | 2 | |
| Overvoltage Category | Category lll | |
| Supply Earthing System | TN-S | |
| Impulse Voltage | 2500V | |
| Working System Voltage | 150V | |
| Packaged Fan Weight | 98 lbs [44.5 kgs] | |
| Overall Fan Weight [no mount] | 85 lbs [38.5 kgs] | |
| LED Light Kit Weight | 1.542 lbs [0.669 kgs] | |
Fusing and Thermal Limiting
Fuses
It is recommended that the following fuses for protecting the equipment and subject to local authority:
For 220-240 VAC use a fast blow fuse rated 5 Amps.
For 110-120 VAC use a fast blow fuse rated 10 Amps.
Thermal Limiting
The Fan System is designed to monitor motor and controller temperatures and, in the event, that operating temperatures exceed control limits, fan speed will automatically reduce until the system is within temperature limits. No user intervention is required.
Safety
Electrical Safety
![]() | Warning! Ignoring the following instructions can cause physical injury or death, or damage to the equipment. |
![]() | Warning! Only qualified electricians are allowed to install the drive and connections to the motor! |
Never work on the drive, motor cable or motor when input power is applied. After disconnecting the input power, always wait for 5 minutes to let the intermediate circuit capacitors discharge before you start working on the drive, motor or motor cable.
Do not work on the control cables when power is applied to the drive or to the external control circuits. Externally supplied control circuits may carry dangerous voltage even when the input power of the drive is switched off.
The Touch Current of the Protective Earthing Conductor could reach up to 9mA AC.
General Safety
![]() | Warning! To reduce the risk of fire, electric shock, or injury to persons, observe the following: |
- Installation work and electrical work must be done by qualified person[s] in accordance with all applicable codes and standards, including fire-rated construction.
- The installation is to be in accordance with the National Electrical Code, CSAC22.1, ANSI/NFPA 70, and local codes.
Clearances
- Open ceiling, center of fan to roof deck for ideal operating performance without compromising overall fan performance
- Min 12” [304.8 mm] from fan blade’s leading edge to obstruction above or below fan.
- Min 8” [203 mm] from side of fan to any obstruction
- Min floor to fan leading edge height 120” [3050 mm]

Contractor is responsible for verifying all site conditions to include field dimensions where applicable. If the contractor elects to make any changes without notifying Schwank Ltd. the contractor is responsible for the same. All drawings are to be used as general architectural intent unless otherwise stamped. See Engineer drawings for structural design information. Contractor to ensure that all building departments and authorities are informed in regard to the work and that all permits are attained before commencing work.
Installation Preparation
Preparation
![]() | Warning! To reduce the risk of fire, electric shock, or injury to persons, observe the following: |
- The Fan must be installed with the proper blades to match the fan assembly that are marked to indicate their suitability with this model.
- No other blades can be substituted.
- Check to see if you have all the tools required for the installation.
- Verify that all fan components were received.
- Check drawings and layouts provided to locate where the Fan is to be installed.
- Ensure work area is safe and that all security, policies and procedures for the facility are met.
- Inspect the lift device or mobile platform.
- Each person installing the Fan must use a safety harness at all times.
- Other safety requirements may be required for installation.
- All workspace safety requirements, lock out procedures and hoarding of construction zone for the assembly and installation must be met and followed.
- This appliance is not intended for use by persons [including children] with reduced physical, sensory or mental capabilities, or lack of experience and knowledge, unless they have been supervised or instruction concerning use of the appliance by a person responsible for their safety.
- Children should be supervised to ensure that they do not play with the appliance.
- The mounting of the suspension system shall be performed by a certified contractor or suitably qualified persons.
- DO NOT LIFT, CARRY OR HANG FAN BY POWER CABLE. This could possibly cause the safety disconnect system to disconnect power to the fan.
Tools Required
- Level
- Ratchet or impact gun
- 3/8”, 7/16” and 9/16” Imperial socket to fit bolt heads and nuts
- 7/16” and 9/16” Imperial wrench to fit bolt heads and nuts
- #2 Phillip screwdriver
- Lifting device or scaffolding
- Appropriate personal protective equipment
- Drill [optional]
- Drill bit set up to ½” diameter [optional]
Items Included
- Motor Assembly
- [5] Blades [Optional Color]
- [1] LF/SP Assembly
- [1] Packaged Assembly Hardware
- [1] Packaged HMI Control
- [1] Packaged Wire Harness
- [1] LED Light Kit [Or Lens]
- [1] Hub Cover [Optional Color
Hardware Included
- Mounting Plate
- [2] Mounting Brackets
- [3] 3/8 x 9” B7 Threaded Rod W/ Nut
- [2] Hex Cap Screw 3/8” X 3”
- [5] 3/8 Nylocks
- [10] 3/8 Flat Washers
- [20] ¼ x 5/8 Serrated Flange Head Cap Screw
- [5] #8-32 x 1 3/8 Machine Screw
- [1] 1/8” Cable Clamp
- [1] Studded Mount Assembly
- [8] ¼ Flat Washers
- [8] ¼ Nylocks
- [4] ¼ x 1 ¼ Hex Cap Screw
- [3] 3/8 x 1 ½ Hex Cap Screw
- [1] Stand Off Ring
Note: Illustrations may be changed without notice. All dimensions and specifications are approximate and drawings are not to scale. Specifications are subject to change without notice.
Installation of the Mounting Hardware
Note: Consult a structural engineer before installation. Choose one of the following mounting options for your Fan and follow the corresponding steps. The mounting kits included in the Fan package are glu-lam, purlin, OWSJ and web truss.
![]() | Warning! Use of any other mounting hardware or technique is strictly prohibited. |
Only use mounting hardware/ brackets supplied by Monster Fans Style Series.
Glu-Lam Mount

- From an accessible landmark, on the glu-lam, measure to the center line of the bottom centered hole of the 3 mounting holes.
- Drill the centered bottom mounting hole with a ½” drill bit, so that there will be a minimum of ¾” [19mm] between the top of the mounting bracket deck and the bottom of the glu-lam.
- Place the two mounting bracket faces one on each side of the glu-lam with each mounting bracket bottom deck face inward.
- Before fastening the mounting brackets install four ¼” x 1-1/4” long hex cap screws with ¼” flat washers into mounting bracket deck facing down.
- Using a 3/8” X 9” threaded rod with welded nut and 3/8” nylock nut, suspend the mounting brackets using the center bottom hole only.

- Level the mounting brackets and mark the center of the top two mounting holes. Drill the remaining top two mounting holes.
- Before tightening the structural nuts and bolts, ensure the bracket is plumb and level then proceed with tightening the mounting brackets to the glu-lam.
- Fasten studded mount assembly to four ¼” x 1-1/4” long hex cap screws already in place using four ¼” flat washers and four ¼ nylocks.
- Continue onto page 20 to complete the fan installation.
Purlin Mount

- From an accessible landmark, on the first purlin, measure to the centre line of the bottom centered hole of the 3 mounting holes.
- Drill the centered bottom mounting hole with a ½” drill bit, so that there will be a minimum of ¾” [19mm] between the top of the mounting bracket deck and the bottom of the purlin.
- Place the two mounting bracket faces together with each bracket bottom deck face outward.
- Before fastening the mounting brackets install four ¼” x 1 1/4” long hex cap screws with ¼” flat washers into slots in mounting bracket deck facing down.
- Using a 3/8” X 1-1/2” hex cap screw and 3/8” nylock nut, suspend the mounting brackets using the center bottom hole only.
- Level the mounting brackets and mark the centre of the top two mounting holes. Drill the remaining top two mounting holes.
- Before tightening the structural nuts and bolts, ensure the bracket is plumb and level then proceed with tightening the mounting brackets to the purlin.
- Fasten studded mount assembly to four ¼” x 1-1/4” long hex cap screws already in place using four ¼” flat washers and four ¼ nylocks.
- Continue onto page 20 to complete the fan installation.
OWSJ Mount [Open Web Steel Joist]

- Insert two 3/8” X 9” long thread rod with welded nut through the studded mounting plate pointing upward. Place the studded mounting plate against bottom face of OWSJ and place through bottom web of OWSJ directing the threaded rods between the bottom web angles.
- Place the other mounting plate over top of the bottom web angles and thread two 3/8” nylock nuts onto threaded rod with welded nuts.
- Tighten to sandwich assembly to bottom web of the OWSJ.
- Continue onto page 20 to complete the fan and drop installation.
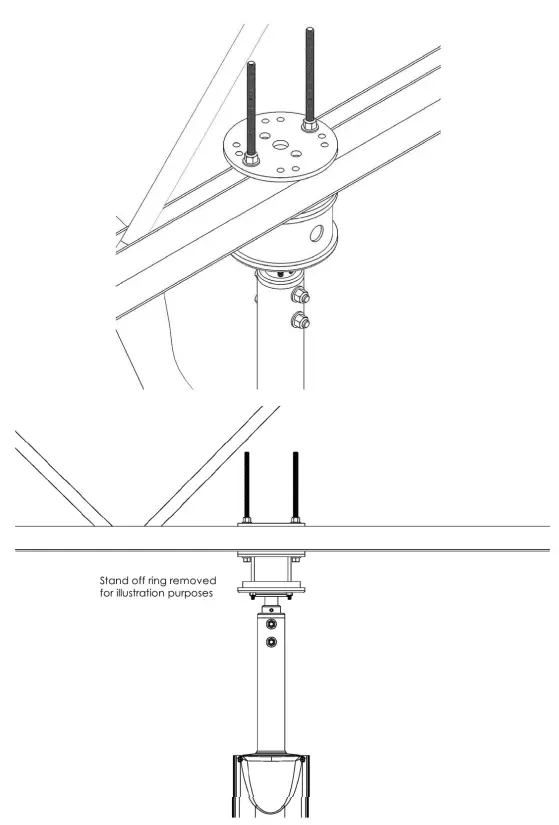
Wood Truss Mount

- Place round stand-off on top of flange of fan assembly.
- Ensure power wire, communication wire and safety cable are directed through either a hole on side of stand-off ring or up through the centre of the studded mount assembly.
- Lift motor assembly to bottom of the studded mounting assembly at ceiling and position with round stand-off on fan assembly so the four ¼” studs are inserted through the clearance holes in the flange of fan assembly.
- Thread four ¼” nylock nuts on each of the studs to sandwich fan assembly with round stand-off to the bottom mounting plate of studded mount assembly.
- Ensure wires are not compromised and tighten ¼” nylock nuts to secure the motor assembly to the studded mounting assembly.
- Anchor the safety cable, allowing ¾” [19mm] of slack cable, and secure to solid point of the glulam, purlin, OWSJ, wood truss or building structure using supplied cable clamps.
- The power cable must be secured to a solid point of the glu-lam, purlin, OWSJ, wood truss or building structure. The power cable is to be fastened so there is absolutely no slack in line, in order to allow the safety disconnect to function as designed. [see “Electrical Installation” section of manual.
- Install all five blades [see “Blade Installation” section of manual].
- Install Light Kit [see “Light Kit Installation” section of manual].
- Install Hub Cover [see “Hub Cover Installation” section of manual].
Installing the Blades

- Using 3/8” socket fasten blade to hub plate on the bottom of the motor assembly.
- Insert four ¼” x 5/8” serrated flange hex cap screws through all four holes in blade.
- Thread hex cap screw into hub plate until blade is fastened tightly.
- Repeat first 3 steps for each of the remaining blades.
- Turn fan by hand to ensure that there are no obstructions with the blades.
Installing the LED Light Kit
![]() | Caution! to reduce the risk of fire, electric shock, or injury to persons, disconnect the electrical supply circuit to the fan before installing light kit |
The light kit is pre-assembled for visual understanding of assembly, and will need to be disassembled to install.

- Remove light kit from box
- Using a Phillips screwdriver, remove the four – #6 x 3/8 screws and the two electrical box clips to free the LED panel light from the electrical box. Inside, there will be three #8 x 3/8 pan head machine screws.
- Direct the LED power wire on the bottom of the motor assembly through the electrical box. Mount the electrical box to the bottom of the motor assembly using the three #8 x 3/8 pan head machine screws ensuring wiring is not compromised.
- Plug the LED panel light into the power wire.
- Install the four – #6 x 3/8 screws and the two electrical box clips to secure the LED panel light to the electrical box in the same manner it was packaged.
nstalling the Hub Cover [with Lens]

- Take hub cover [with optional lens if applicable], and place over the center hub and blade profiles. Align the hole pattern up with clearance holes on each of the five blades.
- Fasten hub cover with insert to fan assembly by threading five #8-32 X 1 3/8” long machine screws through the clearance hole into each blade and tighten to secure.
- Turn fan by hand to ensure that there are no obstructions with the hub cover.
Electrical Installation
Wiring the Fan
A means of disconnect must be incorporated in the fixed wiring in accordance with electrical codes and standards.
DO NOT LIFT, CARRY, OR HANG FAN BY POWER CABLE. This could possibly cause the safety disconnect system to disconnect power to the fan.
If the supply cord is damaged, it must be replaced by the manufacturer, its service agent or similarly qualified persons in order to avoid a hazard.
For compliance with EMC standards the LF/SP Assembly must be installed as directed in the installation manual. The EMC requirements apply to the final installation in its entirety, not to the individual components used. As every installation is different, the recommended installation should follow these guidelines as a minimum.
Note: The use of the LF/SP Assembly is mandatory and will apply to Fan [CE]. However, for Fan [UL/ CSA] the LF/SP Assembly is additional optional equipment and is available upon request.
Power Wiring – 120/240 VAC 1 Phase Input
- Ensure all local electrical codes are met.
- The motor is to be field-wired to a separate dedicated branch circuit.
- The power cable must be secured to a solid point of the glu-lam, purlin, OWSJ, wood truss or building structure. The power cable is to be fastened so there is absolutely no slack in line, in order to allow the safety disconnect to function as designed.

- The location of the input power [line] is labelled on the enclosure and should be drilled to accommodate the appropriate gauge of wire required in accordance with the electrical codes and standards.
- The input power [line] will be wired into the LF/SP assembly as shown in the following illustration.
- The outgoing power [load] that is coming out of the LF/SP Assembly and going to the fan must also be wired as shown in the following illustration.
Input: 120/240V 2.9/1.45A 1 PH 50/60Hz LED: 25W

HMI Control
HMI/CAT 5 Cable Connection
75ft of Cat 5 cable is supplied to connect the HMI to the fan. This is a simple “plug and play” application once the cable is ran. Level and install HMI within reach of the 75ft CAT 5 cable using supplied fasteners. It is recommended the fan remain in line of site of the HMI.
HMI Control

The bottom left button toggles ‘Light’ to ‘Fan’ depending on what functionality you are looking to set or adjust. When the screen says ‘Fan’, the remaining buttons on the keypad are controlling just the fan. When the screen says ‘Light’, the remaining buttons on the keypad are controlling just the light.
The center button is the on/off control. This button controls both the fan & light, however; they are controlled separately depending on which functionality the interface is showing.
The top left button only works when the interface is controlling the ‘Fan’. This button is for forward and reverse functionality of the fan as indicated by the left and right arrows.
The up and down buttons on the right of the control adjust the speed of the fan or the brightness of the light depending on which functionality the interface is showing. The value is displayed 0%-100% and is adjusted in increments if 5%. 100% displayed for the fan is equivalent to full speed and 100% displayed for the light is full brightness. The control will remember the last speed & light values and will automatically resume those settings once the fan is turned back on.
Note: The Fan System is designed to monitor motor and controller temperatures and in the event that operating temperatures exceed control limits, fan speed will reduce until the system is within temperature limits. No user intervention is needed.
Maintenance
![]() | Warning! Risk of shock! Only qualified personnel to remove drive cover! There is no adjustments or replacement parts for the use! |
Terminals:
Power Terminal: 3A, 300V, 10-30 AWG Torque = 0.5-0.6 Nm [0.37-0.44 ft-lb]
I/O Terminal: 17.5A, 300V, 12-30 AWG Torque = 0.6-0.8 Nm [0.44-0.59 ft-lb]
Power Cord:
Minimum 16AWG 3 Conductors rated 300VAC, use Copper Conductors only. For permanent connection only.
![]() | Warning! Risk of shock! If unusual oscillating movement is observed, immediately stop using the ceiling fan and contact the manufacturer, its service agent or suitably qualified persons. |
Recommended Maintenance Schedule
- No maintenance shall be done on the fan, mount or guy wires while it is in operation or powered.
- No maintenance shall be done on the fan controller while powered unless the task involves reprogramming or troubleshooting the electrical system.
- No maintenance shall be done within a 6m [20ft] horizontal radius of the fan and 1.2m [4ft] below and none above the blade level while it is in operation.
- While doing maintenance on the fan, mount, or guy wires, a safety barrier shall be erected at a radius of 6m of the center of the fan.
- The fan controller shall be locked out while maintenance is ongoing on the fan, mount, or guy wires.
- All personnel working on the fan, mount, or guy wires, shall wear the appropriate personal safety equipment as mandated by local, provincial, and national regulations.
- A risk assessment shall be performed before any maintenance is done on the fan, mount, guy wires and fan controller.
- A tailboard meeting shall be performed before any work is done. A checklist shall be completed and shall include any emergency contacts for the area.
Maintenance Schedule
Initial Six Months
- Check for hot spots
- Re-tighten all loose electrical connections
- Check all nuts/bolts/clamps [missing/loose/damaged]
- Physical check of safety cable, re-tightening of clamps if required
Repeat Every Eighteen Months Thereafter
![]() | schwankgroup.com/monsterfans |
Toll Free: 1-877-446-3727
1-706-554-6191
[email protected]
USA
2 Schwank Way,
Waynesboro, GA
30830
Canada
5285 Bradco Blvd.,
Mississauga, ON
L4W 2A6






















