zelmer ZSVC412 Cordless Vacuum Cleaner

Product Information
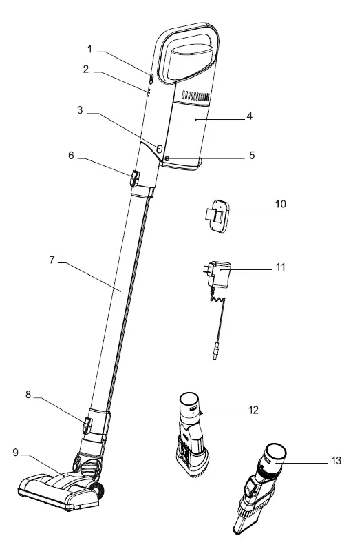
The ZSVC412 is a cordless vacuum cleaner that comes with a detachable supply unit for recharging the battery. It has an on/off button, battery indicator, release button of dust cup, dust cup, release button of dust tank, tube release button, extension tube, brush release button, brush, wall mounted holder, adaptor, sofa brush, and 2in1 brush. This appliance can be used by children aged 8 years and above and persons with reduced physical, sensory or mental capabilities or lack of experience and knowledge if they have been given supervision or instruction concerning use of the appliance in a safe way and understand the hazards involved.
Product Usage Instructions
- Before using the product, read the instructions for use carefully and store them in a safe place for future reference.
- For recharging the battery, only use the detachable supply unit provided with this appliance.
- Plug must be removed from the socket outlet before cleaning or maintaining the appliance.
- Due to the plastic housing of the vacuum cleaner, keep the appliance away from all heat sources (radiators, stoves, etc.).
- Children shall not play with the appliance. Cleaning and user maintenance shall not be made by children without supervision.
- Turn off the vacuum cleaner before replacing the equipment.
- This appliance is intended for use at a maximum altitude of 2000m above sea level.
- If the cable is damaged, the adaptor will be discarded.
Cleaning Instructions
- Do not block the vacuum cleaner inlet and outlet openings!
- Follow the charging the product instructions in order to charge it.
Disposal Instructions
This appliance is marked in accordance with European Directive 2012/19/EU and Polish Act of September 11, 2015, “on Waste Electrical and Electronic Equipment” (Journal of Laws of 23.10.2015, item 11688) with the crossed-out wheeled bin symbol. Such labeling indicates that this equipment, after the end of its use, cannot be placed together with other waste from households.
WE WOULD LIKE TO THANK YOU FOR CHOOSING ZELMER. WE WISH THE PRODUCT PERFORMS TO YOUR SATISFACTION AND PLEASURE
WARNING
PLEASE READ THE INSTRUCTIONS FOR USE CAREFULLY PRIOR TO USING THE PRODUCT. STORE THESE IN A SAFE PLACE FOR FUTURE REFERENCE
DESCRIPTION

- On/off button
- Battery indicator
- Release button of dust cup
- Dust cup
- Release button of dust tank
- Tube release button
- Extension tube
- Brush release button
- Brush
- Wall mounted
- Adaptor
- Sofa brush
- 2in1 brush
SAFETY INSTRUCTIONS
This appliance can be used by children aged from 8 years and above and persons with reduced physical, sensory or mental capabilities or lack of experience and knowledge if they have been given supervision or instruction concerning use of the appliance in a safe way and understand the hazards involved. Children shall not play with the appliance. Cleaning and user maintenance shall not be made by children without supervision. The adaptor cable cannot be replaced. If the cable is damaged, the adaptor will be discarded.
WARNING: For the purpose of recharging the battery, only use the detachable supply unit provided with this appliance. This appliance contains batteries that are not replaceable. The plug must be removed from the socket outlet before cleaning or maintaining the appliance. Follow the charging the product instructions in order to charge it. Due to the plastic housing of the vacuum cleaner, keep the appliance away from all heat sources (radiators, stoves, etc.). Do not block the vacuum cleaner inlet and outlet openings! Turn off the vacuum cleaner before replacing the equipment. This appliance is intended for use at a maximum altitude of 2000m above sea level.
IMPORTANT WARNINGS
Prior to plugging in the product, check that your mains voltage is the same as the one indicated on the product label. The mains connection cable must not be tangled or wrapped around the product during use. Do not pull on the connection cord in order to unplug it. Do not use, connect or disconnect the device to the mains with your hands or feet wet. Proceed according to the conservation and cleaning section of this manual for cleaning. Unplug the product immediately from the mains in the event of any breakdown or damage and contact an authorised Technical support service. In order to prevent any risk of danger, do not open the device. Only qualified technical personnel from the brand´s Official Technical support service may carry out repairs or procedures on the device. Any incorrect use or improper handling of the product shall render the warranty null and void. Only an authorised technical support service centre may carry out repairs on this product. This appliance is designed exclusively for domestic use, in no case should be commercial or industrial use. In case of misuse or tampering with the product, it will be out of warranty. Do not use the appliance to vacuum liquids (water, etc), sharp objects (pins, pins, nails, glass, etc), or incandescent objects (matches, cigarettes). Never use the turbobrush to: Polish floors, suck (Liquids, wet or damp dust, hot ash, burning objects, such as cigarettes, matches, sharp and hard items, such us: razors, pins, thumbtacks, pieces of glass, etc), flour, cement, plaster, printer or photocopier toner, etc.
B&B TRENDS SL. disclaims all liability for damages that may occur to people, animals or objects, for the non-observance of these warnings..
ASSEMBLY
- Connect the Extension wand to Floor brush. You’ll hear a “Click” when they’re connected (Rys.1).
- Connect the Hand Vacuum Assembly to the Extension Wand. You’ll hear a “Click” when they’re connected (Rys.2).


- On/off button (Rys.3)

- Press the on/off button for more than 3 seconds, the machine power on and works in low speed, the indicator lights up;P
- Press the on/off button again to switch to high speed work;
- Press the on/off button again and the machine stops working (this cycle).
- Charging (Rys.4; *- indicator light; **-connector)

- When the indicator light flashes blue, it indicates that the battery is low and needs to be charged.
- When charging, connect the adaptor to the power supply and the machine. The blue light on the machine is on, indicating that it is charging. When the blue light is on, it means the battery is full.
CLEAN THE FILTER SYSTEM
- Take the machine to the top of the garbage container and press the button to open the dust cup lid will open automatically and the garbage in the dust cup can be poured out as followed (Rys.5; *-button)

- If the cotton silk with large lump in the dust cup cannot be poured out, take off the dust cup and take out the filtration system in the dust cup, and then pour out the garbage in the dust cup, as shown at Rys. 6 (*-press the button to take down the dust cup; **-pull out the filter system by holding your fingers in both places indicated by the arrow)

- The dust cup and filtration system can be cleaned with water as followed picture.
( Note: Except for the Paper Filter which should not be washed in water (Rys.7) - After cleaning, be sure to dry the dust cup and filter cover system before loading into the machine.
- Install the filter hype in the direction shown (Rys.8)

- Install the filter system into the dust cup, and then install the dust cup on the host machine as shown below (note the slot position) (Rys.9;*-the upper hand of the filter is placed in the dust cup against the gap;

- the rib protruding here on the main machine is put into a groove in the dust cup).
- Use the included 3M Mount to help store your vacuum neatly. Make sure that the vacuum is not suspended in the air and that supported by the ground (Rys.10).
MAINTENANCE AND REPAIR
Attention
- When cleaning the machine, please turn off the power and pull out the plug;
- Do not expose the machine to a damp environment, and do not put any accessories into the dishwasher for cleaning;
- The shell of the vacuum cleaner, and dust bucket can be cleaned with a wet towel, but make sure liquids do not enter the machine itself
- Do not use strong detergent (such as detergent, thinner) to clean the machine, to prevent corrosion of the machine surface;
- Make sure all frames and accessories are dry before connecting to the power or before using.
POSSIBLE PROBLEM AND SOLUTION
| PROBLEM | POSSIBLE CAUSE | SOLUTION |
| VACUUM WON’T PICK UP DIRT | 1.Filters are dirty 2.Batteries is low | 1. Remove and rinse filter. Allow enough time for them to dry properly before reinserting 2. Recharge the batteries |
| VACUUM WON’T CHARGE | 1. Wrong charger is being used 2. Charger is not plugged into the machine properly. | 1. Use only the charger that comes with the machine 2. Remove the charger and reinstall into the hand vacuum |
PRODUCT DISPOSAL
This product complies with European Directive 2012/19/EU on electrical and electronic devices, known as WEEE (Waste Electrical and Electronic Equipment), provides the legal framework applicable in the European Union for the disposal and reuse of waste electronic and electrical devices. Do not dispose of this product in the bin, instead going to the electrical and electronic waste collection centre closest to your home.
The product may contain batteries. Remove them before disposing of the product and dispose in special containers approved for this purpose


























