Cordless Vacuum Cleaner c120SE
User Manual
Important Safety Instructions
- Note: Please read the instructions carefully before use. Don’t use it outdoors on rainy days.
- Warning: Safety precautions are essential when using any household appliances, including but not limited to fire disasters, short circuits, and personal injury prevention.
Personal Safety
- Please store the machine in a dry area indoors and away from children.
- Children over 10 years old and people with physical or mental disabilities must use it under supervision.
- Please do not allow children under 10 years old to touch the machine, and keep away from children under 10 years old when using and maintaining the machine.
- Please use the attachment recommended in the package. Wrong use or other mismatched attachments may cause personal injury or harm.
- Pay extra attention when cleaning the stairs.
- Keep the machine away from hot surfaces.
- Please be sure to keep the air inlet unobstructed, away from fluff, cloth, and other things easily blocking the machine.
Electrical Safety
- Please use the battery and charger provided in the package.
- Please do not change the charger in any way.
- Please ensure that the input voltage is consistent with the marked voltage on the charger.
- The charger and battery are compatible with each other. If the charger of other specifications is used, it may cause fire risk.
- Please check the power cord of the charger for signs of damage and aging before use. Damaged or tangled electrical appliances will increase risk of fire and short circuit.
- Please treat the charger power cord correctly.
- Do not pick up the charger through the charger line.
- Please do not pull the charger by pulling the charger line. You should hold the charger by hand for plugging and unplugging.
- Do not store the charger by winding the charger cable on the charger.
- The charger line must be away from hot surfaces or sharp objects.
- The charger line cannot be replaced by yourself. If the charger line is damaged, please contact the after-sales service for replacement.
- Do not touch the charger or the whole machine with wet hands.
- Do not store or charge the machine outdoors.
- When loading and unloading the battery or cleaning and maintaining the machine, be sure to remove the charger from the charging plug.
Battery Safety
- This product uses a lithium battery, do not burn it or expose it to a high-temperature environment.
- Please use the original battery, replacing it with the wrong battery may cause danger.
- Do not remove or collide the battery to avoid leakage of liquid in the battery.
- In extreme cases, the battery may leak. Do not touch any liquid leaking from the battery. If liquid gets on your skin, wash it immediately with soap and water. If liquid enters the eye, flush immediately with water for at least 10 minutes and seek medical attention. Handle the battery with gloves and dispose of it immediately according to local regulations.
- Short-circuit battery terminals may cause burns or fire.
- When the battery pack is not in use, stay away from paper clips, coins, keys, nails, screws or other connecting end or small metal objects.
- When you handle the appliance, please take out the battery and handle the battery safely according to local regulations.
Services
- Before and after use of the appliance, check whether there are signs of wear, damage and repair as necessary.
- Do not use the appliance if it is damaged or defective.
- The maintenance work shall be carried out by the service organization or personnel meeting the relevant safety regulations. Repairs by unqualified people can be dangerous.
- Do not modify the appliance in any way to avoid increasing the risk of personal injury.
- Use only replacement parts or accessories provided or recommended by the manufacturer.
Usage Tips
- This equipment is only suitable for household vacuum drying cleaning.
- Do not pick up liquids or use them on wet surfaces.
- Do not smoke inflammable, burning or smoking articles.
- Use only according to the instructions in this manual.
- Do not use on concrete, asphalt or another rough surface.
Warning
- Do not clean the outside of the appliance with water, solvent or polishing agent. Wipe clean with a dry cloth.
- Do not immerse the machine in water or wash it in the dishwasher.
Introduction to product Components

Method of Use
Use With a Push Rod
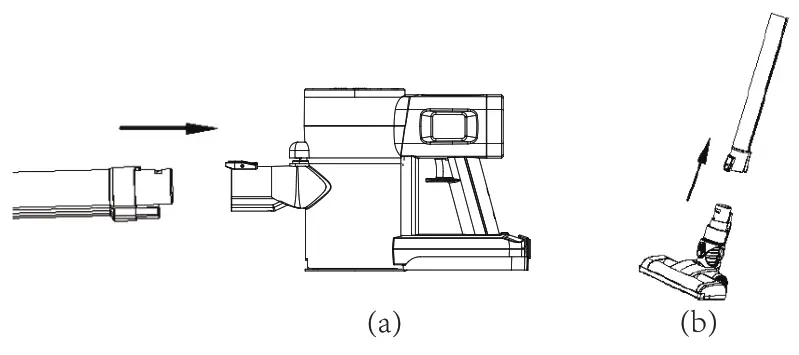
a) Insert the electric catheter into the suction socket until the snap of the lock is heard “pa”.
b) Insert the floor brush into the other end of the catheter until the snap of the lock is heard “pa”.
c) Press the switch to start work.
2 Levels of speed change control
A. Low speed – One press of the switch is low-speed
B. high-speed – Press the speed switch to change to high speed. 
Use Hand Held
Insert the attachment directly into the suction socket until the snap of the lock is heard Pa
Install the accessories on the host as shown in the figure below.
Charging
When the battery level indicator flashes, turn off the appliance, then put it back on the charging base and charge it as shown.
Flashing
When the power indicator is all on and no longer flashing, it means the power is full.
How to Clean up Garbage
Press the latch and remove the pipe. Open the dust cup. Pour out the dust.
How to Maintain
- Open the dust cup, as shown below.

- Rotate counterclockwise and remove the cyclone filter.

- Filter cotton and filter hood can be washed with water.

- After drying the cyclone filter, install it clockwise back into the dust cup. And Cover the bottom of dust cup.

Troubleshooting Measures
The effect of dust absorption is not ideal:
- Empty the dust cup.
- Check whether the dust cup is correctly assembled.
- Check whether the filter and screen are properly placed.
- Clean the filtration system.
Stop working:
- Charge your battery.
- Clear the floor brush blockage.
The battery won’t charge
- Please check whether the charging head is connected properly.
- Please check the socket.
Product Parameters
| The Battery | 22.2V/2200mAh |
| Charging Time | 4 Hours |
| Adapter Output | 271M:1.45A |
| Working Time | 30min (low speed) 20min (high speed) |
| Power | 120W |
| Suction Power | 9000 Pa |
| The Adapter | VDE/1.8M |






















