
52” BASICSPRO PREMIER
330016SNBS 52 Inch Basics Pro Premier Fan Satin Bronze
Instruction Manual
Product images may vary slightly from actual product.
INSTRUCTION MANUAL
ETL Model # 330016
REV 13-Sep-2021
Net Weight: 8.55kgs (18.84 Ibs)
Gross weight: 9.43 kgs (20.79 Ibs)
SAFETY RULES
READ AND SAVE THESE INSTRUCTIONS
WARNING: FOR CANADA, THIS FAN MUST BE SECURED DIRECTLY TO THE BUILDING STRUCTURE / CEILING JOIST. DON’T SECURE THIS FAN TO AN OUTLET BOX.
- CAUTION – RISK OF SHOCK
-Disconnect Power at the main circuit breaker panel or main fusebox before starting and during the installation. - WARNING: This fixture is intended for installation in accordance with the National Electrical Code (NEC) and all local code specifications. If you are not familiar with code requirements, installation by a certified electrician is recommended.
- WARNING: To reduce the risk of fire, electric shock, or personal Injury mount to an outlet box marked “Acceptable For Fan Support of up to 15.9 kg (35 lbs)”. For outlet box mounting, use mounting screws (and lock washers) provided with the outlet box. Most outlet boxes commonly used for the support of light fixtures are not acceptable for fan support and may need to be replaced. Due to the complexity of the installation of this fan, a qualified licensed electrician is strongly recommended.
- All wiring must be in accordance with the National Electrical Code ANSI/ NFPA 70 and local electrical codes. Electrical installation should be performed by a qualified licensed electrician.
- The outlet box and support structure must be securely mounted and capable of reliably supporting a minimum of 35 pounds. Use only cULus Listed outlet boxes marked “FOR FAN SUPPORT”.
WARNING: TO REDUCE THE RISK OF FIRE, ELECTRIC SHOCK OR PERSONAL INJURY, MOUNT FAN TO OUTLET BOX MARKED “ACCEPTABLE FOR FAN SUPPORT”. - CAUTION: The fan must be mounted with a minimum of 2.1 m (7 feet) clearance from the trailing edge of the blades to the floor.
- WARNING: Do not operate reversing switch while fan blades are in motion. Fan must be turned off and blades stopped before reversing blade direction.
- Avoid placing objects in the path of the blades.
- To avoid personal injury or damage to the fan and other items, be cautious when working around or cleaning the fan.
- WARNING: Make sure the power is disconnected before cleaning the fan.
- Do not use water or detergents when cleaning the fan or fan blades. A dry dust cloth or lightly dampened cloth will be suitable for most cleaning.
- After marking electrical connections, spliced conductors should be turned upward and pushed carefully up into outlet box. The wires should be spread apart with the grounded conductor and the equipment-grounding conductor on one side of the outlet box.
- Electrical diagrams are reference only. Light Kits that are not packed with the fan must be cULus Listed and marked suitable for use with the model fan you are installing. Switches must be cULus General Use Switches. Refer to the Instructions packaged with the light kits and switches for proper assembly.
- All set screws must be checked, and retightened where necessary, before installation.
WARNING: TO REDUCE THE RISK OF PERSONAL INJURY, DO NOT BEND THE BLADE BRACKETS (ALSO REFERRED TO AS FLANGES) DURING ASSEMBLY OR AFTER INSTALLATION. DO NOT INSERT OBJECTS IN THE PATH OF BLADES.
WARNING: TO REDUCE THE RISK OF FIRE OR ELECTRIC SHOCK, DO NOT USE THIS FAN WITH ANY SOLID-STATE SPEED CONTROL DEVICE.
TOOLS AND MATERIALS REQUIRED
Phillips screwdriver
Blade screwdriver
11mm wrench
Step ladder
Wire cutters 
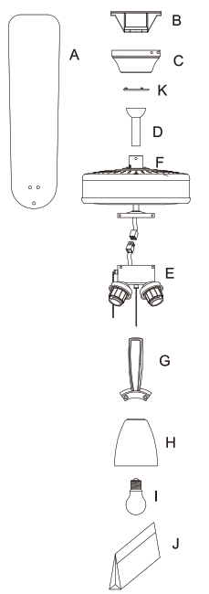
PACKAGE CONTENTS

| Unpack your fan and check the contents A. Fan blades (5) B. Ceiling mounting bracket C. Canopy D . Ball/downrod assembly E. Light kit F. Fan motor assembly G. Set of 5 blade brackets and Pre-installed mounting screws H . Glass shades (4) | . LED bulbs E26 9W (4) | You should have the following items: J. Package hardware 1 ) Safety cable hardware: wood screw (1), flat washer (1) 2 ) Blade attachment hardware: screws (17), washers (17) 3) Blade bracket attachment hardware: screws (2) 4 ) Gasket 5) Pull chains and fobs (2) 6 ) Balance kit 7) Mounting hardware: wood screws(2), flat washers(2), star washers(2), wire nuts(3) screws(2) K. Canopy cover |
MOUNTING OPTIONS
If there isn’t an existing UL (cUL for Canadian Installation) listed mounting box, then read the following instructions. Disconnect the power by removing fuses or turning off circuit breakers.
Secure the outlet box directly to the building structure. Use appropriate fasteners and building materials. The outlet box and its support must be able to fully support the full weight of the fan(up to 15.9kg(35 pounds)).Do not use plastic outlet boxes.
Figures 1, 2 and 3 are examples of different ways to mount the outlet box.
NOTE: If you are installing the ceiling fan on a sloped (vaulted) ceiling, you may need a longer downrod to maintain proper clearance between the tip of the blade and the ceiling. A minimum clearance of 12″ is suggested for optimal operation.
NOTE: Depending on the location you have selected for installation, you may need to purchase and install a “Joist Hanger” for the support of the outlet box. Make sure the joist hanger you purchase has been designed for use with ceiling fans. (Fig. 4 )
HANGING THE FAN
REMEMBER to turn off the power. Follow the steps below to hang your fan properly.
NOTE: This ceiling fan is supplied with two types of hanging assemblies; the standard ceiling installation using the downrod with ball and socket mounting and the “close-to-ceiling” installation. The “close-to-ceiling” installation is recommended in rooms with less than 8 – feet ceilings or in areas where additional space is desired from the floor to the fan blades. 
Standard Ceiling Installation
Step 1. Pass the 120-volt supply wires through the center hole i n the ceiling hanger bracket as shown in Fig. 5.
Step 2 . Secure the hanger bracket t o the ceiling outlet box with the screws and washers provided with your outlet box.
Step 3. Remove the hitch pin, lock pin and set screws from the top of the motor assembly.
Step 4 . Route wires exiting from the top o f the fan motor through the coupling cover, canopy and then through the ball/downrod (Fig. 6)
Step 5. Align the holes at the bottom of the downrod with the holes in the collar on top o f the motor housing (Fig. 6). Carefully insert the hitch pin through the holes in the collar and downrod. Be careful not to jam the pin against the wiring inside the downrod. Insert the locking pin through the hole near the end of the hitch pin until it snaps into its locked position , as noted in the circle inset of Fig. 6. 
Step 6. Tighten two set screws on top o f the fan motor firmly (Fig. 6).
Step 7. Place downrod ball into the hanger bracket socket ( F i g 7).
Rotate the entire assembly until the “Check Tab” has dropped into the “Registration Slot” and seats firmly. (Fig. 7)
The entire motor assembly should not rotate ( left or right) when seated properly .
WARNING: Failure to reattach the cross pin and seat the “Check Tab” can cause the fan to fall from the ceiling during operation. Take special care to make sure this pin is reattached.
Close-To-Ceiling Installation
Step 1. Pass the 1 2 0 – volt supply wires through the center hole in the ceiling hanger bracket as shown in Fig. 5.
Step 2. Remove the decorative canopy cover from the canopy by pushing out (Fig. 8A).
Step 3. Secure the hanger bracket to the ceiling outlet box with the screws and washers provided with your outlet box.
Step 4 . Remove three of the six screws and lock washers (every other one) from the collar of top motor (Fig. 8B)
Step 5. Place the ceiling canopy and the gasket over the collar at the top o f the motor. Align the mounting holes with the holes in the motor and fasten using the screws and
lock washers provided (Fig. 8B). 
Step 6. Tighten the mounting screws securely (Fig. 8B).
WARNING: Failure to completely tighten the three screws in step 5 could result in fan loosening and possibly falling.
Step 7 . Hang the fan on the hook of the hanger bracket. Be certain that the canopy is fully locked into hook as shown in Fig. 9 . This will allow you to make the electrical connections.
INSTALLATION OF SAFETY SUPPORT
(Required for Canadian installation ONLY)
A safety support cable is provided to help prevent the ceiling fan from falling .
Please install it as follows:
Step 1. Attach the provided wood screw and washers to the ceiling joist next to the mounting bracket but do not tighten. (Fig. 10)
Step 2 . Adjust the length of the safety cable to reach the screw and washers by pulling the extra cable through the cable clamp until the overall length is correct.
Put the end of the cable back through the cable clamp, forming a loop at the end of the cable. Tighten the cable clamp securely. Put the loop in the end of the safety cable over the wood screw and under the washer. Tighten the wood screw securely.
NOTE: Although the safety support cable is required for Canadian installations only, it’s a good idea to make the attachment with any installation. 
ELECTRIC CONNECTIONS
WARNING: To avoid possible electrical shock, be sure you have turned off the power at the main circuit panel.
Follow the steps below to connect the fan to your household wiring. Use the wire connecting nuts supplied with your fan . Secure the connector with electrical tape. Make sure there are no loose wire stands or connections.
Step 1. Connect the fan supply (black) wire and light supply (blue) wire to the black household supply wire as shown in Figure 11.
Step 2 . Connect the neutral fan (white) wire to the neutral household (white) wire.
Step 3. Connect the fan ground wire (green) to the household ground wire.
Step 4 . After connecting the wires, spread them apart so that the green and white wires are on one side o f the outlet box and black wires are on the other side.
Step 5. Turn the connecting nuts upward and push the wiring into the outlet box.
FINISHING THE INSTALLATION
Standard Ceiling Installation
Step 1. Tuck all the connections neatly into the ceiling outlet box.
Step 2 . Slide the canopy up to ceiling and attach the canopy to the ceiling mounting bracket using 4 screws at the top edge o f the mounting bracket. Insert each screw through the canopy mounting hole and into the mounting bracket. Tighten all screws securely. (Fig. 12)
Close-To-Ceiling Installation
Step 1. Tuck all the wire connections neatly above the receiver and into the ceiling outlet box.
Step 2 . Remove the fan from the hook on the ceiling mounting bracket. Attach the fan assembly to the ceiling mounting bracket using 4 screws at the top edge of the mounting bracket.
Align the keyhole slots on the canopy with the mounting screw heads on the sides of the mounting brac ket . Lift up and turn the fan assembly until the heads of the mounting screws are in the narrow end of the keyhole slots.
Step 3. Make sure all four mounting screws are tight. (Fig. 13)
ATTACHING THE FAN BLADES
CAUTION: Remove the rubber shipping blocks attached to the face of the motor. These blocks keep the motor from shifting during shipping and MUST be removed during installation.
Step 1. Attach the blade to the blade bracket using the screws and washers as shown in
Figure 14. Start screw into brac ket . Repeat for the two remaining screws.
Step 2 . Make sure the blade is straight and tighten each screw.
Step 3. Fasten blade assembly to motor using “Pre-Installed” mounting screws in the blade bracket. 
INSTALLING THE LIGHT KIT’
NOTE: Before continuing installation, confirm that the power is still turned off at the main circuit breaker or by removing the correct fuse. Turning the power off using a wall switch is not sufficient to prevent electrical shock.
Step 1. While holding the light kit under your ceiling fan, push the square wire connectors together. One from the fan and one from the light kit (Fig. 15 ) .
NOTE: These connectors are color coded and will ONLY engage when the colored strips are matched (aligned).
Step 2 . Carefully push all the wires into the light kit . Attach the light kit to the mounting ring with the screws provided. Make sure each screw is tight (Fig. 15 ) .
ATTACHING THE LIGHT BULBS AND GLASS SHADE
Step 1. Loosen the lampholder from the socket (Fig. 1 6 ) .
Step 2 . Unscrew the socket ring on socket, then mount the glass shades onto socket by tightening socket ring
.Step 3. Install LED bulbs E26 4x9W ( included ) (Fig. 17).

OPERATING INSTRUCTIONS
Turn the power on and check the operation of your ceiling fan. The pull chain controls the fan speed as follows:
Step 1. 3-speed pull chain controls the fan speed as follows: 1 pull = High,
2 pulls = Medium, 3 pulls = Low, and 4 pulls = off.
NOTE: To set the fan blades in reverse, the reverse slide switch is located on the side of the light kit.
WARNING: Do not operate reversing switch while fan blades are in motion.
Fan must be turned off and blades stopped before reversing blade direction.
Warm weather – Forward (counter clockwise) A downward airflow creates a cooling effect as shown in Fig. 18. This allows you to set your air conditioner on a warmer setting without affecting your comfort.
Cool weather – Reverse (clockwise) An upward airflow moves warm air off the ceiling area as shown in Fig. 19. This allows you to set your heating unit on acooler setting without affecting your comfort. 
TROUBLESHOOTING
| Problem | Solution |
| Fan will not start. | 1 .Check circuit fuses or breakers. 2. Check all electrical connections to ensure proper contact. CAUTION: Make sure the main power is OFF when checking any electrical connection. |
| Fan sounds noisy. | 1. Make sure all motor housing screws are snug. 2. Make sure the screws that attach the fan blade brackets to the motor are tight. 3. Make sure wire nut connections are not rubbing against each other or the interior wall o f theswitch housing. CAUTION: Make sure main power is off. 4. Allow a 24-hour “breaking-in” period. Most noise associated with a new fan disappear during this time. 5. If using an optional light kit, make sure the screws securing the glassware are tight.Make sure the light bulbs are not touching any other component. 6. Some fan motors are sensitive to signals from solid-state variable speed controls. If you have installed this typeofcontrol , choose and install another type of control . 7. Make sure the upper canopy is a short distance from the ceiling. It should not touch the ceiling. |
| Fan wobble. | 1. Check that all blade and blade arm screws are secure. 2. Most fan wobbling problems are caused when blade levels are unequal. Check this level by selecting a point on the ceiling above the tip of one of the blades. Measure this distance. Rotate the fan until the next blade is positioned for measurement. Repeat for each blade. The distance deviation should be equal w i thin 1/8”. 3. Use the enclosed Blade Balancing Kit if the blade wobble is still noticeable. 4. If the blade wobble is still noticeable, interchanging two adjacent (side by side) blades can redistribute the weight and possibly result i n smoother operation. |
WARNING: TO REDUCE THE RISK OF PERSONAL INJURY AND TO ENSURE THE PROPER OPERATION OF YOUR CEILING FAN, NEVER ATTACH THE BLADE ASSEMBLIES UNTIL THE CEILING FAN HAS BEEN MOUNTED ON THE CEILING. DO NOT BEND THE BLADE ARMS WHILE INSTALLING, BALANCING OR CLEANING THE FAN. DO NOT INSERT FOREIGN OBJECTS BETWEEN ROTATING FAN BLADES.
FCC INFORMATION
This device complies with part 15 of the FCC Rules. Operation is subject to the following two conditions:
1 ) This device may not cause harmful interference, and
2) This device must accept any interference received, including interference that may cause undesired operation.
Note: This equipment has been tested and found to comply with the limits for a Class B digital device, pursuant to part 15 of the FCC Rules. These limits are designed to provide reasonable protection against harmful interference in a residential installation. This equipment generates, uses and can radiate radio frequency energy and, if not installed and used in accordance with the instructions, may cause harmful interference to radio communications. However, there is no guarantee that interference will not occur in a particular installation. If this equipment does cause harmful interference to radio or television reception, which can be determined by turning the equipment off and on, the user is encouraged to try to correct the interference by one or more o f the following measures:
- Reorient or relocate the receiving antenna.
- Increase the separation between the equipment and receiver.
- Connect the equipment into an outlet on a circuit different from that to which the receiver is connected.
- Consult the dealer or an experienced radio/TV technician for help.

www.kichler.com
KICHLER® LIGHTING
7711 EAST PLEASANT VALLEY ROAD
CLEVELAND, OHIO 44131-8010
CUSTOMER SERVICE 866.558.5706
8:00 AM TO 5:00 PM EST, MONDAY – FRIDAY
KICHLER.COM



















